LEMON Manuals: Even more car manuals for everyone: 1960-2025
Home >> Cadillac >> 2004 >> Escalade EXT >> Repair and Diagnosis >> External Pages >> Different car >> Section 195 (Fuel System) >> Fuel System Flow Diagram
April 5, 2026: LEMON Manuals is launched! Read the announcement.

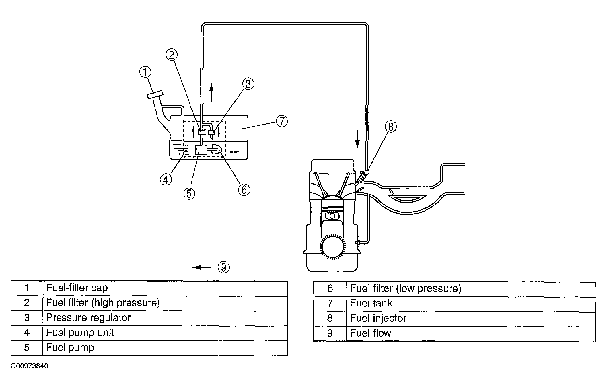
Fuel System Flow Diagram

WARNING: This page is about a different car, the 2004 Mazda 3. However, it is still accessible from the selected car via links, so may be relevant.
Fig 1: Fuel System Flow Diagram
G00973840Courtesy of MAZDA MOTORS CORP.