LEMON Manuals: Even more car manuals for everyone: 1960-2025
Home >> Cadillac >> 2004 >> Escalade EXT >> Repair and Diagnosis >> External Pages >> Different car >> Section 199 (Engine Control System) >> Pcm Removal/Installation
April 5, 2026: LEMON Manuals is launched! Read the announcement.

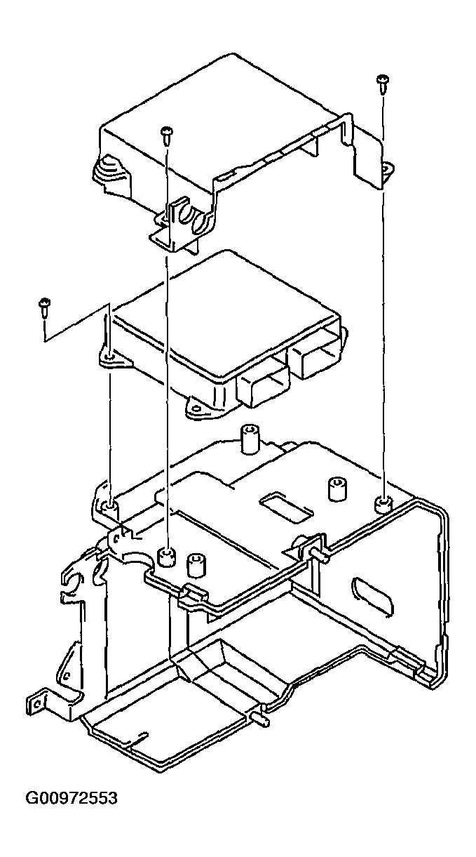
Pcm Removal/Installation

WARNING: This page is about a different car, the 2004 Mazda 3. However, it is still accessible from the selected car via links, so may be relevant.
  1. When replacing the PCM, perform the following:
  2. Remove the battery cover, battery duct, battery and battery tray with PCM.
  3. Disconnect the PCM connector.
  4. Remove the PCM from the battery tray.
  5. When replacing the PCM on the vehicles, perform the following:
  6. Install in the reverse order of removal.
    Fig 1: Removing/Installing PCM
    G00972553Courtesy of MAZDA MOTORS CORP.