LEMON Manuals: Even more car manuals for everyone: 1960-2025
Home >> Cadillac >> 2004 >> Escalade EXT >> Repair and Diagnosis >> External Pages >> Different car >> Section 216 (Lighting System) >> Front Combination Light Removal/Installation
April 5, 2026: LEMON Manuals is launched! Read the announcement.

Front Combination Light Removal/Installation

WARNING: This page is about a different car, the 2004 Mazda 3. However, it is still accessible from the selected car via links, so may be relevant.
WARNING:
  • Incorrect servicing of the discharge headlights could result in electrical shock. Before servicing the discharge headlights, always refer to the discharge headlight service warnings. (See DISCHARGE HEADLIGHT SERVICE WARNINGS .)
  1. Disconnect the negative battery cable.
  2. Remove the front bumper. (See FRONT BUMPER REMOVAL/INSTALLATION .)
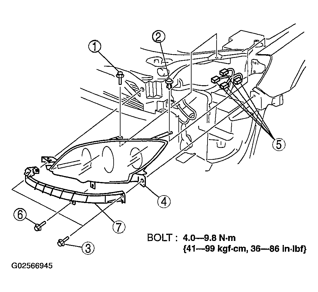
  3. Remove in the order indicated in the table.
    Fig 1: Front Combination Light With Torque Specifications
    G02566945Courtesy of MAZDA MOTORS CORP.
    REMOVAL ORDER OF FRONT COMBINATION LIGHT

    Removal Order Part
    1 Bolt A
    2 Fastener
    3 Bolt B
    4 Front combination light
    5 Connector
    6 Bolt C
    7 Cover
  4. Install in the reverse order of removal.
  5. Adjust the headlight aiming. (See HEADLIGHT AIMING )