LEMON Manuals: Even more car manuals for everyone: 1960-2025
Home >> Cadillac >> 2004 >> Escalade EXT >> Repair and Diagnosis >> External Pages >> Different car >> Section 216 (Lighting System) >> Headlight Leveling Switch Inspection
April 5, 2026: LEMON Manuals is launched! Read the announcement.

Headlight Leveling Switch Inspection

WARNING: This page is about a different car, the 2004 Mazda 3. However, it is still accessible from the selected car via links, so may be relevant.
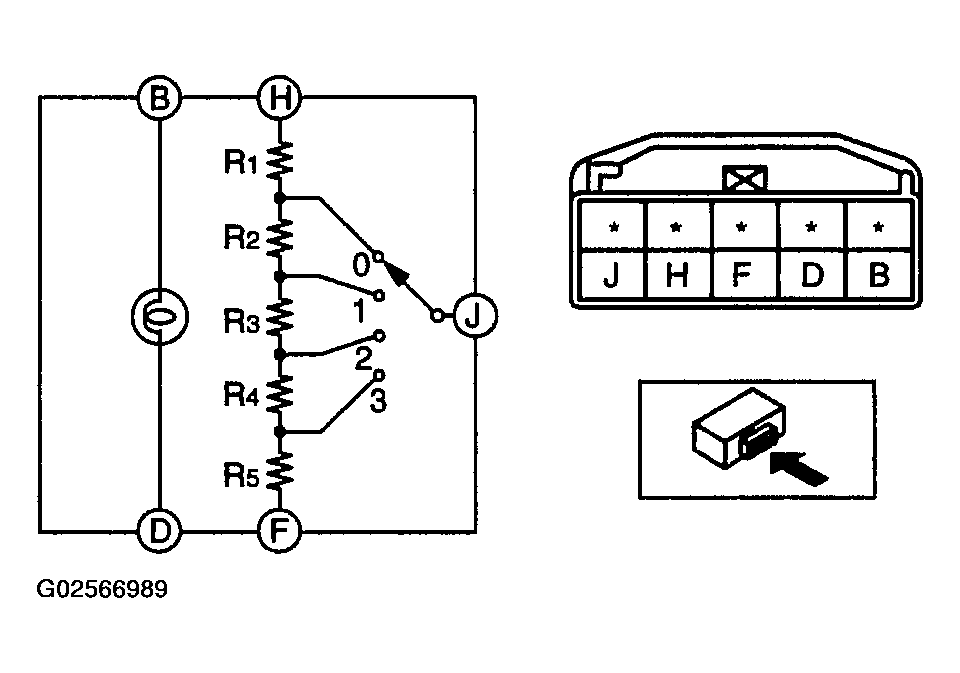
  1. Verify that continuity between the headlight leveling switch terminals is as indicated in the table.
    • If not as indicated in the table, replace the headlight leveling switch.
      Fig 1: Headlight Leveling Switch Continuity Table
      G02566988Courtesy of MAZDA MOTORS CORP.
      Fig 2: Identifying Headlight Leveling Switch Connector Terminals
      G02566989Courtesy of MAZDA MOTORS CORP.