LEMON Manuals: Even more car manuals for everyone: 1960-2025
Home >> Cadillac >> 2004 >> Escalade EXT >> Repair and Diagnosis >> External Pages >> Different car >> Section 413 (Engine Control System - 8.1L (Introduction)) >> Schematic and Routing Diagrams >> Engine Controls Schematics
April 5, 2026: LEMON Manuals is launched! Read the announcement.

Engine Controls Schematics

WARNING: This page is about a different car, the 2004 GMC Yukon XL, 2004 Chevrolet Suburban, and 2004 Chevrolet Avalanche. However, it is still accessible from the selected car via links, so may be relevant.
Fig 1: Module Power, Ground, Serial Data And MIL Schematic
GM1233240Courtesy of GENERAL MOTORS CORP.
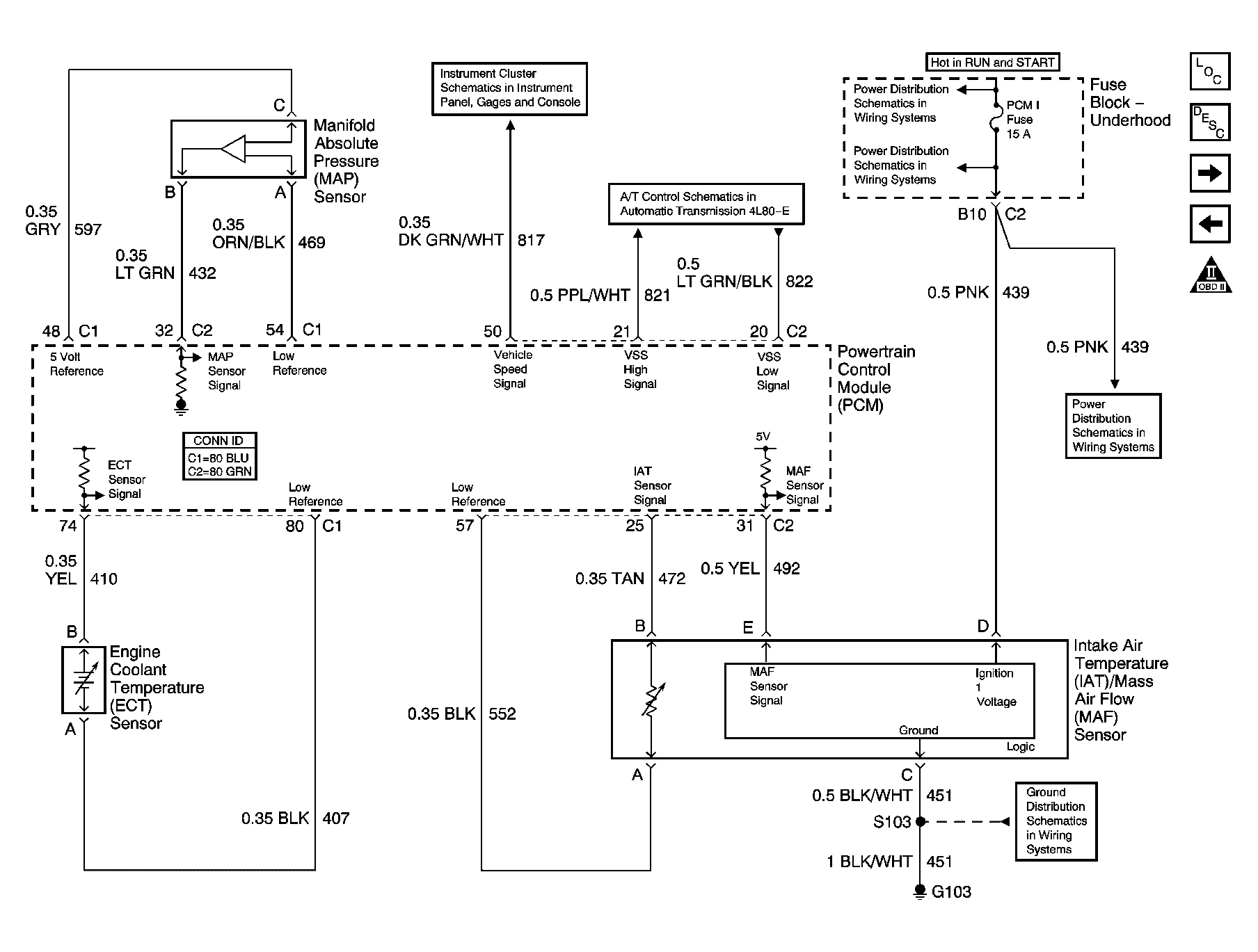
Fig 2: Engine Data Sensors - Pressure, Temperature And VSS Schematic
GM1233241Courtesy of GENERAL MOTORS CORP.
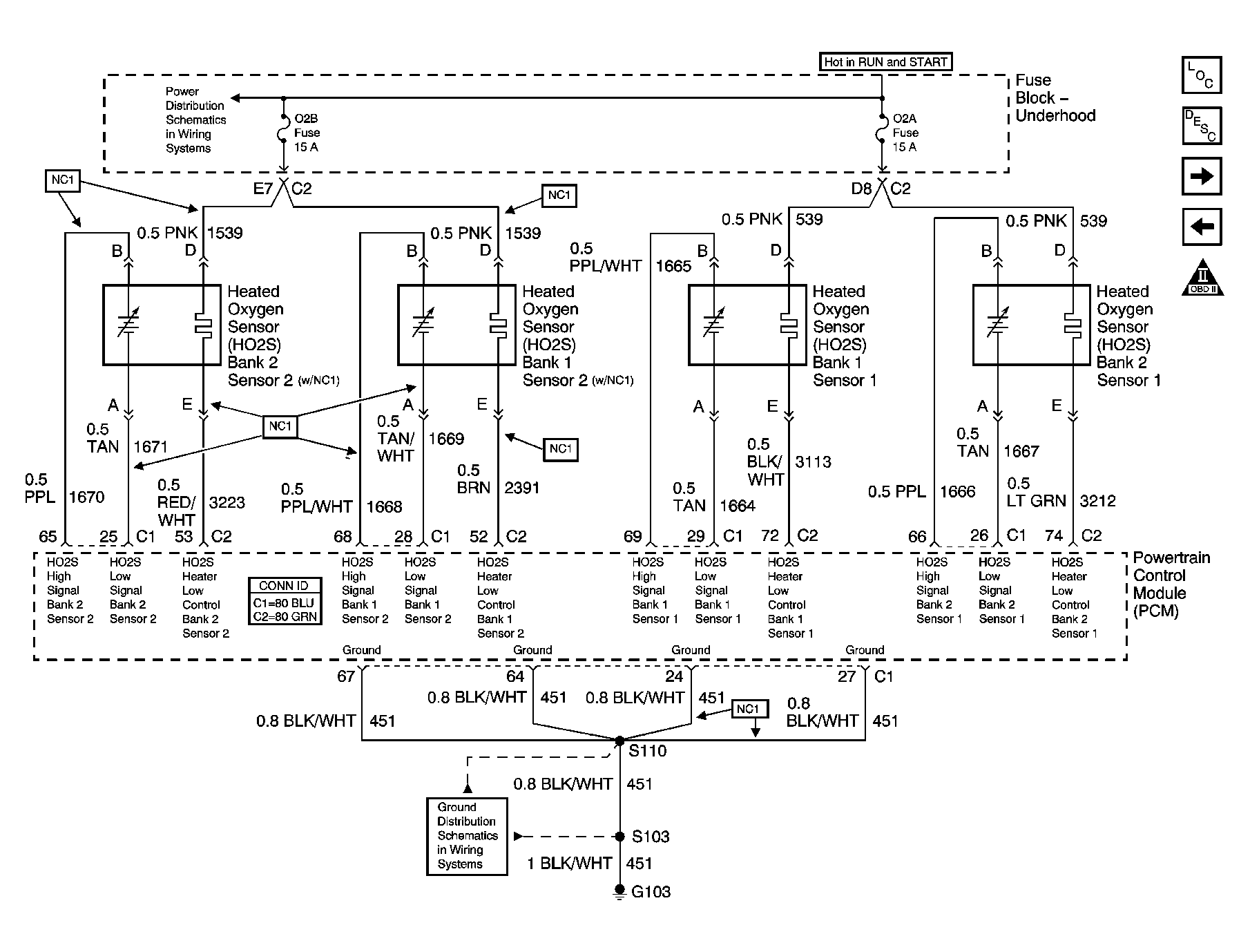
Fig 3: Engine Data Sensors - HO2S Schematic
GM1233243Courtesy of GENERAL MOTORS CORP.
Fig 4: Engine Data Sensors - Electronic Throttle Controls Schematic - 1 Of 2
GM1226793Courtesy of GENERAL MOTORS CORP.
Fig 5: Engine Data Sensors - Electronic Throttle Controls Schematic - 2 Of 2
GM1226798Courtesy of GENERAL MOTORS CORP.
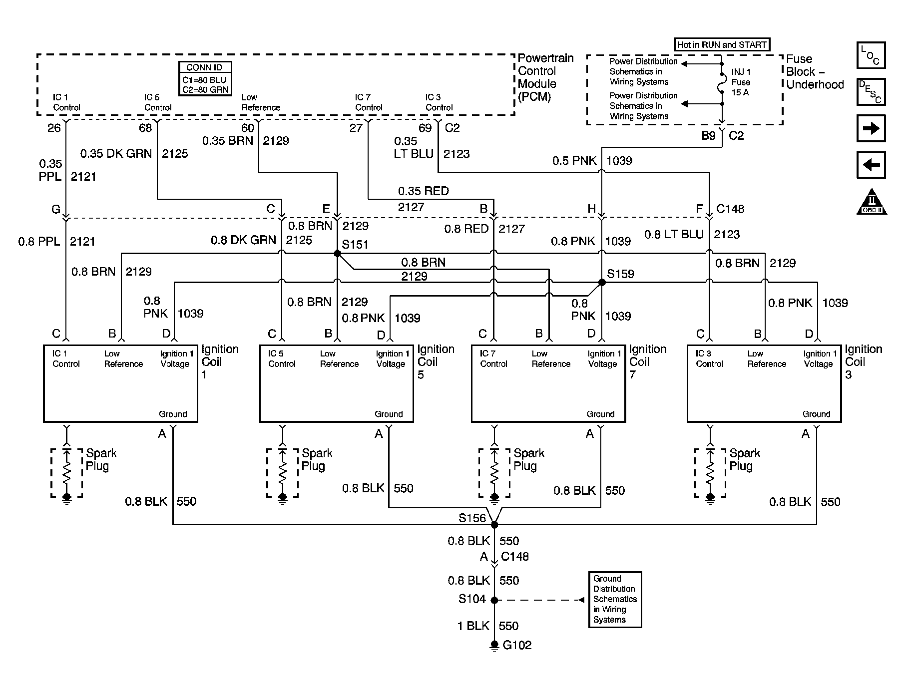
Fig 6: Ignition Controls - Ignition System Coils 1, 3, 5 And 7 Schematic
GM1232931Courtesy of GENERAL MOTORS CORP.
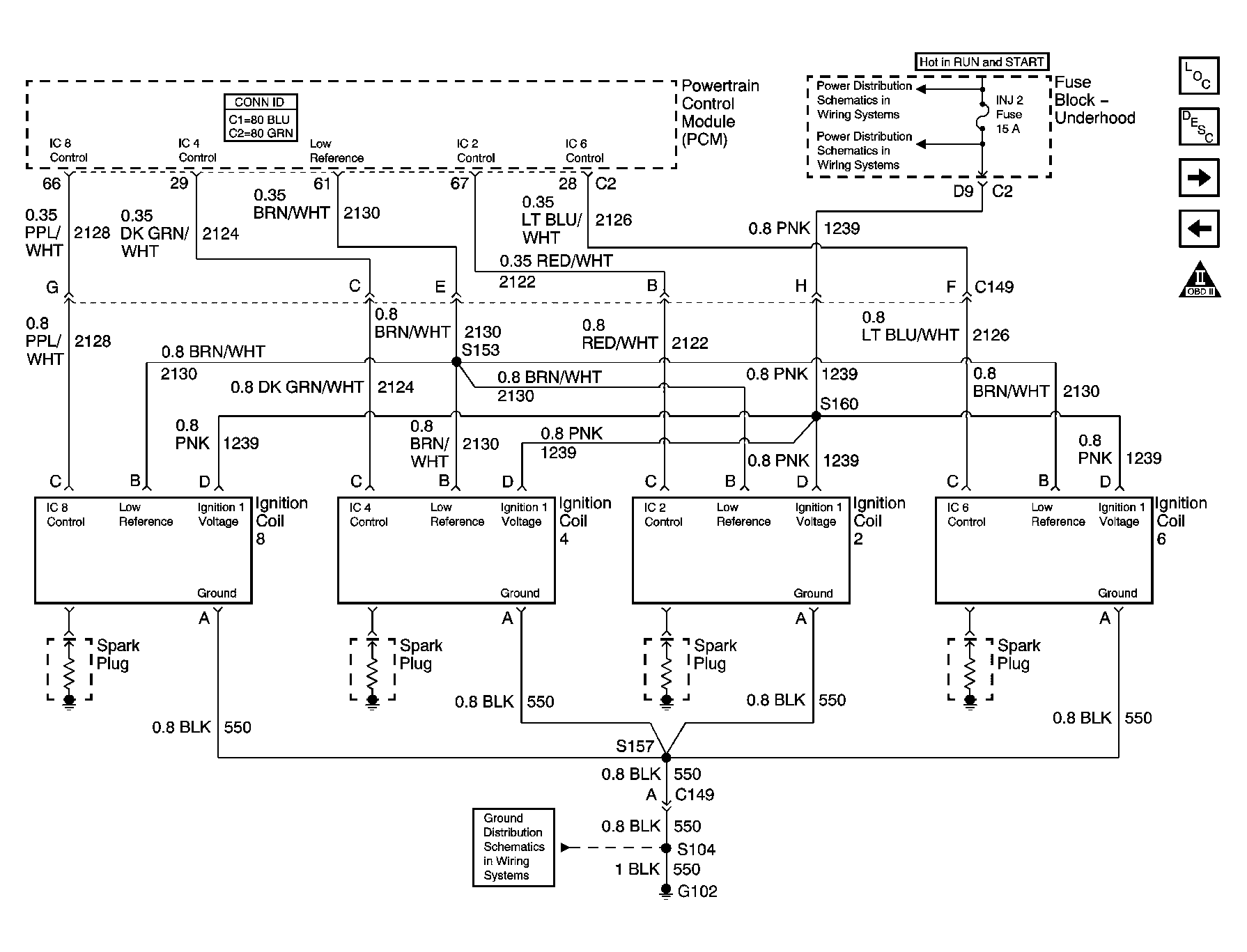
Fig 7: Ignition Controls - Ignition System Coils 2, 4, 6 And 8 Schematic
GM1232933Courtesy of GENERAL MOTORS CORP.
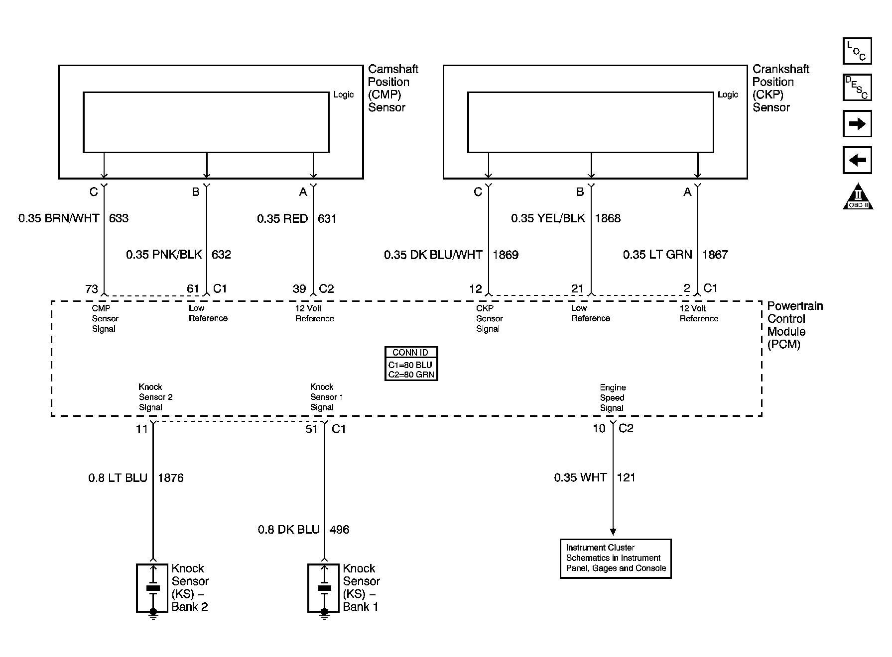
Fig 8: Ignition Controls - Sensors Schematic
GM1232936Courtesy of GENERAL MOTORS CORP.
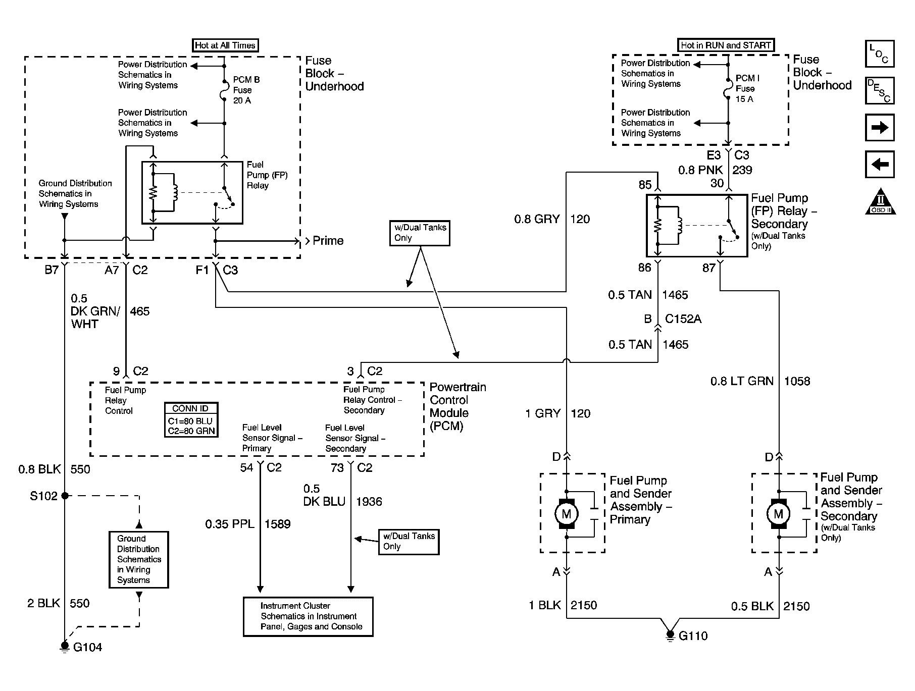
Fig 9: Fuel Controls - Fuel Pump Controls Schematic
GM1233246Courtesy of GENERAL MOTORS CORP.
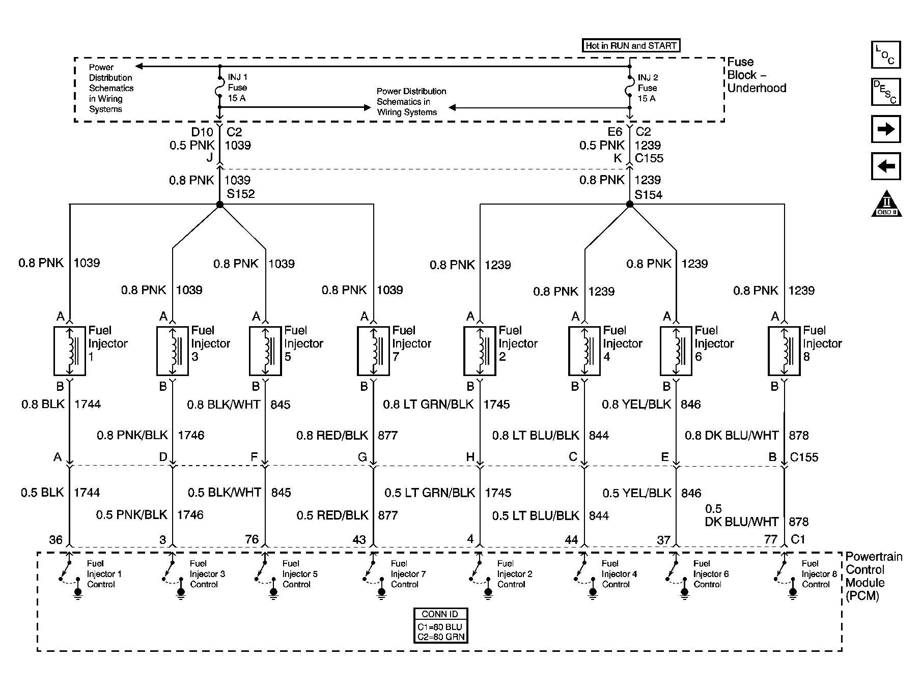
Fig 10: Fuel Controls - Fuel Injectors Schematic
GM1232941Courtesy of GENERAL MOTORS CORP.
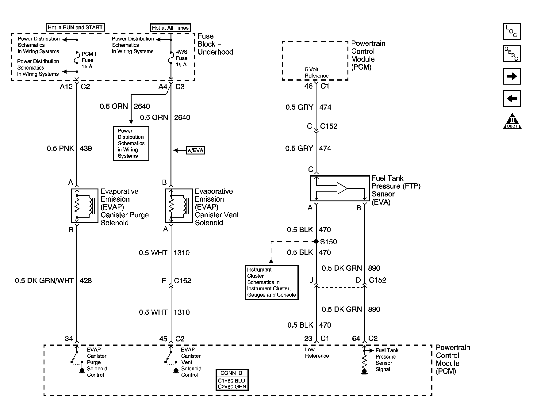
Fig 11: Fuel Controls - EVAP Controls And Fuel Tank Pressure Schematic
GM1232942Courtesy of GENERAL MOTORS CORP.
Fig 12: Controlled/Monitored Subsystem References Schematic
GM1233247Courtesy of GENERAL MOTORS CORP.
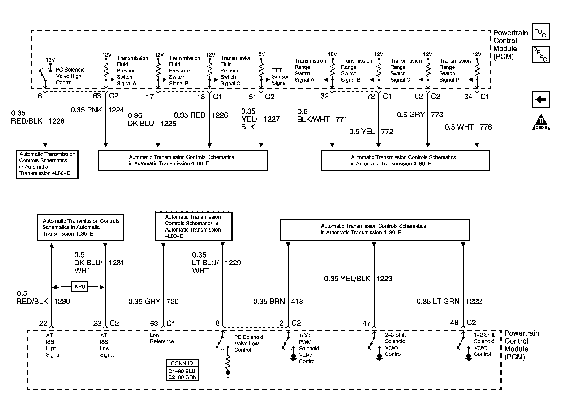
Fig 13: Transmission Controls - A/T Schematic
GM1233249Courtesy of GENERAL MOTORS CORP.