LEMON Manuals: Even more car manuals for everyone: 1960-2025
Home >> Cadillac >> 2004 >> Escalade EXT >> Repair and Diagnosis >> External Pages >> Different car >> Section 448 (Lighting Systems) >> Repair Instructions >> Headlamp Aiming (Visual Method) >> Notes
April 5, 2026: LEMON Manuals is launched! Read the announcement.

Headlamp Aiming (Visual Method): Notes

WARNING: This page is about a different car, the 2003 Chevrolet Corvette. However, it is still accessible from the selected car via links, so may be relevant.

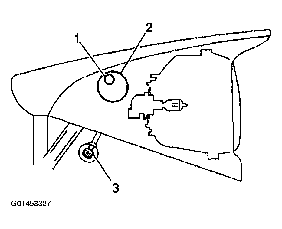
Horizontal and vertical aiming of each of the composite headlamps is done by turning adjusting screws which move the headlamp capsule in relation to the headlamp frame. The horizontal adjustment screw (1) is located on the inboard side of each of the headlamp assemblies, covered by a plug (2) on the headlamp bezel. The vertical adjustment screw (3) is located on the inboard side of each of the headlamp assemblies, below the lower edge of the headlamp bezel.

Some state and local authorities have specific requirements for aiming the headlamps. These requirements must be followed.

Fig 1: Identifying Vertical Adjustment Screw
G01453327Courtesy of GENERAL MOTORS CORP.