LEMON Manuals: Even more car manuals for everyone: 1960-2025
Home >> Cadillac >> 2004 >> Escalade EXT >> Repair and Diagnosis >> External Pages >> Different car >> Section 452 (Body Control System) >> Schematic and Routing Diagrams
April 5, 2026: LEMON Manuals is launched! Read the announcement.

Schematic and Routing Diagrams

WARNING: This page is about a different car, the 2003 Chevrolet Corvette. However, it is still accessible from the selected car via links, so may be relevant.
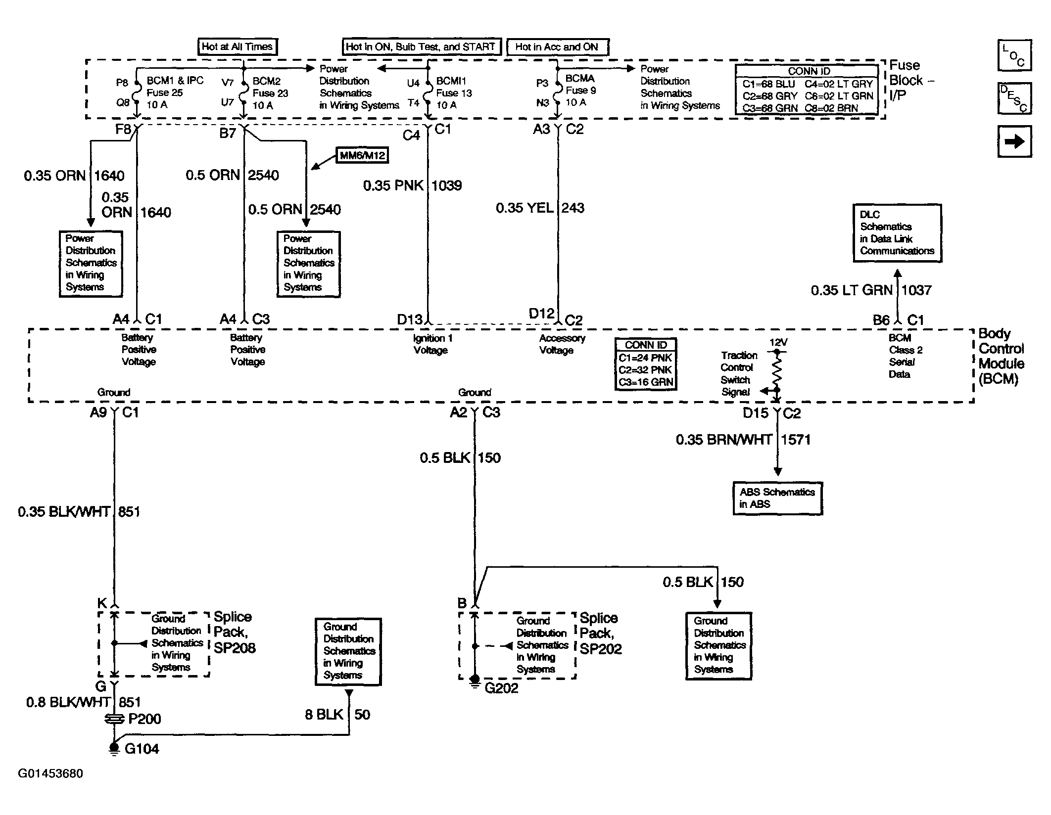
Fig 1: Body Control System Schematics (Power, Ground & DLC)
G01453680Courtesy of GENERAL MOTORS CORP.
Fig 2: Body Control System Schematics (Lighting References)
G01453681Courtesy of GENERAL MOTORS CORP.
Fig 3: Body Control System Schematics (Subsystem References)
G01453682Courtesy of GENERAL MOTORS CORP.