LEMON Manuals: Even more car manuals for everyone: 1960-2025
Home >> Cadillac >> 2004 >> Escalade EXT >> Repair and Diagnosis >> External Pages >> Different car >> Section 469 (Cruise Control System) >> Component Locator >> Cruise Control Connector End Views
April 5, 2026: LEMON Manuals is launched! Read the announcement.

Cruise Control Connector End Views

WARNING: This page is about a different car, the 2004 Chevrolet Corvette. However, it is still accessible from the selected car via links, so may be relevant.
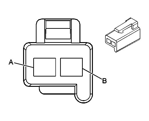
Clutch Pedal Position (CPP) Switch Terminal Identification Connector End View

GM287957Courtesy of GENERAL MOTORS CORP.
Connector Part Information
  • 12041433
  • 2-Way F Metri-Pack 280 Series (BLK)
Pin Wire Color Circuit No. Function
A GRY 48 CPP Switch Signal
B PNK 339 Ignition 1 Voltage
Throttle Actuator Control (TAC) Module Terminal Identification Connector End View - C1

GM570216Courtesy of GENERAL MOTORS CORP.
Connector Part Information
  • 12186688
  • 10-Way F Metri-Pack 150 Series (BLK)
Pin Wire Color Circuit No. Function
A GRY 1273 Low Reference
B PPL 1272 Low Reference
C LT BLU 1162 APP Sensor 2 Signal
D TAN 1274 5 Volt Reference
E YEL/BLK 1275 5 Volt Reference
F DK BLU 1161 APP Sensor 1 Signal
G LT BLU 1276 5 Volt Reference
H - - Not Used
J BRN 1271 Low Reference
K DK GRN 1163 APP Sensor 3 Signal
Throttle Actuator Control (TAC) Module Terminal Identification Connector End View - C2

GM261930Courtesy of GENERAL MOTORS CORP.
Connector Part Information
  • 12191065
  • 16-Way F Micro-Pack 100 Series (MD GRY)
Pin Wire Color Circuit No. Function
1 DK BLU 417 TP Sensor 1 Signal
2 DK GRN 485 5 Volt Reference
3 PPL 486 Low Reference
4 DK BLU 84 Cruise Control Set/Coast Switch Signal
5 GRY/BLK 87 Cruise Control Resume/Accel Switch Signal
6 LT BLU 20 Stop Lamp Supply Voltage
7 PNK 539 Ignition 1 Voltage
8 BRN 582 TAC Motor Control - 2
9 YEL/BLK 487 5 Volt Reference
10 WHT 484 Low Reference
11 PNK 427 TP Sensor 2 Signal
12 TAN 800 UART Serial Data Primary
13 ORN/BLK 1061 UART Serial Data Secondary
14 GRY 397 Cruise Control On Signal
15 BLK/WHT 451 Ground
16 YEL 581 TAC Motor Control - 1