Fuse Block - I/P C1
WARNING: This page is about a different car, the 2007 Saturn Vue. However, it is still accessible from the selected car via links, so may be relevant.
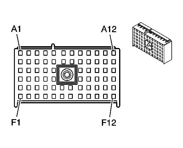
Fuse Block - I/P C1 Connector Parts Information
Connector Part Information
|
Fuse Block - I/P C1 Connector Terminal Identification
| Pin | Wire Color | Circuit No. | Function |
|---|---|---|---|
| A1 | GY | 8 | Instrument Panel Lamp Supply Voltage (HCO) |
| GY | 8 | Instrument Panel Lamp Supply Voltage (HCO) | |
| A2-A3 | - | - | Not Used |
| A4 | RD/BK | 780 | Driver Door Lock Switch Lock Signal |
| RD/BK | 780 | Driver Door Lock Switch Lock Signal | |
| A5 | RD | 9940 | Battery Positive Voltage |
| A6 | RD/BK | 744 | Liftgate Ajar Switch Signal |
| A7 | - | - | Not Used |
| A8 | PK | 1200 | Headlamp High Beam Signal |
| A9 | RD | 2445 | Rear Wiper Relay Control |
| A10 | D-BU | 1201 | Headlamp Low Beam Signal |
| A11-A12 | - | - | Not Used |
| B1 | RD | 3 | Ignition 1 Voltage |
| B2 | - | - | Not Used |
| B3 | RD | 228 | Washer Motor - Front |
| B4-B5 | - | - | Not Used |
| B6 | BK | 28 | Horn Relay Control |
| B7 | BN | 141 | Ignition 3 Voltage (KA1) |
| BN | 141 | Ignition 3 Voltage (KA1) | |
| B8 | - | - | Not Used |
| B9 | D-GN | 392 | Rear Window Washer Pump Control |
| B10 | BK/WH | 746 | Passenger Doors Ajar Switch Signal |
| BK/WH | 746 | Passenger Doors Ajar Switch Signal | |
| B11 | - | - | Not Used |
| B12 | TN | 294 | Door Lock Actuator Unlock Control |
| TN | 294 | Door Lock Actuator Unlock Control | |
| C1-C2 | - | - | Not Used |
| C3 | D-GN | 19 | Right Rear Stop/Turn Lamp Supply Voltage |
| D-GN | 19 | Right Rear Stop/Turn Lamp Supply Voltage | |
| C4 | BN/WH | 1571 | Traction Control Switch Signal (NW9) (Except HP7) |
| C5 | PU | 333 | Brake Fluid Level Sensor Signal |
| C8 | BN | 9 | Park Lamp Supply Voltage |
| BN | 9 | Park Lamp Supply Voltage | |
| C9 | - | - | Not Used |
| C10 | TN/WH | 694 | Driver Door Lock Actuator Unlock Control |
| C11 | - | - | Not Used |
| C12 | TN | 294 | Door Lock Actuator Unlock Control |
| D1 | YE | 43 | Accessory Voltage |
| D2 | OG | 440 | Battery Positive Voltage |
| OG | 440 | Battery Positive Voltage | |
| D3 | YE | 18 | Left Rear Stop/Turn Lamp Supply Voltage |
| YE | 18 | Left Rear Stop/Turn Lamp Supply Voltage | |
| D4 | OG/BK | 781 | Driver Door Lock Switch Unlock Signal |
| OG/BK | 781 | Driver Door Lock Switch Unlock Signal | |
| D5 | - | - | Not Used |
| D8 | BN | 9 | Park Lamp Supply Voltage |
| BN | 9 | Park Lamp Supply Voltage | |
| D9 | - | - | Not Used |
| D10 | TN | 294 | Door Lock Actuator Unlock Control |
| D11-D12 | - | - | Not Used |
| E1 | WH | 156 | Courtesy Lamp Switch Signal |
| E2 | OG | 440 | Battery Positive Voltage |
| OG | 440 | Battery Positive Voltage (U2K) | |
| E3-E8 | - | - | Not Used |
| E9 | L-GN/BK | 592 | DRL Relay Control |
| E10 | GY | 295 | Door Lock Actuator Lock Control |
| E11 | - | - | Not Used |
| E12 | BK | 650 | Ground |
| F1 | WH | 193 | Rear Defogger Relay Control |
| F2 | YE | 743 | Accessory Voltage |
| F3 | RD | 9940 | Battery Positive Voltage |
| F4 | L-GN | 1478 | Coolant Level Switch Signal |
| F5 | - | - | Not Used |
| F6 | OG | 1732 | Courtesy Lamps Supply Voltage |
| OG | 1732 | Courtesy Lamps Supply Voltage | |
| F7 | YE | 317 | Fog Lamp Relay Coil Supply Voltage (T96) |
| F8-F9 | - | - | Not Used |
| F10 | GY | 295 | Door Lock Actuator Lock Control |
| GY | 295 | Door Lock Actuator Lock Control | |
| F11 | - | - | Not Used |
| F12 | GY | 295 | Door Lock Actuator Lock Control |
| GY | 295 | Door Lock Actuator Lock Control |