LEMON Manuals: Even more car manuals for everyone: 1960-2025
Home >> Cadillac >> 2004 >> Seville >> Repair and Diagnosis (Single Page) >> Engine Performance >> Testing & Diagnosis >> Engine Controls -- 4.6L - Introduction >> Component Locator >> Powertrain Control Module (PCM) Connector End Views
April 5, 2026: LEMON Manuals is launched! Read the announcement.

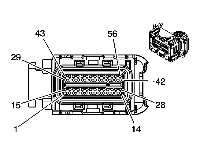
Powertrain Control Module (PCM) Connector End Views

PCM Connector C1 Connector End View

GM1228485Courtesy of GENERAL MOTORS CORP.
Connector Part Information
  • 15357147 (early) 15430221 (late)
  • 56-Way F Micro 64 (BLU)
Pin Wire Color Circuit No. Function
1-2 - - Not Used
3 BRN 436 AIR Pump Relay Control
4 DK BLU 473 High Speed Cooling Fan Relay Control
5-7 - - Not Used
8 DK GRN/WHT 817 Vehicle Speed Signal
9-10 - - Not Used
11 RED/BLK 380 A/C Refrigerant Pressure Sensor Signal
12 PPL 1589 Fuel Level Sensor Signal (Primary)
13-14 - - Not Used
15-16 PPL 1807 Class 2 Serial Data (Primary)
17 - - Not Used
18 WHT 1310 EVAP Canister Vent Solenoid Control
19 PNK 39 Ignition 1 Voltage
20 ORN 240 Battery Positive Voltage
21 - - Not Used
22 DK GRN 83 Cruise Control Inhibit Signal
23 WHT 121 Engine Speed Signal
24-30 - - Not Used
31 GRY 2709 5-Volt Reference
32 BLK 2751 Low Reference
33-34 - - Not Used
35 BLK 2759 Low Reference
36-37 - - Not Used
38 WHT 1390 Off/Run/Crank Voltage
39 GRY 847 Extended Travel Brake Switch Signal
40 - - Not Used
41 DK GRN 890 Fuel Tank Pressure Sensor Signal
42 - - Not Used
43 GRY 2700 5-Volt Reference
44 DK GRN/WHT 465 Fuel Pump Relay Control (Primary)
45 YEL 447 Starter Relay Coil Control
46 DK GRN 335 Low Speed Cooling Fan Relay Control
47 - - Not Used
48 LT BLU/BLK 396 Cruise Control Engaged Signal
49-50 - - Not Used
51 PPL 420 TCC Brake Switch/Cruise Control Release Signal
52 YEL 5 Crank Voltage
53 PNK/WHT 1101 Damping Lift/Dive Signal
54 - - Not Used
55 BRN/WHT 419 MIL Control
56 DK GRN/WHT 459 A/C Compressor Clutch Relay Control
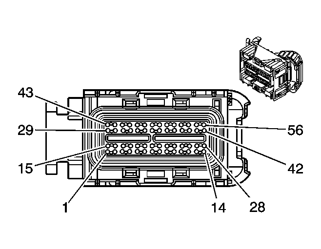
PCM Connector C2 Connector End View

GM1228486Courtesy of GENERAL MOTORS CORP.
Connector Part Information
  • 15357131 (early) 15430229 (late)
  • 73-Way F Micro 64 (BLK)
Pin Wire Color Circuit No. Function
1 BRN 1174 Oil Level Switch Signal
2 RED 1676 EGR Solenoid High Control
3 PPL/WHT 421 Rear AIR Pump Relay Control
4 - - Not Used
5 TAN/WHT 3111 HO2S Low Signal (Bank 1 Sensor 1)
6 GRY (Early) GRY/WHT (late) 2702 5-Volt Reference
7 - - Not Used
8 GRY 2701 5-Volt Reference
9 GRY 435 EGR Solenoid Low Control or EGR Solenoid Control
10 RED 225 Generator Turn On Signal
11 LT BLU 1876 Knock Sensor 2 Signal
12 GRY 23 Generator Field Duty Cycle Signal
13 GRY 1716 Knock Sensor 1 (KS1) Low Reference
14 - - Not Used
15 PPL 3120 HO2S High Signal (Bank 1 Sensor 2)
16 BRN 1456 EGR Valve Position Signal
17 LT GRN/WHT 1749 IAC Coil B High Control
18 YEL 410 ECT Sensor Signal
19 DK BLU 496 Knock Sensor 1 Signal
20 TAN/WHT 3121 HO2S Low Signal (Bank 1 Sensor 2)
21 PNK/BLK 632 Low Reference
22 DK BLU 417 TP Sensor Signal
23 PPL 2121 IC 1 Control
24 LT BLU/WHT 2126 IC 6 Control
25 ORN 1799 High Resolution Signal
26 - - Not Used
27 GRY 2303 Low Reference Knock Sensor 2 (KS2)
28 YEL/BLK 573 Crank Sensor B Signal
29 PPL/WHT 3110 HO2S High Signal (Bank 1 Sensor 1)
30 GRY 2704 5-Volt Reference (MAP)
31 LT BLU/WHT 1800 Crank Sensor A Signal
32 - - Not Used
33 BLK 2761 Low Reference (Coolant Sensor)
34 RED 2127 IC 7 Control
35 BLK 2753 Low Reference (EGR)
36 ORN/BLK 469 Low Reference (MAP)
37 BLK 2752 Low Reference (TPS)
38 - - Not Used
39 BRN 2129 Low Reference (EST Bank 1)
40 - - Not Used
41 YEL/BLK 1868 Low Reference
42 BRN/WHT 2130 Low Reference (EST Bank 2)
43 LT BLU 2123 IC 3 Control
44-45 - - Not Used
46 YEL 2868 Low Reference (Crank Return)
47 TAN/BLK 231 Oil Pressure Switch Signal
48 - - Not Used
49 RED 631 12-Volt Reference
50 LT GRN 1867 12-Volt Reference
51 LT GRN 2867 12-Volt Reference
52 - - Not Used
53 LT BLU/BLK 1748 IAC Coil A Low Control
54 BLK/WHT 3113 HO2S Heater Low Control (Bank 1 Sensor 1]
55 BLK/WHT 845 Fuel Injector 5 Control
56 BRN 3122 HO2S Heater Low Control (Bank 1 Sensor 2)
57 DK BLU/WHT 878 Fuel Injector 8 Control
58 LT GRN/BLK 444 IAC Coil B Low Control
59 LT BLU/BLK 844 Fuel Injector 4 Control
60 YEL/BLK 846 Fuel Injector 6 Control
61 LT BLU/WHT 1747 IAC Coil A High Control
62 DK GRN/WHT 2124 IC 4 Control
63 PPL/WHT 2128 IC 8 Control
64 DK GRN 2125 IC 5 Control
65 RED/WHT 2122 IC 2 Control
66 PNK/BLK 1746 Fuel Injector 3 Control
67 LT GRN 432 MAP Sensor Signal
68 - - Not Used
69 RED/BLK 877 Fuel Injector 7 Control
70 DK GRN/WHT 428 EVAP Canister Purge Solenoid Control
71 BLK 1744 Fuel Injector 1 Control
72 LT GRN 1745 Fuel Injector 2 Control
73 BLK/WHT 451 Ground
PCM Connector C3 Connector End View

GM1228487Courtesy of GENERAL MOTORS CORP.
Connector Part Information
  • 15357148 (early) 15430220 (late)
  • 56-Way F Micro 64 (GRY)
Pin Wire Color Circuit No. Function
1 PNK 1224 Transmission Fluid Pressure Switch Signal A
2 YEL/BLK 1223 2-3 Shift Solenoid or Shift Solenoid B Valve Control
3 LT BLU/WHT 1229 PC Solenoid Valve Low Control (Sol. A)
4 TAN/BLK 464 Delivered Torque Signal
5 YEL 772 Transmission Range Switch Signal B?
6 GRY 773 Transmission Range Switch Signal C
7 WHT 776 Transmission Range Switch Signal P
8 - - Not Used
9 WHT 905 Not Used
10 YEL/BLK 1227 TFT Sensor Signal
11 YEL 492 MAF Sensor Signal
12-15 - - Not Used
16 LT GRN 3212 HO2S Heater Low Control (Bank 2 Sensor 1)
17-18 - - Not Used
19 TAN/WHT 3211 HO2S Low Signal (Bank 2 Sensor 1)
20-21 - - Not Used
22 PPL 401 Signal Low - Front/VSS Low Signal/OSS Low Signal
23-26 - - Not Used
27 ORN/BLK 463 Requested Torque Signal
28-31 - - Not Used
32 BLK/WHT 771 Transmission Range Switch Signal A
33 DK BLU/WHT 1231 AT ISS Low Signal
34 BLK 2760 Low Reference (IAT)
35 BLK 2762 Low Reference (Trans Fluid Temp Sensor)
36-42 - - Not Used
43 PPL/WHT 3210 HO2S High Signal (Bank 2 Sensor 1)
44 LT GRN 1222 (1-2 Shift Solenoid or Shift Solenoid A) Valve Control
45 RED/BLK 1228 PC Solenoid Valve High Control (Sol. A)
46 - - Not Used
47 YEL 400 Signal High - Front/VSS High Signal/OSS High Signal
48 RED 1226 Transmission Fluid Pressure Switch Signal C
49-50 - - Not Used
51 TAN 472 IAT Sensor Signal
52-53 - - Not Used
54 OG/BK 1230 AT ISS High Signal
55 TAN/BLK 422 TCC Solenoid Valve Control
56 - - Not Used