LEMON Manuals: Even more car manuals for everyone: 1960-2025
Home >> Cadillac >> 2004 >> Seville >> Repair and Diagnosis (Single Page) >> Quick Lookups >> Electrical Component Locations >> Wiring Systems (Component Locator) >> Component Locator >> Power and Grounding Component Views
April 5, 2026: LEMON Manuals is launched! Read the announcement.

Power and Grounding Component Views

Fig 1: Engine Compartment, in the Right Front Corner Component View
GM747880Courtesy of GENERAL MOTORS CORP.
Callout Component Name
1 Windshield Washer Fluid Level Switch
2 Windshield Washer Fluid Pump
3 Windshield Washer Fluid Reservoir
4 A/C Refrigerant Pressure Sensor
5 P104
6 C106
7 P100
8 G105
9 G104
Fig 2: Passenger Compartment, Below the Center of the I/P Component View
GM154434Courtesy of GENERAL MOTORS CORP.
Callout Component Name
1 Auxiliary Power Outlet
2 C304
3 C312
4 Blower Motor Resistor Assembly - Auxiliary
5 Cigar Lighter
6 Ashtray Lamp
Fig 3: Passenger Compartment, Below the Center of the I/P Component View
GM154434Courtesy of GENERAL MOTORS CORP.
Callout Component Name
1 Auxiliary Power Outlet
2 C304
3 C312
4 Blower Motor Resistor Assembly - Auxiliary
5 Cigar Lighter
6 Ashtray Lamp
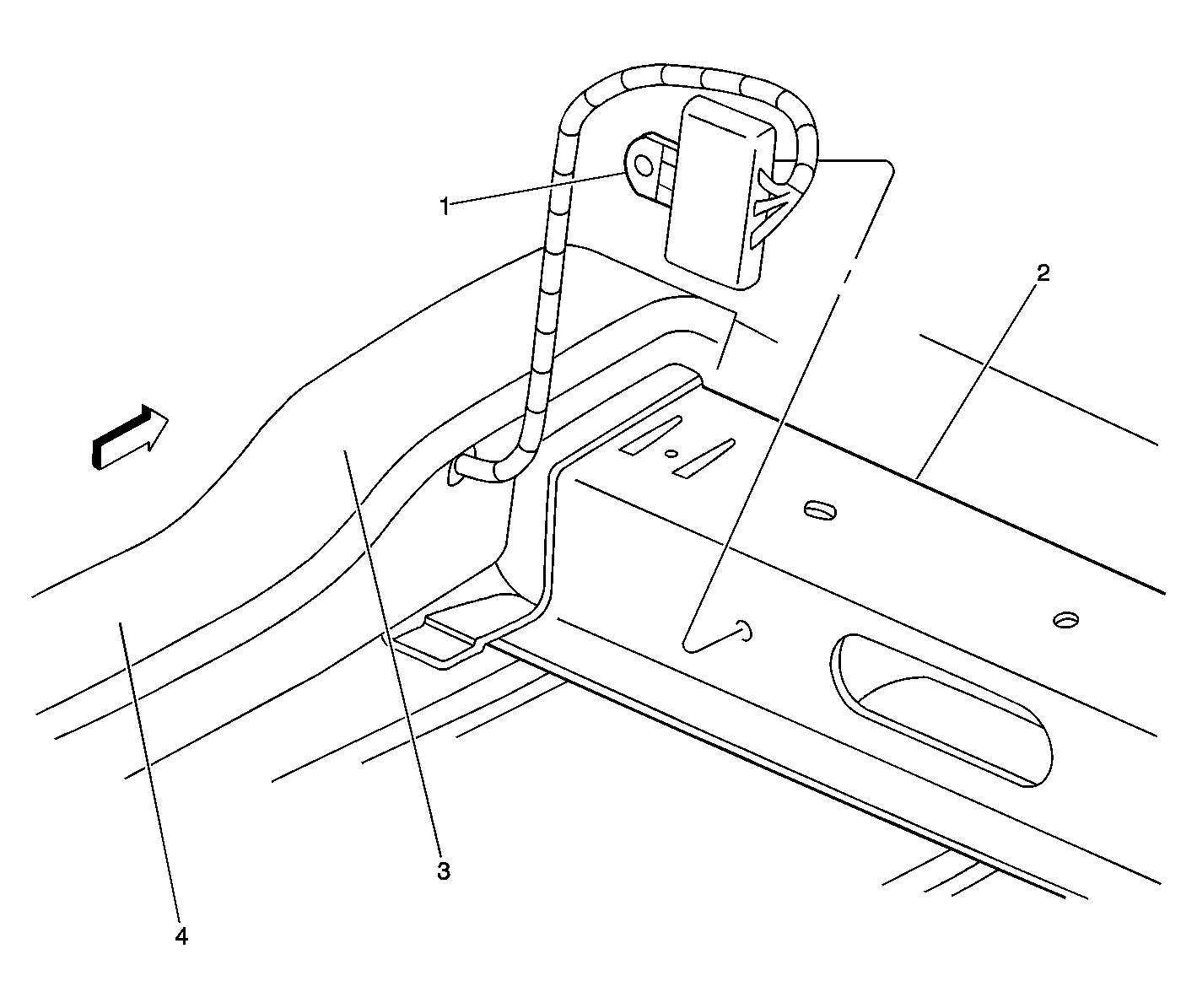
Fig 4: Passenger Compartment, Under the Rear Seat Component View
GM679991Courtesy of GENERAL MOTORS CORP.
Callout Component Name
1 Fuse Block - Rear
2 G301
3 Lateral Accelerometer Sensor
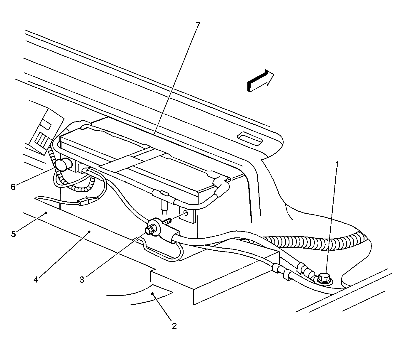
Fig 5: Passenger Compartment, Under the Rear Seat Component View
GM677223Courtesy of GENERAL MOTORS CORP.
Callout Component Name
1 G307
2 S305
3 Negative Battery Cable
4 S306
5 S307
6 Positive Battery Cable
7 Battery
Fig 6: Ground Locations Component View
GM747516Courtesy of GENERAL MOTORS CORP.
Callout Component Name
1 G302
2 G306
3 G307
4 G304
5 G401
6 G402
7 G303
8 G301
9 G300
10 G200
11 G202
12 G101
13 G106, G109, G110
14 G104
15 G105
16 G108
17 G201
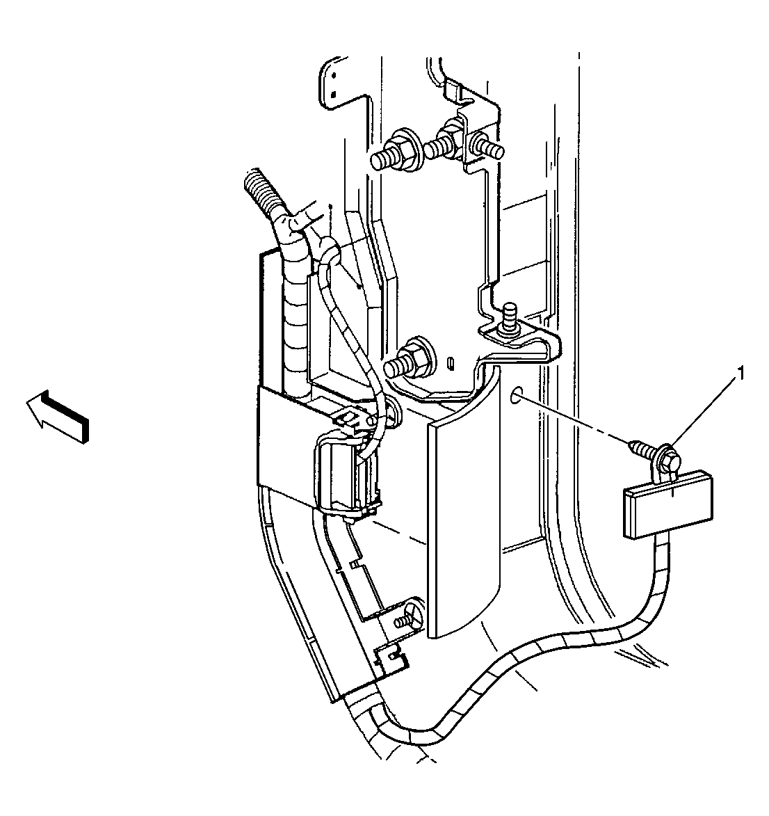
Fig 7: Engine Compartment, in the Left Side Component View
GM822795Courtesy of GENERAL MOTORS CORP.
Callout Component Name
1 Coolant Reservoir
2 Coolant Level Switch
3 G101
Fig 8: Engine, on the Left Side Component View
GM598784Courtesy of GENERAL MOTORS CORP.
Callout Component Name
1 Exhaust Gas Recirculation (EGR) Valve
2 Engine Coolant Temperature (ECT) Sensor
3 G108
4 C101
5 S117
6 S120
7 C100
8 Throttle Position (TP) Sensor
9 Idle Air Control (IAC) Sensor
10 Manifold Absolute Pressure (MAP) Sensor
Fig 9: Engine, on the Left, Front Bottom Side Component View
GM598780Courtesy of GENERAL MOTORS CORP.
Callout Component Name
1 G109
2 G110
3 G106
Fig 10: Passenger Compartment, Below the Left Side of the IP Component View
GM154377Courtesy of GENERAL MOTORS CORP.
Callout Component Name
1 S201
2 P101
3 C200
4 G200
5 S200
6 C202
Fig 11: Passenger Compartment, Below the Right Side of the IP Component View
GM154431Courtesy of GENERAL MOTORS CORP.
Callout Component Name
1 G201
Fig 12: Passenger Compartment, Under the Left Side of the Instrument Panel Component View
GM333290Courtesy of GENERAL MOTORS CORP.
Callout Component Name
1 Park Brake
2 Park Brake Release Solenoid
3 Park Brake Release Solenoid Connector
4 G202
Fig 13: Passenger Compartment, Under the Left Seat Component View
GM154454Courtesy of GENERAL MOTORS CORP.
Callout Component Name
1 G300
2 Number 2 Bar
3 SP302
4 SP301
Fig 14: Passenger Compartment, Under the Right Seat Component View
GM154451Courtesy of GENERAL MOTORS CORP.
Callout Component Name
1 G302
2 SP308
3 C307
4 Number 2 Bar
Fig 15: Passenger Compartment, Under the Right Seat Component View
GM747621Courtesy of GENERAL MOTORS CORP.
Callout Component Name
1 C307
2 G306
3 Number 2 Bar
4 Inflatable Restraint Sensing and Diagnostic Module (SDM)
5 G302
6 Cover over SP308
Fig 16: RCDLR, Rear Comp Lamp, C403, G401, and P400 Component View
GM154461Courtesy of GENERAL MOTORS CORP.
Callout Component Name
1 C403
2 G401
3 P400
4 Rear Compartment Lamp
5 Remote Control Door Lock Receiver (RCDLR)
Fig 17: Rear Compartment, in the Left Rear Component View
GM154462Courtesy of GENERAL MOTORS CORP.
Callout Component Name
1 C400
2 P401
3 G402
4 P402