LEMON Manuals: Even more car manuals for everyone: 1960-2025
Home >> Cadillac >> 2004 >> Seville >> Repair and Diagnosis (Single Page) >> Quick Lookups >> Wiring Diagrams >> OEM Connector End Views >> Connector End Views >> Electronic Suspension Control (ESC) Module C1 Connector End View
April 5, 2026: LEMON Manuals is launched! Read the announcement.

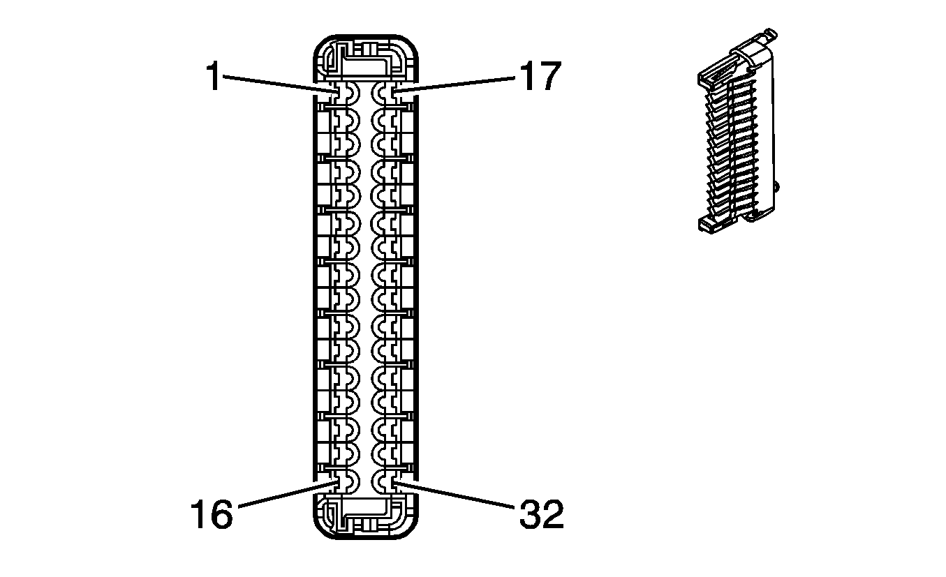
Electronic Suspension Control (ESC) Module C1 Connector End View

Electronic Suspension Control (ESC) Module C1 Connector End View

GM39787Courtesy of GENERAL MOTORS CORP.
Connector Part Information
  • 12129025
  • 32-Way F Micro-Pack 100 Series (LT BLU)
Pin Wire Color Circuit No. Function
1 RED/BLK 1448 Left Front Damper Control
2 - - Not Used
3 TAN/WHT 1207 Left Front Suspension Position Sensor Signal
4 PPL/WHT 1205 Left Front Suspension Position Sensor Voltage Reference
5 - 6 - - Not Used
7 WHT 790 PWM Serial Data
8 - 10 - - Not Used
11 YEL/BLK 2085 PWM Serial Data
12 YEL 321 Automatic Level Control Relay Control
13 TAN/WHT 1213 Right Front Suspension Position Sensor Signal
14 PPL/WHT 1211 Right Front Suspension Position Sensor Voltage Reference
15 - - Not Used
16 BRN 1009 Right Front Damper Low Reference
17 LT GRN 1005 Left Front Damper Low Reference
18 - - Not Used
19 LT BLU/BLK 1206 Left Front Suspension Position Sensor Low Reference
20 - 22 - - Not Used
23 GRY 791 PWM Serial Data
24 - 27 - - Not Used
28 WHT 320 Automatic Level Control Exhaust Solenoid Control
29 LT BLU/BLK 1212 Right Front Suspension Position Sensor Low Reference
30 - 31 - - Not Used
32 WHT/BLK 1006 Right Front Damper Control