LEMON Manuals: Even more car manuals for everyone: 1960-2025
Home >> Cadillac >> 2004 >> Seville >> Repair and Diagnosis (Single Page) >> Quick Lookups >> Wiring Diagrams >> OEM Connector End Views >> Connector End Views >> Inflatable Restraint Side Impact Module - LF Connector End View
April 5, 2026: LEMON Manuals is launched! Read the announcement.

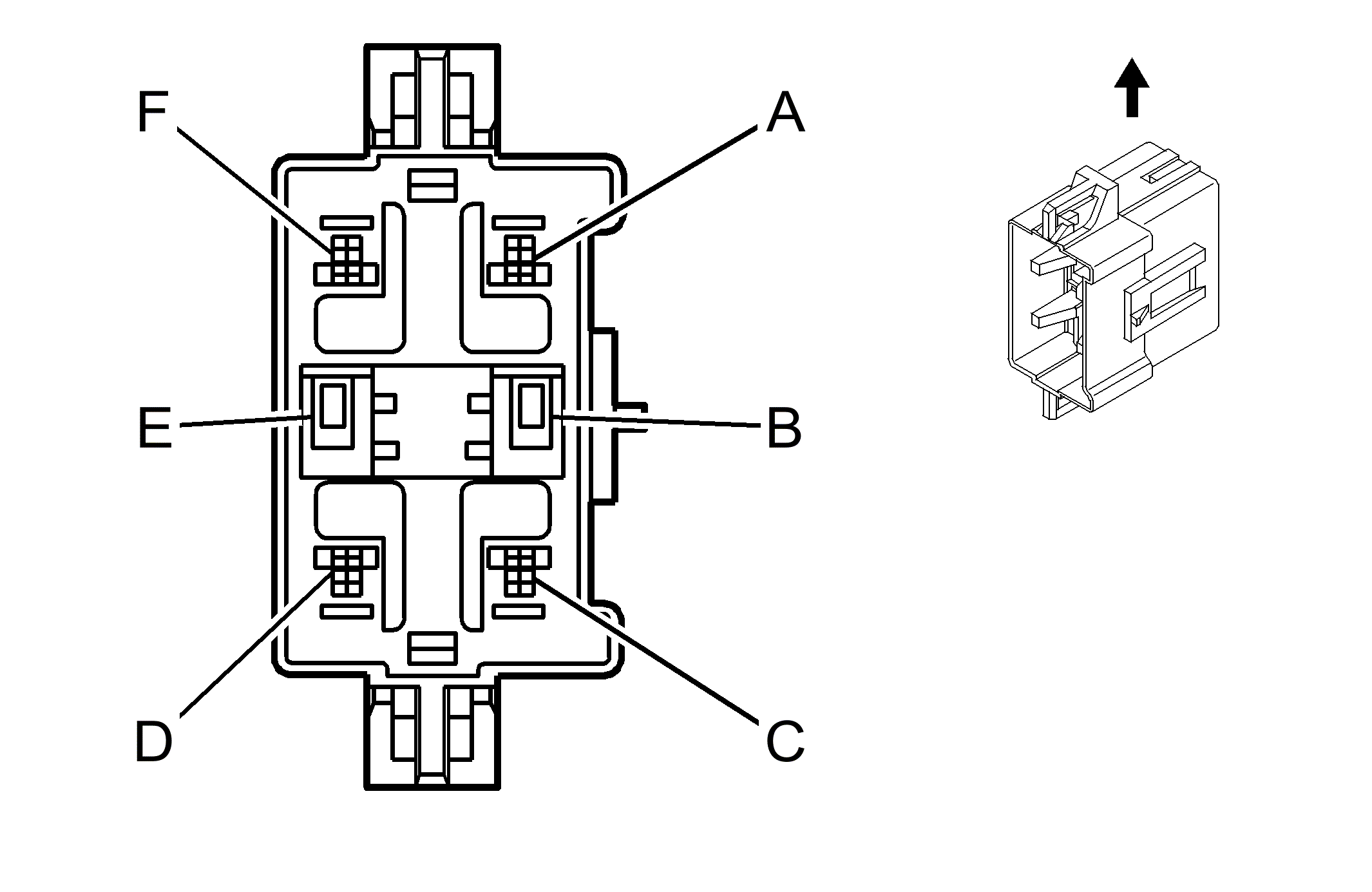
Inflatable Restraint Side Impact Module - LF Connector End View

Inflatable Restraint Side Impact Module - LF Connector End View

GM258658Courtesy of GENERAL MOTORS CORP.
Connector Part Information
  • 15336576
  • 6 Way M (YEL)
Pin Wire Color Circuit No. Function
A BLK/WHT 2118 Seat Belt Pretensioner - LF - High Control
B - - Not Used
C DK GRN 2105 Side Impact Module - LF - High Control
D BRN 2106 Side Impact Module - LF - Low Control
E - - Not Used
F ORN/BLK 2119 Seat Belt Pretensioner - LF - High Control