LEMON Manuals: Even more car manuals for everyone: 1960-2025
Home >> Cadillac >> 2004 >> Seville >> Repair and Diagnosis >> External Pages >> Different car >> Section 92 (Lighting Systems) >> Component Locator >> Lighting Systems Connector End Views
April 5, 2026: LEMON Manuals is launched! Read the announcement.

Lighting Systems Connector End Views

WARNING: This page is about a different car, the 2004 Cadillac DeVille. However, it is still accessible from the selected car via links, so may be relevant.
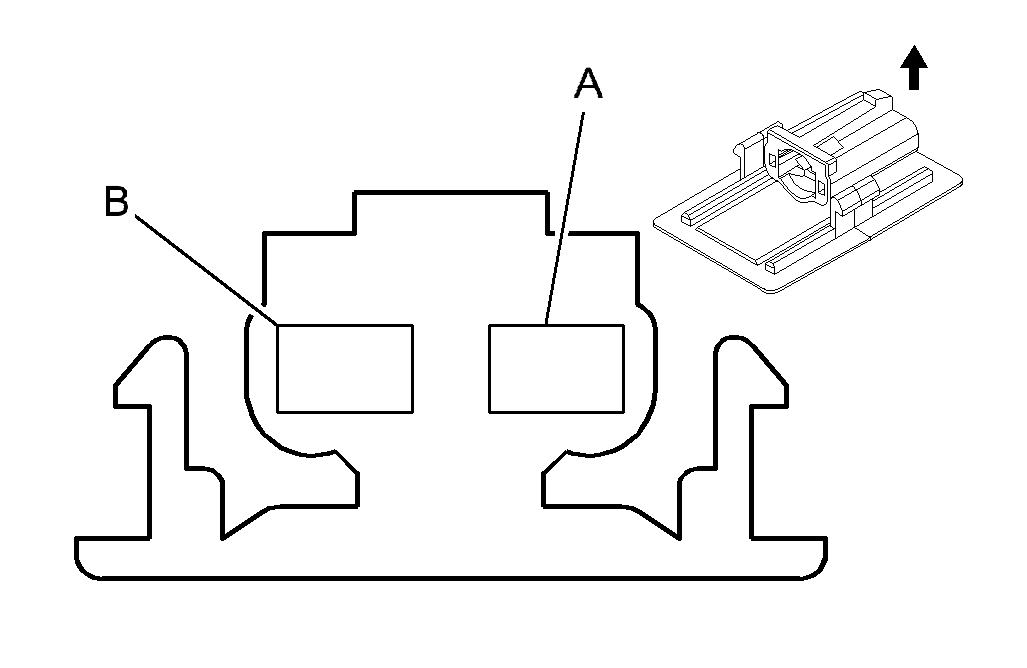
Ashtray Lamp Connector End View

GM38556Courtesy of GENERAL MOTORS CORP.
Connector Part Information
  • 12124722
  • 2-Way Lamp Socket Wedge Base W2 (GRY)
Pin Wire Color Circuit No. Function
A YEL 1491 Backlight Lamps Control
B BLK 450 Ground
Backup Lamp - Left Connector End View

GM38605Courtesy of GENERAL MOTORS CORP.
Connector Part Information
  • 12160394
  • 2-Way Lamp Socket Wedge Base W3 Right Angle (NAT)
Pin Wire Color Circuit No. Function
A LT GRN 24 Backup Lamp Supply Voltage
B RED 900 Backup Lamp Sockets Jumper
G BLK 850 Ground
Backup Lamp - Right Connector End View

GM38605Courtesy of GENERAL MOTORS CORP.
Connector Part Information
  • 12160394
  • 2-Way Lamp Socket Wedge Base W3 Right Angle (NAT)
Pin Wire Color Circuit No. Function
A LT GRN 24 Backup Lamp Supply Voltage
B RED 900 Backup Lamp Sockets Jumper
G BLK 850 Ground
Center High Mount Stop Lamp (CHMSL) Connector End View

GM35441Courtesy of GENERAL MOTORS CORP.
Connector Part Information
  • 12064762
  • 2-Way M Metri-Pack 150 Series (BLK)
Pin Wire Color Circuit No. Function
A WHT 17 Stop Lamp Switch Signal
B BLK 850 Ground
Cornering Lamp - Left Connector End View

GM62453Courtesy of GENERAL MOTORS CORP.
Connector Part Information
  • 12059595
  • 3-Way F Metri-Pack 150 Series (BLK)
Pin Wire Color Circuit No. Function
A ORN 57 Left Cornering Lamp Supply Voltage
B DK GRN/WHT 999 Cornering Lamp-Right
C BLK 250 Ground
Cornering Lamp - Right Connector End View

GM62453Courtesy of GENERAL MOTORS CORP.
Connector Part Information
  • 12059595
  • 3-Way F Metri-Pack 150 Series (BLK)
Pin Wire Color Circuit No. Function
A BLK 58 Right Cornering Lamp Supply Voltage
B DK GRN/WHT 999 Cornering Lamp-Left
C BLK 250 Ground
Courtesy Lamp - Console Connector End View

GM82383Courtesy of GENERAL MOTORS CORP.
Connector Part Information
  • 12047662
  • 2-Way F Metri-Pack 150 Series (BLK)
Pin Wire Color Circuit No. Function
A DK BLU/WHT 149 Courtesy Lamp Supply Voltage
B GRY/BLK 690 Front Interior Lamp Control
Courtesy Lamp Switch - Left Connector End View

GM333035Courtesy of GENERAL MOTORS CORP.
Connector Part Information
  • 12047781
  • 3-Way F Metri-Pack 150 Series (BLK)
Pin Wire Color Circuit No. Function
A DK BLU 1393 Rear Interior Lamp Control
B BLK 850 Ground
C LT GRN 522 Reading Lamp Control - Left
Courtesy Lamp Switch - Right Connector End View

GM333035Courtesy of GENERAL MOTORS CORP.
Connector Part Information
  • 12047781
  • 3-Way F Metri-Pack 150 Series (BLK)
Pin Wire Color Circuit No. Function
A DK BLU 1393 Rear Interior Lamp Control
B BLK 850 Ground
C DK GRN 523 Reading Lamp Control - Right
Daytime Running Lamp (DRL) Resistor Connector End View

GM68721Courtesy of GENERAL MOTORS CORP.
Connector Part Information
  • 15300027
  • 2-Way F Metri-Pack 280 Series (BLK)
Pin Wire Color Circuit No. Function
A PNK 1200 DRL Control
B LT GRN 838 DRL Resistor Signal
Door Courtesy Lamp - LF Connector End View

GM82383Courtesy of GENERAL MOTORS CORP.
Connector Part Information
  • 12047662
  • 2-Way F Metri-Pack 150 Series (BLK)
Pin Wire Color Circuit No. Function
A DK BLU/WHT 149 Courtesy Lamp Supply Voltage
B GRY/BLK 690 Front Interior Lamp Control
Door Courtesy Lamp - LR Connector End View

GM82383Courtesy of GENERAL MOTORS CORP.
Connector Part Information
  • 12047662
  • 2-Way F Metri-Pack 150 Series (BLK)
Pin Wire Color Circuit No. Function
A DK BLU/WHT 149 Courtesy Lamp Supply Voltage
B DK BLU 1393 Rear Interior Lamp Control
Door Courtesy Lamp - RF Connector End View

GM82383Courtesy of GENERAL MOTORS CORP.
Connector Part Information
  • 12047662
  • 2-Way F Metri-Pack 150 Series (BLK)
Pin Wire Color Circuit No. Function
A DK BLU/WHT 149 Courtesy Lamp Supply Voltage
B GRY/BLK 690 Front Interior Lamp Control
Door Courtesy Lamp - RR Connector End View

GM82383Courtesy of GENERAL MOTORS CORP.
Connector Part Information
  • 12047662
  • 2-Way F Metri-Pack 150 Series (BLK)
Pin Wire Color Circuit No. Function
A DK BLU/WHT 149 Courtesy Lamp Supply Voltage
B DK BLU 1393 Rear Interior Lamp Control
Fog Lamp - LF Connector End View

GM35430Courtesy of GENERAL MOTORS CORP.
Connector Part Information
  • 12020599
  • 2-Way F Metri-Pack 280 Series Sealed (BLK)
Pin Wire Color Circuit No. Function
A PPL 34 Fog Lamps Supply Voltage
B BLK 4050 Ground
Fog Lamp - RF Connector End View

GM35430Courtesy of GENERAL MOTORS CORP.
Connector Part Information
  • 12020599
  • 2-Way F Metri-Pack 280 Series Sealed (BLK)
Pin Wire Color Circuit No. Function
A PPL 34 Fog Lamps Supply Voltage
B BLK 4050 Ground
Fuse Block - Trailer Harness Connector End View

GM258166Courtesy of GENERAL MOTORS CORP.
Connector Part Information
  • 12052472
  • Fuse Block (BLK)
Pin Wire Color Circuit No. Function
A1-A2 - - Not Used
B1 YEL 18 Left Rear Stop/Turn Lamp Supply Voltage
B2 YEL 18 Left Rear Stop/Turn Lamp Supply Voltage
C1 DK GRN 19 Right Rear Stop/Turn Lamp Supply Voltage
C2 DK GRN 19 Right Rear Stop/Turn Lamp Supply Voltage
D1 PPL 709 Left Park Lamp Supply Voltage
D2 PPL 709 Left Park Lamp Supply Voltage
Hazard Switch Connector End View

GM40422Courtesy of GENERAL MOTORS CORP.
Connector Part Information
  • 12064762
  • 6-Way F Metri-Pack 150 Series (GRY)
Pin Wire Color Circuit No. Function
A TAN 2144 Hazard Switch Signal
B WHT 111 Hazard Switch Signal
C BLK 450 Ground
D LT BLU 14 Left Turn Signal Lamps Supply Voltage
E YEL 1491 Backlight Lamps Control
F - - Not Used
Headlamp Dimmer Switch Connector End View

GM130718Courtesy of GENERAL MOTORS CORP.
Connector Part Information
  • 12059800
  • 5-Way F Metri-Pack 150 Series (BLK)
Pin Wire Color Circuit No. Function
A PNK/BLK 1484 Flash To Pass Switch Signal
B BLK/WHT 451 Ground
C PNK/WHT 1970 Headlamp Low Beam Relay Control
D LT BLU 1485 Headlamp Control
E BLK/WHT 1969 Headlamp Relay Control
Headlamp Switch Connector End View

GM73152Courtesy of GENERAL MOTORS CORP.
Connector Part Information
  • 12084944
  • 16-Way F Micro-Pack 100 Series (BLK)
Pin Wire Color Circuit No. Function
A1 ORN 192 Front Fog Lamp Switch Signal
A2 BLK/WHT 351 Ground
A3 - - Not Used
A4 LT GRN 1431 Left Park Lamp Relay Control (Export)
A5 WHT 103 Headlamp Switch Headlamps On Signal
A6 DK BLU 1432 Right Park Lamp Relay Control (Export)
A7 - - Not Used
A8 BRN/WHT 301 Park Lamp Switch On Signal
B1 LT BLU/BLK 1688 5 Volt Reference
B2 DK GRN 44 Instrument Panel Lamps Dimmer Switch Signal
B3 YEL 61 Low Reference
B4 PNK/BLK 1597 Courtesy Lamps Switch On Signal
B5 PPL 1783 Twilight Sentinel Delay Signal
B6 BLK 1576 Rear Compartment Release Switch Signal
B7 YEL 1491 Backlight Lamps Control
B8 PNK/WHT 1447 Fuel Door Release Switch Signal
Headlamp - High Beam - Left Connector End View

GM35447Courtesy of GENERAL MOTORS CORP.
Connector Part Information
  • 12059183
  • 2-Way F Metri-Pack 280 Series (BLK)
Pin Wire Color Circuit No. Function
A DK GRN/WHT 711 Left Headlamp High Beam Supply Voltage
B BLK 2050 Ground
Headlamp - High Beam - Right Connector End View

GM684797Courtesy of GENERAL MOTORS CORP.
Connector Part Information
  • 12059183
  • 2-Way F Metri-Pack 280 Series (BLK)
Pin Wire Color Circuit No. Function
A DK GRN/WHT 311 Right Headlamp High Beam Supply Voltage
B BLK 250 Ground
Headlamp - Low Beam - Left Connector End View

GM35444Courtesy of GENERAL MOTORS CORP.
Connector Part Information
  • 12059181
  • 2-Way F Metri-Pack 280 Series (GRY)
Pin Wire Color Circuit No. Function
A YEL 712 Left Headlamp Low Beam Supply Voltage
B BLK 2050 Ground
Headlamp - Low Beam - Right Connector End View

GM35444Courtesy of GENERAL MOTORS CORP.
Connector Part Information
  • 12059181
  • 2-Way F Metri-Pack 280 Series (GRY)
Pin Wire Color Circuit No. Function
A YEL 312 Right Headlamp Low Beam Supply Voltage
B BLK 2050 Ground
IP Compartment Lamp Connector End View

GM258620Courtesy of GENERAL MOTORS CORP.
Connector Part Information
  • 12162222
  • 2-Way Lamp Socket Wedge Base W2 (WHT)
Pin Wire Color Circuit No. Function
A DK BLU/WHT 149 Courtesy Lamp Supply Voltage
B DK BLU/WHT 148 Courtesy Lamp Supply Voltage
IP Compartment Lamp Switch Connector End View

GM258297Courtesy of GENERAL MOTORS CORP.
Connector Part Information
  • 12015197
  • 2-Way F Metri-Pack 280 Series (BLU)
Pin Wire Color Circuit No. Function
A BLK 450 Ground
B DK BLU/WHT 148 Courtesy Lamp Supply Voltage
License Lamp (Domestic) Connector End View

GM82383Courtesy of GENERAL MOTORS CORP.
Connector Part Information
  • 12047662
  • 2-Way F Metri-Pack 150 Series (GRY)
Pin Wire Color Circuit No. Function
A YEL 32 Instrument Panel Lamp Fuse Supply Voltage - 1
B BLK 850 Ground
License Lamp (Export) Connector End View

GM82383Courtesy of GENERAL MOTORS CORP.
Connector Part Information
  • 12059247
  • 2-Way F Metri-Pack 150 Series (GRY)
Pin Wire Color Circuit No. Function
A YEL 32 Instrument Panel Lamp Fuse Supply Voltage - 1
B BLK 850 Ground
Marker Lamp- Left Connector End View

GM603060Courtesy of GENERAL MOTORS CORP.
Connector Part Information
  • 15324315
  • 2-Way Lamp Socket (BLK)
Pin Wire Color Circuit No. Function
1 PPL 709 Left Park Lamp Supply Voltage
1 WHT 1204 Left Park Lamp Supply Voltage (Export)
2 BLK 250 Ground
Marker Lamp- Right Connector End View

GM603060Courtesy of GENERAL MOTORS CORP.
Connector Part Information
  • 15324315
  • 2-Way Lamp Socket (BLK)
Pin Wire Color Circuit No. Function
1 PPL 309 Right Park Lamp Supply Voltage
1 WHT 1203 Right Park Lamp Supply Voltage (Export)
2 BLK 250 Ground
Overhead Console Courtesy Lamp Connector End View

GM333035Courtesy of GENERAL MOTORS CORP.
Connector Part Information
  • 12047781
  • 3-Way F Metri-Pack 150 Series (BLK)
Pin Wire Color Circuit No. Function
A BLK 850 Ground
B GRY/BLK 690 Front Interior Lamp Control
C DK BLU/WHT 149 Courtesy Lamp Supply Voltage
Park/Turn Lamp - LF Connector End View

GM38605Courtesy of GENERAL MOTORS CORP.
Connector Part Information
  • 12160394
  • 3-Way Lamp Socket Wedge Base (NAT)
Pin Wire Color Circuit No. Function
A LT BLU 14 Left Turn Signal Lamps Supply Voltage
B PPL 709 Left Park Lamp Supply Voltage
G BLK 250 Ground
Park/Turn Lamp - RF Connector End View

GM38605Courtesy of GENERAL MOTORS CORP.
Connector Part Information
  • 12160394
  • 3-Way Lamp Socket Wedge Base (NAT)
Pin Wire Color Circuit No. Function
A LT BLU 15 Right Turn Signal Lamps Supply Voltage
B PPL 309 Right Park Lamp Supply Voltage
G BLK 250 Ground
Position Lamp - Left (Export) Connector End View

GM287977Courtesy of GENERAL MOTORS CORP.
Connector Part Information
  • 12110053
  • 2-Way Lamp Socket Wedge Base W2 (GRY)
Pin Wire Color Circuit No. Function
A BLK 250 Ground
B WHT 1204 Left Park Lamp Supply Voltage
Position Lamp - Right (Export) Connector End View

GM287977Courtesy of GENERAL MOTORS CORP.
Connector Part Information
  • 12110053
  • 2-Way Lamp Socket Wedge Base W2 (GRY)
Pin Wire Color Circuit No. Function
A BLK 250 Ground
B PNK 1203 Right Park Lamp Supply Voltage
Rear Compartment Lamp Connector End View

GM333035Courtesy of GENERAL MOTORS CORP.
Connector Part Information
  • 12047781
  • 3-Way F Metri-Pack 150 Series (BLK)
Pin Wire Color Circuit No. Function
A - - Not Used
B ORN/BLK 737 Rear Compartment Lamp Control
C DK BLU/WHT 149 Courtesy Lamp Supply Voltage
Repeater Lamp - Left (Export) Connector End View

GM35447Courtesy of GENERAL MOTORS CORP.
Connector Part Information
  • 12059183
  • 2-Way F Metri-Pack 280 Series (BLK)
Pin Wire Color Circuit No. Function
A LT BLU 14 Left Turn Signal Lamps Supply Voltage
B BLK 250 Ground
Repeater Lamp - Right (Export) Connector End View

GM35447Courtesy of GENERAL MOTORS CORP.
Connector Part Information
  • 12059183
  • 2-Way F Metri-Pack 280 Series (BLK)
Pin Wire Color Circuit No. Function
A LT BLU 15 Right Turn Signal Lamps Supply Voltage
B BLK 250 Ground
Stop Lamp/AT Shiftlock Control Switch - C1 Connector End View

GM73251Courtesy of GENERAL MOTORS CORP.
Connector Part Information
  • 12033701
  • 2-Way F Metri-Pack 480 Series (GRY)
Pin Wire Color Circuit No. Function
A ORN 1640 Battery Positive Voltage
B WHT 17 Stop Lamp Switch Signal
Stop Lamp/AT Shift Lock Control Switch C2 Connector End View

GM40397Courtesy of GENERAL MOTORS CORP.
Connector Part Information
  • 12033706
  • 4-Way F Metri-Pack 280 Series (BLU)
Pin Wire Color Circuit No. Function
A LT GRN 275 Park Neutral Position Switch Park Signal
B DK GRN/WHT 1135 A/T Shift Lock Control Solenoid Supply Voltage
C-D - - Not Used
Stop Lamp Switch Connector End View

GM258178Courtesy of GENERAL MOTORS CORP.
Connector Part Information
  • 12033705
  • 4-Way F Metri-Pack 280 Series (NAT
Pin Wire Color Circuit No. Function
A PNK 1039 Ignition 1 Voltage
B PPL 420 TCC Brake Switch/Cruise Control Release Signal
PPL 420 TCC Brake Switch/Cruise Control Release Signal
C PNK 1039 Ignition 1 Voltage
D GRY 847 Extended Travel Brake Switch Signal
Sunload Sensor Assembly Connector End View

GM130637Courtesy of GENERAL MOTORS CORP.
Connector Part Information
  • 12064760
  • 4-Way F Metri-Pack 150 Series (BLK)
Pin Wire Color Circuit No. Function
A LT BLU/BLK 590 Driver Sunload Sensor Signal
B GRY 1548 Passenger Sunload Sensor Signal
C YEL 61 Low Reference
D WHT 278 Ambient Light Sensor Signal
Tail Lamp - Left (Domestic) Connector End View

GM40422Courtesy of GENERAL MOTORS CORP.
Connector Part Information
  • 12064762
  • 6-Way F Metri-Pack 150 Series (GRY)
Pin Wire Color Circuit No. Function
A DK GRN 19 Right Rear Stop/Turn Lamp Supply Voltage
B YEL 18 Left Rear Stop/Turn Lamp Supply Voltage
C BLK 850 Ground
D YEL/BLK 1334 Left Tail Lamp Outage Detection Signal
E GRY 1148 Transmission Shift Inhibit Signal
F PPL 709 Left Park Lamp Supply Voltage
Tail Lamp - Left (Export) Connector End View

GM40422Courtesy of GENERAL MOTORS CORP.
Connector Part Information
  • 12064762
  • 6-Way F Metri-Pack 150 Series (GRY)
Pin Wire Color Circuit No. Function
A DK GRN 19 Right Rear Stop/Turn Lamp Supply Voltage
B WHT 17 Stop Lamp Switch Signal
C BLK 850 Ground
D YEL/BLK 1334 Left Tail Lamp Outage Detection Signal
E YEL 18 Left Rear Stop/Turn Lamp Supply Voltage
F WHT 1204 Left Park Lamp Supply Voltage
Tail Lamp - Right (Domestic) Connector End View

GM40422Courtesy of GENERAL MOTORS CORP.
Connector Part Information
  • 12064762
  • 6-Way F Metri-Pack 150 Series (GRY)
Pin Wire Color Circuit No. Function
A - - Not Used
B DK GRN 19 Right Rear Stop/Turn Lamp Supply Voltage
C BLK 1050 Ground
D DK GRN/WHT 1335 Right Tail Lamp Outage Detection Signal
E - - Not Used
F BRN/WHT 309 Right Park Lamp Supply Voltage
Tail Lamp - Right (Export) Connector End View

GM40422Courtesy of GENERAL MOTORS CORP.
Connector Part Information
  • 12064762
  • 6-Way F Metri-Pack 150 Series (GRY)
Pin Wire Color Circuit No. Function
A - - Not Used
B WHT 17 Stop Lamp Switch Signal
C BLK 1050 Ground
D DK GRN/WHT 1335 Right Tail Lamp Outage Detection Signal
E DK GRN 19 Right Rear Stop/Turn Lamp Supply Voltage
F PNK 1203 Right Park Lamp Supply Voltage
Turn Signal/Hazard Flasher Module Connector End View

GM476149Courtesy of GENERAL MOTORS CORP.
Connector Part Information
  • 15326110
  • 12-Way F 280 GT Series (BLK)
Pin Wire Color Circuit No. Function
A DK GRN 1428 Left Turn Signal Switch Signal
B WHT 111 Hazard Switch Signal
C WHT 17 Stop Lamp Switch Signal
D DK BLU 15 Right Turn Signal Lamps Supply Voltage
E BLK 450 Ground
F YEL/BLK 1334 Left Tail Lamp Outage Detection Signal
G LT GRN 1427 Right Turn Signal Switch Signal
H YEL 18 Left Rear Stop/Turn Lamp Supply Voltage
J LT BLU 14 Left Turn Signal Lamps Supply Voltage
K DK GRN 19 Right Rear Stop/Turn Lamp Supply Voltage
L DK GRN/WHT 1335 Right Tail Lamp Outage Detection Signal
M ORN 1740 Battery Positive Voltage
Turn Signal Switch Connector End View

GM39746Courtesy of GENERAL MOTORS CORP.
Connector Part Information
  • 12177016
  • 8-Way F 150 Series Metri Pack (BLK)
Pin Wire Color Circuit No. Function
A BLK 58 Right Cornering Lamp Supply Voltage
B - - Not Used
C YEL 32 Instrument Panel Lamp Fuse Supply Voltage - 1
D ORN 57 Left Cornering Lamp Supply Voltage
E - - Not Used
F DK GRN 1428 Left Turn Signal Switch Signal
G PNK 1039 Ignition 1 Voltage
H LT GRN 1427 Right Turn Signal Switch Signal
Underhood Lamp Connector End View

GM35437Courtesy of GENERAL MOTORS CORP.
Connector Part Information
  • 12052641
  • 2-Way F Metri-Pack 150 Series Sealed (BLK)
Pin Wire Color Circuit No. Function
A DK BLU/WHT 149 Courtesy Lamp Supply Voltage
B BLK 150 Ground
Vanity Mirror Lamp - LR Connector End View (w/UD7 & W20)

GM82383Courtesy of GENERAL MOTORS CORP.
Connector Part Information
  • 12047662
  • 2-Way F Metri-Pack 150 Series (BLK)
Pin Wire Color Circuit No. Function
A BLK 850 Ground
B DK BLU/WHT 149 Courtesy Lamp Supply Voltage
Vanity Mirror Lamp- Right Connector End View

GM82383Courtesy of GENERAL MOTORS CORP.
Connector Part Information
  • 12047662
  • 2-Way F Metri-Pack 150 Series (BLK)
Pin Wire Color Circuit No. Function
A BLK 850 Ground
B DK BLU/WHT 149 Courtesy Lamp Supply Voltage
Vanity Mirror Lamp - Left Connector End View

GM82383Courtesy of GENERAL MOTORS CORP.
Connector Part Information
  • 12047662
  • 2-Way F Metri-Pack 150 Series (BLK)
Pin Wire Color Circuit No. Function
A BLK 850 Ground
B DK BLU/WHT 149 Courtesy Lamp Supply Voltage
Vanity Mirror Lamp - RR Connector End View (w/UD7 & W20)

GM82383Courtesy of GENERAL MOTORS CORP.
Connector Part Information
  • 12047662
  • 2-Way F Metri-Pack 150 Series (BLK)
Pin Wire Color Circuit No. Function
A BLK 850 Ground
B DK BLU/WHT 149 Courtesy Lamp Supply Voltage