Fuse Block - I/P, Relay Block - I/P and BCM Label
Fuse Block - I/P, Relay Block - I/P and BCM, Fuse Identification
| No. | Device | Rating | Description |
|---|---|---|---|
| 1 | Spare fuse | - | Spare Fuse Holder |
| 2 | Spare fuse | - | Spare Fuse Holder |
| 3 | Spare fuse | - | Spare Fuse Holder |
| 4 | Spare fuse | - | Spare Fuse Holder |
| 5 | Fuse Puller | - | Fuse Puller |
| 6 | REVERSE LAMP Relay | - | REVERSE LAMPS Fuse and Backup Lamps |
| 7 | RUN/CRANK Relay | - | ECM Fuse |
| 8 | PARK BRAKE SOL A | 20A | PARK BRK RELEASE Relay |
| 9 | REVERSE LAMPS | 10A | Back Up Lamp - Left and Back Up Lamp - Right |
| 10 | BTSI SOL/COL LOCK | 10A | Steering Column Lock Control Module and Automatic Transmission Shift Lever |
| 11-12 | Not Used | - | Not Used |
| 13 | GMLAN DEVICES | 20A | ACC/TCM Fuse |
| 14 | RPA/H/C SEAT | 10A | Heated Seats, Rear Object Sensor Control Module and Diode 2 |
| 15 | DOOR LOCKS | 15A | BCM Logic |
| 16 | ECM | 15A | CRANK Relay |
| 17 | INTERIOR LIGHTS | 10A | BCM Logic |
| 18 | SDM/PSIR SW | 10A | Inflatable Restraint Sensing and Diagnostic Module (SDM) and Inflatable Restraint I/P Module Disable Switch |
| 19 | Not Used | - | Not Used |
| 20 | ONSTAR | 10A | Vehicle Communication Interface Module (VCIM) and Cellular Microphone |
| 21 | ACCA/DRIV DR SW | 10A | Distance Sensing Cruise Control Module and Driver Door Switch Assembly (DDSA) |
| 22 | TILT/TELE SW/MEM SEAT MOD | 10A | Folding Top Switch, Tilt/Telescope Switch, Memory Seat Switch, Memory Seat Module - Driver and Seat Adjuster Switch - Driver |
| 23 | IGNITION SW/INTR SENS | 10A | Intrusion Sensor and BCM Logic |
| 24 | STOP LAMP Relay | - | Center High Mounted Stop Lamp (CHMSL), Capacitor CP 200 and BCM Logic |
| 25 | ISRVM/HVAC | 10A | HVAC Control Module, Theft Deterrent Alarm Siren, Steering Column Lock Control Module, Air Temperature Sensor - Inside and Inside Rearview Mirror |
| 26 | CLUSTER | 15A | Instrument Panel Cluster (IPC) and Head Up Display (HUD) |
| 27 | RADIO/ANT/VICS | 15A | Digital Radio Receiver, Traffic Information Receiver, Radio and Remote Playback Device - CD Player |
| 28 | TUTD SW/STRH COL SW | 2A | Automatic Transmission Shift Lever, Turn Signal/Multifunction Switch and Steering Wheel Control Switch Assembly |
| 29 | HVAC/PWR SND | 10A | HVAC Control Module and Theft Deterrent Alarm Siren |
| 30 | REAR FOG/ALDL TOP SW | 10A | FOG RR Relay and Data Link Connector DLC |
| 31 | PWR FLDG MIR - EXT/RET | 10A | F/MIR RETRACT (Export) Relay and F/MIR EXTEND (Export) Relay |
| 32 | A.C. LATCH/ PK BRK B | 10A | Rear Compartment Lid Release Close Switch and PARK BRAKE HOLD Relay |
| 33 | POWER SEATS Circuit Breaker | 30A | Memory Seat Module - Driver, and Seat Adjuster Switch - Front Passenger |
| 34 | DOOR CONTROLS Circuit Breaker | 30A | Driver Door Module (DDM), Front Passenger Door Module (FPDM), and I/P Relay Block FUEL DOOR Relay |
| 35 | RUN/ACCESSORY POWER Fuse | 10A | Outside Moisture Sensor |
| 36-37 | Not Used | - | - |
| 38 | WIPER DWELL Fuse | 10A | Outside Moisture Sensor |
| 39 | STEERING WHEEL DIMMING Fuse | 2A | Steering Wheel Control Switch Assembly |
| 40 | POWER LUMBAR LH/RH Fuse | 15A | Lumbar Switches/Pump - Driver and Passenger |
| 41 | HEATED SEAT RH Fuse | 15A | Heated/Cooled Seat Module - Passenger |
| 42 | HEATED SEAT LH Fuse | 15A | Heated/Cooled Seat Module - Driver |
| 43 | COLUMN LK MODULE Fuse (Europe) | 10A | Automatic Transmission Shift Lever |
| 44 | FLDG TOP/TRUNK LATCH Fuse | 15A | Folding Top Closed Switch, Folding Top Module, Header Latch Switch, Header Unlatch Switch, Luggage Barrier Switch, Rear Compartment Lid Open Switch, and Rear Compartment Lid Pull-down Actuator |
| 45 | AUXILIARY POWER Fuse | 20A | Auxiliary Power Outlet |
| 46 | CIGAR LIGHTER Fuse | 20A | Cigar Lighter |
| 47 | PRK BRK HOLD Relay | - | Park Brake Hold Solenoid |
| 48 | PRK BRK RELEASE Relay | - | Park Brake Release Solenoid |
| 49 | F/MIR RETRACT (EXPORT) | - | Outside Rearview Mirror Motor Retract |
| 50 | FOG RR (EXPORT) | - | Rear Fog Lamps |
| 51 | F/MIR EXTEND (EXPORT) | - | Outside Rearview Mirror Motor Extend |
| 52 | FUEL DR | - | Fuel Door Release Switch and Fuel Door Release Actuator |
Fuse Block - I/P Wire Entry Pinout Identification View
| Connector Part Information |
|
||
|---|---|---|---|
| Pin | Wire Color | Circuit No. | Function |
| A1 - A3 | - | - | Not Used |
| A4 | YE | 743 | Accessory Voltage |
| A5 | YE | 443 | Accessory Voltage |
| A6 | YE | 643 | Accessory Voltage |
| A7 | - | - | Not Used |
| A8 | YE | 543 | Accessory Voltage |
| A9 | - | - | Not Used |
| B1 | - | - | Not Used |
| B2 | YE | 390 | Instrument Panel Lamp Supply Voltage - 3 |
| B3 | YE | 1491 | Backlight Lamps Control |
| B4 | RD/WH | 2240 | Battery Positive Voltage |
| RD/WH | 2240 | Battery Positive Voltage | |
| B5 | - | - | Not Used |
| B6 | RD/WH | 3240 | Battery Positive Voltage |
| B7 | RD/BK | 742 | Battery Positive Voltage |
| RD/BK | 742 | Battery Positive Voltage | |
| B8 | RD/WH | 1640 | Battery Positive Voltage |
| B9 | - | - | Not Used |
| C1 | - | - | Not Used |
| C2 | YE | 143 | Accessory Voltage |
| YE | 143 | Accessory Voltage | |
| C3 | YE | 243 | Accessory Voltage |
| C4-C7 | - | - | Not Used |
| C8 | PK | 5780 | Windshield Wiper Motor Park Switch Signal |
| C9 | YE | 196 | Windshield Wiper Motor Park Switch Signal |
| D1-D3 | - | - | Not Used |
| D4 | RD/WH | 1540 | Battery Positive Voltage |
| D5 | RD/BK | 742 | Battery Positive Voltage |
| D6 | RD/WH | 1440 | Battery Positive Voltage |
| D7 | RD/BK | 742 | Battery Positive Voltage |
| D8-D9 | - | - | Not Used |
Relay Block - I/P Wire Entry Pinout Identification View
| Connector Part Information |
|
||
|---|---|---|---|
| Pin | Wire Color | Circuit No. | Function |
| A1 | WH | 93 | Fuel Door Release Relay Control |
| A2 | RD/WH | 1440 | Battery Positive Voltage |
| A3 | RD/WH | 1440 | Battery Positive Voltage |
| A4 | - | - | Not Used |
| A5 | PK | 79 | Fuel Door Release Solenoid Control |
| B1 | BK | 1550 | Ground |
| B2 | L-BU | 187 | Rear Fog Lamp Switch Signal |
| B3 | RD/WH | 1040 | Battery Positive Voltage |
| B4 | - | - | Not Used |
| B5 | OG | 122 | Rear Fog Lamp Supply Voltage |
| C1 | BK | 1550 | Ground |
| C2 | L-GN/BK | 1605 | Park Brake Relay Coil 1 Control |
| C3 | RD/WH | 540 | Battery Positive Voltage |
| C4 | - | - | Not Used |
| C5 | TN | 1628 | Park Brake Relay A Supply Voltage |
| D1 | BK | 1550 | Ground |
| D2 | PK | 1607 | Park Brake Relay Coil 2 Control |
| D3 | RD/WH | 1340 | Battery Positive Voltage |
| D4 | - | - | Not Used |
| D5 | L-GN | 1627 | Park Brake Relay B+ Supply Voltage |
| E1 | L-BU | 5023 | Passenger Folding Mirror Motor Retract Control |
| E2 | BK | 750 | Ground |
| E3 | L-BU | 191 | Driver Folding Mirror Motor Retract Control |
| E4 | BK | 750 | Ground |
| BK | 750 | Ground | |
| E5 | RD/WH | 3140 | Battery Positive Voltage |
| F1 | YE | 5004 | Passenger Folding Mirror Motor Extend Control |
| F2 | BK | 750 | Ground |
| F3 | YE | 190 | Driver Folding Mirror Motor Extend Control |
| F4 | BK | 750 | Ground |
| BK | 750 | Ground | |
| F5 | RD/WH | 3140 | Battery Positive Voltage |
Body Control Module (BCM) C1 Identification View
| Connector Part Information |
|
||
|---|---|---|---|
| Pin | Wire Color | Circuit No. | Function |
| 1 | - | - | Not Used |
| 2 | YE | 5058 | Intrusion Sensor Armed Signal (Export) |
| 3 | - | - | Not Used |
| 4 | D-GN | 5525 | Tap Up/Tap Down Enable Signal |
| 5-6 | - | - | Not Used |
| 7 | L-GN | 5724 | Ignition Mode Switch Mode Control |
| 8-11 | - | - | Not Used |
| 12 | BK/WH | 851 | Signal Ground |
| 13 | TN | 28 | Horn Relay Control |
| 14 | D-BU | 5719 | Ignition Mode Switch Start LED Signal |
| 15 | WH | 5741 | Steering Column Lock Module Lock Enable Relay Control (Export) |
| 16 | L-BU | 1344 | Trunk Release Relay Control |
| 17 | L-BU | 187 | Rear Fog Lamp Switch Signal (Export) |
| 18 | OG/BK | 744 | Trunk Ajar Switch Signal |
| 19 | D-GN/WH | 1317 | Fog Lamp Relay Control |
| 20-21 | - | - | Not Used |
| 22 | YE | 43 | Accessory Voltage |
| 23-28 | - | - | Not Used |
| 29 | TN/WH | 1969 | Headlamp High Beam Relay Control |
| 30-32 | - | - | Not Used |
| 33 | PK | 94 | Windshield Washer Switch Signal |
| 34 | - | - | Not Used |
| 35 | TN | 305 | Trunk Key Switch Signal |
| 36-37 | - | - | Not Used |
| 38 | L-BU/WH | 1314 | Left Front Turn Signal Lamp Supply Voltage |
| 39-41 | - | - | Not Used |
| 42 | L-GN/BK | 1605 | Park Brake Relay Control 1 |
| 43 | - | - | Not Used |
| 44 | TN | 126 | Left Front Door Open Switch Signal |
| 45-46 | - | - | Not Used |
| 47 | PU | 5357 | Right Tail Lamp Outage Detection Signal |
| 48 | - | - | Not Used |
| 49 | PU | 5059 | Intrusion Sensor Alarm On Signal (Export) |
| 50 | - | - | Not Used |
| 51 | GY/BK | 745 | Left Front Door Ajar Switch Signal |
| 52 | - | - | Not Used |
| 53 | TN/WH | 746 | Right Front Door Ajar Switch Signal |
| 54 | - | - | Not Used |
| 55 | L-GN | 1037 | BCM Class 2 Serial Data |
| 56 | D-BU/WH | 1315 | Right Front Turn Signal Lamp Supply Voltage |
| 57 | WH | 2282 | Headlamp Washer Relay Control |
| 58 | D-GN | 1399 | RAP Relay Coil Supply Voltage |
| 59 | - | - | Not Used |
| 60 | L-GN | 1845 | Chime Control |
| 61 | - | - | Not Used |
| 62 | YE | 5356 | Left Tail Lamp Outage Detection Signal |
| 63 | L-GN | 1177 | Right Front Door Open Switch Signal |
| 64 | GY | 91 | Windshield Wiper Motor Relay Coil Supply Voltage |
| 65 | WH | 1080 | Park Lamp Relay Control |
| 66 | L-GN/WH | 5723 | Ignition Mode Switch Mode Voltage |
| 67 | - | - | Not Used |
| 68 | TN/BK | 5168 | Power Sounder Enable Signal (Export) |
| 69 | PK/BK | 109 | Hood Ajar Switch Signal (Export) |
| 70 | - | - | Not Used |
| 71 | BN/WH | 2091 | Trunk Release Switch Supply Voltage |
| 72 | - | - | Not Used |
Body Control Module (BCM) C2 Identification View
| Connector Part Information |
|
||
|---|---|---|---|
| Pin | Wire Color | Circuit No. | Function |
| 1 | TN/BK | 2500 | High Speed GMLAN Serial Data (+) 1 |
| 2 | TN/BK | 2500 | High Speed GMLAN Serial Data (+) 1 |
| 3 | PK/WH | 1970 | Headlamp Low Beam Relay Control |
| 4 | PU | 524 | Headlamp Dimmer Switch High Beam Signal |
| 5 | BN/WH | 301 | Park Lamp Switch On Signal |
| 6 | YE | 1977 | Rear Fog Lamp Relay Control (Export) |
| 7 | PK | 5068 | Intrusion Sensor Switch Disable Signal (Export) |
| 8 | - | - | Not Used |
| 9 | TN | 2144 | Hazard Switch Signal |
| 10 | - | - | Not Used |
| 11 | OG | 5721 | Ignition Mode Switch Off LED Signal |
| 12-13 | - | - | Not Used |
| 14 | TN | 28 | Horn Relay Control |
| 15 | WH | 103 | Headlamp Switch On Signal |
| 16 | OG | 192 | Front Fog Lamp Switch Signal |
| 17 | L-BU | 1872 | Park Lamp Switch Off Signal 2 |
| 18 | GY | 5381 | Brake Position Sensor 5-Volt Reference |
| 19 | TN | 2501 | High Speed GMLAN Serial Data (-) 1 |
| 20 | TN | 2501 | High Speed GMLAN Serial Data (-) 1 |
| 21-30 | - | - | Not Used |
| 31 | TN | 5380 | Brake Position Sensor Signal |
| 32-48 | - | - | Not Used |
| 49 | PK | 1607 | Park Brake Relay Control 2 |
| 50 | - | - | Not Used |
| 51 | BN | 1356 | Flash To Pass Switch Signal |
| 52-56 | - | - | Not Used |
| 57 | D-GN | 5737 | Adaptive Cruise Control Gap Up/Down Switch Signal |
| 58 | - | - | Not Used |
| 59 | BN | 5382 | Brake Position Sensor Low Reference |
| 60 | - | - | Not Used |
| 61 | GY | 1884 | Cruise Control Set/Coast/Resume/Accelerate Switch Signal |
| 62-65 | - | - | Not Used |
| 66 | L-BU/WH | 1414 | Left Front Turn Signal Switch Signal |
| 67 | D-BU/WH | 1415 | Right Front Turn Signal Switch Signal |
| 68 | BN/WH | 1571 | Traction Control Switch Signal 2 |
| 69 | D-GN/WH | 1932 | Shift Select Switch Park Signal |
| 70 | - | - | Not Used |
| 71 | L-GN | 5720 | Ignition Mode Switch Accessory LED Signal |
| 72 | - | - | Not Used |
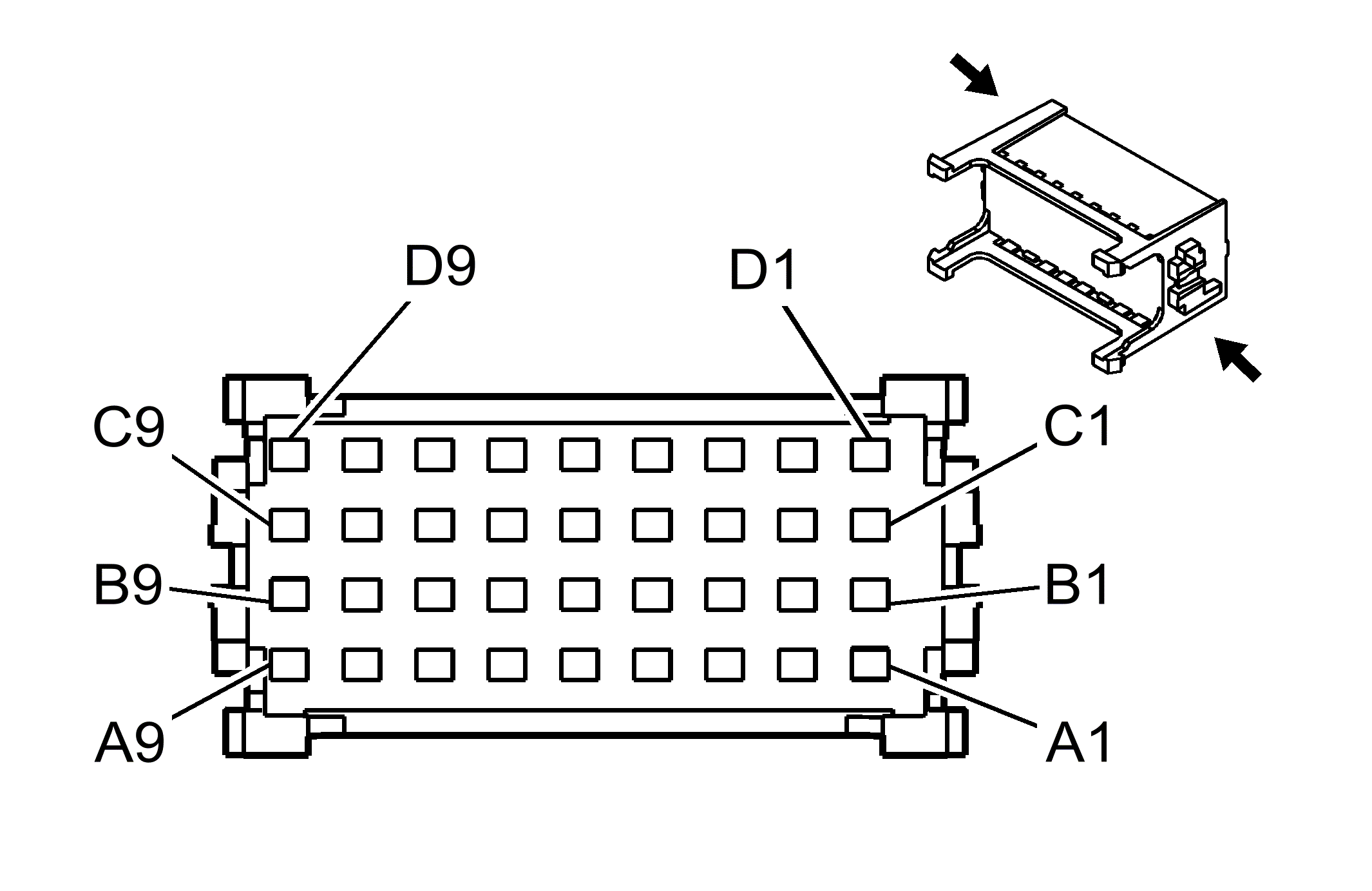
Body Control Module (BCM) C3 Identification View
| Connector Part Information |
|
||
|---|---|---|---|
| Pin | Wire Color | Circuit No. | Function |
| A1 | TN | 694 | Driver Door Lock Actuator Unlock Control |
| A2 | - | - | Not Used |
| A3 | OG | 1732 | Electronic Control Unit 12-Volt Reference 3 |
| A4 | TN | 294 | Door Lock Actuator Unlock Control |
| A5 | - | - | Not Used |
| A6 | RD/WH | 740 | Battery Positive Voltage |
| A7 | RD/WH | 240 | Battery Positive Voltage |
| A8 | RD/WH | 1040 | Battery Positive Voltage |
| A9 | YE | 18 | Left Rear Stop/Turn Lamp Supply Voltage |
| A10 | BN/WH | 156 | Courtesy Lamp Switch Signal |
| A11 | - | - | Not Used |
| A12 | D-GN | 19 | Right Rear Stop/Turn Lamp Supply Voltage |
| B1-B2 | - | - | Not Used |
| B3 | RD/WH | 1240 | Battery Positive Voltage (Export) |
| B4 | - | - | Not Used |
| B5 | PK | 3 | Run/Crank Ignition 1 Voltage |
| B8-B11 | - | - | Not Used |
| B12 | PK | 5722 | Ignition Mode Switch LED Supply Voltage |
| C3 | PK | 1139 | Ignition 1 Voltage |
| PK | 1139 | Ignition 1 Voltage | |
| C4 | - | - | Not Used |
| C5 | PK | 839 | Ignition 1 Voltage |
| C8-C12 | - | - | Not Used |
| D1 | RD/BK | 242 | Battery Positive Voltage |
| D3 | PK | 1139 | Ignition 1 Voltage |
| PK | 1139 | Ignition 1 Voltage | |
| D4 | RD/WH | 1340 | Battery Positive Voltage |
| RD/WH | 1340 | Battery Positive Voltage | |
| D5 | - | - | Not Used |
| D6 | RD/BK | 242 | Battery Positive Voltage |
| D7 | RD/WH | 840 | Battery Positive Voltage |
| D8 | - | - | Not Used |
| D9 | L-GN | 24 | Backup Lamp Supply Voltage |
| L-GN | 24 | Backup Lamp Supply Voltage | |
| D10 | RD/WH | 640 | Battery Positive Voltage |
| D11 | RD/WH | 540 | Battery Positive Voltage |
| D12 | RD/WH | 1740 | Battery Positive Voltage |
Body Control Module (BCM) C4 Identification View
| Connector Part Information |
|
||
|---|---|---|---|
| Pin | Wire Color | Circuit No. | Function |
| A1 | - | - | Not Used |
| A2 | WH | 156 | Courtesy Lamp Switch Signal |
| WH | 156 | Courtesy Lamp Switch Signal | |
| A3 | BK/L-GN | 24 | Backup Lamp Supply Voltage |
| A4-A12 | - | - | Not Used |
| B1-B9 | - | - | Not Used |
| B10 | PK | 1439 | Ignition 1 Voltage |
| B11-B12 | - | - | Not Used |
| C1 | RD/WH | 140 | Battery Positive Voltage |
| RD/WH | 140 | Battery Positive Voltage | |
| C2-C3 | - | - | Not Used |
| C4 | WH | 17 | Stop Lamp Switch Signal |
| C5 | - | - | Not Used |
| C8 | PK | 3 | Run/Crank Ignition 1 Voltage |
| C9 | - | - | Not Used |
| C10 | PK | 739 | Ignition 1 Voltage |
| PK | 739 | Ignition 1 Voltage | |
| C11-C12 | - | - | Not Used |
| D1 | RD/WH | 340 | Battery Positive Voltage |
| RD/WH | 340 | Battery Positive Voltage | |
| D2 | - | - | Not Used |
| D3 | PK | 3 | Run/Crank Ignition 1 Voltage |
| D4 | L-BU | 20 | Stop Lamp Supply Voltage |
| D5 | OG | 1732 | Electronic Control Unit 12-Volt Reference (3) |
| OG | 1732 | Electronic Control Unit 12-Volt Reference (3) | |
| D8 | PK | 639 | Ignition 1 Voltage |
| D9 | - | - | Not Used |
| D10 | RD/WH | 1140 | Battery Positive Voltage |
| RD/WH | 1140 | Battery Positive Voltage | |
| D11-D12 | - | - | Not Used |
| E1 | RD/WH | 440 | Battery Positive Voltage |
| E2-E4 | - | - | Not Used |
| E5 | OG | 1732 | Electronic Control Unit 12-Volt Reference (3) |
| E6 | RD/WH | 740 | Battery Positive Voltage |
| RD/WH | 740 | Battery Positive Voltage | |
| E7 | - | - | Not Used |
| E8 | PK | 1039 | Ignition 1 Voltage |
| E9 | - | - | Not Used |
| E10 | RD/WH | 1240 | Battery Positive Voltage |
| E11 | - | - | Not Used |
| E12 | BK | 1550 | Ground |
| F1 | RD/WH | 240 | Battery Positive Voltage |
| RD/WH | 240 | Battery Positive Voltage (Export) | |
| F2-F4 | - | - | Not Used |
| F5 | RD/WH | 1040 | Battery Positive Voltage (Export) |
| F6-F8 | - | - | Not Used |
| F9 | RD/WH | 3140 | Battery Positive Voltage (Export) |
| F10-F12 | - | - | Not Used |