LEMON Manuals: Even more car manuals for everyone: 1960-2025
Home >> Cadillac >> 2004 >> XLR >> Repair and Diagnosis >> Body & Frame >> Windows >> Door System, Mirror System & Window System >> Component Locator >> Power Door Systems Connector End Views
April 5, 2026: LEMON Manuals is launched! Read the announcement.

Power Door Systems Connector End Views

Door Handle Switch - Driver Exterior Connector End View

GM38608Courtesy of GENERAL MOTORS CORP.
Connector Part Information
  • OEM: 12162190
  • Service: 12126487
  • 4-Way F Metri-Pack 150.2 Series, Sealed, Pull To Seat (BK)
Pin Wire Color Circuit No. Function
A L-GN 394 Left Front Exterior Door Handle Switch Signal
B - - Not Used
C BK 1450 Ground
D D-BU 5882 Left Front Exterior Door Handle Switch Signal
Door Handle Switch - Passenger Exterior Connector End View

GM38608Courtesy of GENERAL MOTORS CORP.
Connector Part Information
  • OEM: 12162190
  • Service: 12126487
  • 4-Way F Metri-Pack 150.2 Series, Sealed, Pull To Seat (BK)
Pin Wire Color Circuit No. Function
A L-BU 395 Right Front Exterior Door Handle Switch Signal
B - - Not Used
C BK 1550 Ground
D PK 5879 Right Front Exterior Door Handle Switch Signal
Door Handle Switch - Driver Interior Connector End View

GM646420Courtesy of GENERAL MOTORS CORP.
Connector Part Information
  • OEM: 15332135
  • Service: 15306414
  • 4-Way F GT 150 (BK)
Pin Wire Color Circuit No. Function
A BK 1450 Ground
B OR 5880 Left Front Interior Door Handle Switch Signal
C BN 5881 Left Front Interior Door Handle Switch Signal
D GY 1359 LCD Backlighting Lamp Control
Door Handle Switch - Passenger Interior Connector End View

GM646420Courtesy of GENERAL MOTORS CORP.
Connector Part Information
  • OEM: 15332135
  • Service: 15306414
  • 4-Way F GT 150 (BK)
Pin Wire Color Circuit No. Function
A BK 1550 Ground
B PU 5877 Right Front Interior Door Handle Switch Signal
C GY 5878 Right Front Interior Door Handle Switch Signal
D GY 1359 LCD Backlighting Lamp Control
Door Latch - Driver Connector End View

GM845631Courtesy of GENERAL MOTORS CORP.
Connector Part Information
  • OEM: 10768367
  • Service: 88986248
  • 10-Way F Sealed (BK)
Pin Wire Color Circuit No. Function
1 BN 5131 Deadbolt Lock Control (Europe)
2 D-GN 5664 Deadbolt Unlock Control (Europe)
3 TN 694 Driver Door Latch Control
4 L-GN/BK 5703 Driver Door Latch Enable Control
5 - - Not Used
6 GY/BK 745 Left Front Door Ajar Switch Signal
7 TN 126 Left Front Door Open Switch Signal
8 BK 1150 Ground
9-10 - - Not Used
Door Latch - Front Passenger Connector End View

GM845631Courtesy of GENERAL MOTORS CORP.
Connector Part Information
  • OEM: 10768367
  • Service: 88986248
  • 10-Way F Sealed (BK)
Pin Wire Color Circuit No. Function
1 TN/WH 746 Right Front Door Ajar Switch Signal
2 L-GN 1177 Right Front Door Open Switch Signal
3 BK 750 Ground
4-5 - - Not Used
6 BN 5131 Deadbolt Lock Control (Europe)
7 D-GN 5664 Deadbolt Unlock Control (Europe)
8 TN 294 Front Passenger Door Latch Control
9 D-BU 5876 Front Passenger Door Latch Enable Control
10 - - Not Used
Door Lock Indicator - Driver Connector End View

GM258301Courtesy of GENERAL MOTORS CORP.
Connector Part Information
  • OEM: 15428725
  • Service: 12085481
  • 2-Way M Micro-Pack 100 Series (BK)
Pin Wire Color Circuit No. Function
A PU/WH 5965 Driver Door Lock Indicator Voltage
B BK 1450 Ground
Door Lock Indicator - Passenger Connector End View

GM258301Courtesy of GENERAL MOTORS CORP.
Connector Part Information
  • OEM: 15428725
  • Service: 12085481
  • 2-Way M Micro-Pack 100 Series (BK)
Pin Wire Color Circuit No. Function
A PU/WH 5967 Passenger Door Lock Indicator Voltage
B BK 1550 Ground
Door Lock Switch - Driver Connector End View

GM130714Courtesy of GENERAL MOTORS CORP.
Connector Part Information
  • OEM: 12124997
  • Service: 12167130
  • 5-Way F Micro-Pack 100 Series (BK)
Pin Wire Color Circuit No. Function
A GY 1359 LCD Backlighting Lamp Control
B - - Not Used
C BK 1450 Ground
D OR/BK 780 Driver Door Lock Switch Lock Signal
E OR/BK 781 Driver Door Lock Switch Unlock Signal
Door Lock Switch - Front Passenger Connector End View

GM130714Courtesy of GENERAL MOTORS CORP.
Connector Part Information
  • OEM: 12124997
  • Service: 12167130
  • 5-Way F Micro-Pack 100 Series (BK)
Pin Wire Color Circuit No. Function
A GY 1359 LCD Backlighting Lamp Control
B - - Not Used
C BK 1550 Ground
D L-BU 244 Passenger Door Lock Switch Lock Signal
E D-BU 245 Passenger Door Lock Switch Unlock Signal
Driver Door Module (DDM) Connector End View

GM1362568Courtesy of GENERAL MOTORS CORP.
Connector Part Information
  • OEM: 15398932
  • Service: 88953333
  • 29-Way F (BK)
Pin Wire Color Circuit No. Function
1 L-GN 89 Driver Mirror Motor Down Control
2 WH 81 Driver Mirror Motor Right Control
3 L-BU 82 Driver Mirror Motor Left Control
4 GY 788 5-Volt Reference
5 GY/BK 786 Driver Mirror Horizontal Position Sensor Signal
6 D-GN 784 Driver Mirror Vertical Position Sensor Signal
7-9 - - Not Used
10 BK 1450 Ground
11 YE 88 Driver Mirror Motor Up Control
12 OR 267 Heated Mirror Element Supply Voltage
13 L-GN 5116 Courtesy Lamp Supply Voltage
14-18 - - Not Used
19 BN 1046 DDM Class 2 Serial Data
20 RD/WH 1440 Battery Positive Voltage
21 BN 5131 Door Lock Actuator Deadbolt Control Lock (Europe)
22 D-GN 5664 Door Lock Actuator Deadbolt Control Unlock (Europe)
23 GY 1359 LCD Backlighting Lamp Control
24 PU/WH 5965 Driver Door Lock Indicator Voltage
25 D-BU 5882 Left Front Exterior Door Handle Switch Signal
26 BN 5881 Left Front Interior Door Handle Switch Signal
27-28 - - Not Used
29 TN 782 Memory Seat/Mirror Sensor Low Reference
Front Passenger Door Module (FPDM) Connector End View

GM1362568Courtesy of GENERAL MOTORS CORP.
Connector Part Information
  • OEM: 15398932
  • Service: 88953333
  • 29-Way F (BK)
Pin Wire Color Circuit No. Function
1 L-BU 5023 Passenger Folding Mirror Motor Retract Control (Europe)
2 OR 267 Heated Mirror Element Supply Voltage
3 YE 5004 Passenger Folding Mirror Motor Extend Control (Europe)
4 GY 1359 LCD Backlighting Lamp Control
5 L-BU/BK 785 Passenger Mirror Horizontal Position Sensor Signal
6 BN 787 Passenger Mirror Vertical Position Sensor Signal
7 TN 1300 Power Window Motor Front Passenger Up Signal
8 GY 1136 Power Window Motor Front Passenger Down Signal
9 - - Not Used
10 BK 1550 Ground
11 GY 90 Passenger Mirror Motor Left Control
12 L-GN 89 Passenger Mirror Motor Down Control
13 BN/WH 1498 Passenger Mirror Motor Up Control
14 L-BU 244 Passenger Door Lock Switch Lock Control
15 D-BU 245 Passenger Door Lock Switch Unlock Control
16 PU 2765 Power Window Switch Right Front Express Signal
17-18 - - Not Used
19 TN 1047 PDM Class 2 Serial Data
20 RD/WH 1440 Battery Positive Voltage
21 OR/WH 881 Passenger Mirror Motor Right Control
22 GY 788 5-Volt Reference
23 D-BU 5117 Courtesy Lamp Supply Voltage
24 PU/WH 5967 Passenger Door Lock Indicator Voltage
25 PK 5879 Right Front Exterior Door Handle Switch Signal
26 GY 5878 Right Front Interior Door Handle Switch Signal
27-28 - - Not Used
29 TN 782 Memory Seat/Mirror Sensor Low Reference
Driver Door Switch Assembly (DDSA) Connector End View

GM62435Courtesy of GENERAL MOTORS CORP.
Connector Part Information
  • OEM: 12047531
  • Service: 12085486
  • 10-Way F Micro-Pack 100 Series (BK)
Pin Wire Color Circuit No. Function
1-4 - - Not Used
5 GY 1359 LCD Backlighting Lamp Control
6 OR/BK 781 Driver Door Lock Switch Unlock Signal
7 OR/BK 780 Driver Door Lock Switch Lock Signal
8 BK 1450 Ground
9 RD/WH 340 Battery Positive Voltage
10 BN 1046 DDM Class 2 Serial Data
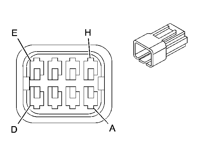
Outside Rearview Mirror - Driver C1 Connector End View

GM894483Courtesy of GENERAL MOTORS CORP.
Connector Part Information
  • OEM: 12084256
  • Service: 12101827
  • 8-Way M Metri-Pack 150 Series (BK)
Pin Wire Color Circuit No. Function
A YE 88 Driver Mirror Motor Up Control
B BK 1450 Ground
C L-GN 89 Driver Mirror Motor Down Control
D GY 1690 Automatic Day/Night Mirror Signal
E OG 267 Heated Mirror Element Supply Voltage
F WH 81 Driver Mirror Motor Right Control
G PK 1691 Automatic Day/Night Mirror Low Reference
H L-BU 82 Driver Mirror Motor Left Control
Outside Rearview Mirror - Driver C2 Connector End View

GM894483Courtesy of GENERAL MOTORS CORP.
Connector Part Information
  • OEM: 12162427
  • Service: 12162427
  • 8-Way M Metri-Pack 150 Series (WH)
Pin Wire Color Circuit No. Function
A GY 788 5-Volt Reference
B D-GN 784 Driver Mirror Vertical Position Sensor Signal
C TN 782 Memory Seat/Mirror Sensor Low Reference
D GY 786 Driver Mirror Horizontal Position Sensor Signal
E YE 190 Driver Folding Mirror Motor Extend Control (Europe)
F L-BU 191 Driver Folding Mirror Motor Retract Control (Europe)
G-H - - Not Used
Outside Rearview Mirror - Passenger C1 Connector End View

GM894483Courtesy of GENERAL MOTORS CORP.
Connector Part Information
  • OEM: 12084256
  • Service: 12101827
  • 8-Way M Metri-Pack 150 Series (BK)
Pin Wire Color Circuit No. Function
A BN/WH 1498 Passenger Mirror Motor Up Control
B BK 1550 Ground
C L-GN 89 Passenger Mirror Motor Down Control
D - - Not Used
E OG 267 Heated Mirror Element Supply Voltage
F OG/WH 881 Passenger Mirror Motor Right Control
G - - Not Used
H GY 90 Passenger Mirror Motor Left Control
Outside Rearview Mirror - Passenger C2 Connector End View

GM894483Courtesy of GENERAL MOTORS CORP.
Connector Part Information
  • OEM: 12162427
  • Service: 12162427
  • 8-Way M Metri-Pack 150 Series (WH)
Pin Wire Color Circuit No. Function
A GY 788 5-Volt Reference
B BN 787 Passenger Mirror Vertical Position Sensor Signal
C TN 782 Memory Seat/Mirror Sensor Low Reference
D L-BU/BK 786 Passenger Mirror Horizontal Position Sensor Signal
E YE 5004 Passenger Folding Mirror Motor Extend Control (Europe)
F L-BU 5023 Passenger Folding Mirror Motor Retract Control (Europe)
G-H - - Not Used
Window Switch - Front Passenger Connector End View

GM258172Courtesy of GENERAL MOTORS CORP.
Connector Part Information
  • OEM: 12064982
  • Service: 12102633
  • 5-Way F Micro-Pack 100 Series (BK)
Pin Wire Color Circuit No. Function
1 TN 1300 Power Window Motor Front Passenger Up Signal
2 GY 1136 Power Window Motor Front Passenger Down Signal
3 PU 2765 Power Window Switch Right Front Express Signal
4 BK 1550 Ground
5 GY 1359 LCD Backlighting Lamp Control