LEMON Manuals: Even more car manuals for everyone: 1960-2025
Home >> Cadillac >> 2005 >> CTS V >> Repair and Diagnosis >> Engine Performance >> System >> Engine Controls - 5.7L - Introduction >> Repair Instructions >> Fuel Injector Replacement >> Installation Procedure
April 5, 2026: LEMON Manuals is launched! Read the announcement.

Installation Procedure

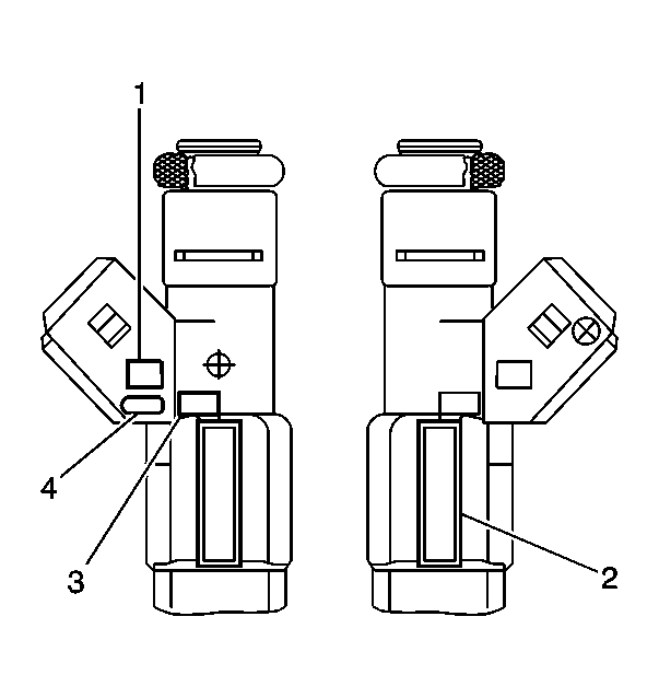
    Fig 1: Locating Fuel Injector Assembly Identification, Manufacturing Date And Week Code Part Number
    GM69058Courtesy of GENERAL MOTORS CORP.
    IMPORTANT: When ordering new fuel injectors, be sure to order the correct injector for the application being serviced.
  1. The fuel injector assembly is stamped with a part number identification (2), a manufacturing date (3), a week code (1), and a production plant number (4).

    Inspect the new injectors in order to ensure installation of the correct part.

  2. Fig 2: View Of Fuel Injector
    GM217114Courtesy of GENERAL MOTORS CORP.
  3. Lubricate the new injector O-ring seals with clean engine oil.
  4. Install the new injector O-ring seals on the injector.
  5. Install a new retainer clip on the injector.
  6. Push the fuel injector into the fuel rail injector socket with the electrical connector facing outward.
  7. Fig 3: Fuel Rail Assembly & Bolts
    GM222050Courtesy of GENERAL MOTORS CORP.
  8. Install the fuel rail assembly. Refer to Fuel Rail Assembly Replacement .
  9. Tighten the fuel filler cap.
  10. Connect the negative battery cable. Refer to Battery Negative Cable Disconnect/Connect Procedure in Engine Electrical.
  11. Inspect for leaks.
    1. Turn the ignition switch ON for 2 seconds.
    2. Turn the ignition switch OFF for 10 seconds.
    3. Turn the ignition switch ON.
    4. Inspect for fuel leaks.