LEMON Manuals: Even more car manuals for everyone: 1960-2025
Home >> Cadillac >> 2005 >> DeVille DHS >> Repair and Diagnosis >> Engine Performance >> System >> Engine Controls - Introduction >> Repair Instructions >> Accelerator Controls Pedal Replacement >> Installation Procedure
April 5, 2026: LEMON Manuals is launched! Read the announcement.

Installation Procedure

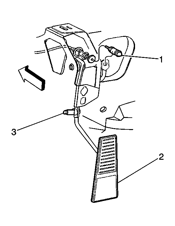
    Fig 1: Removing/Installing Accelerator Pedal
    GM65341Courtesy of GENERAL MOTORS CORP.
  1. Install the accelerator control pedal (2) to the brake and accelerator controls pedal assembly.
  2. Install the plastic retainer inside the accelerator controls pedal.
  3. Install the clip onto the accelerator controls pedal.
  4. Install the accelerator control cable (1) to the pedal by pulling the accelerator controls pedal straight out and down towards the top of the accelerator control pedal.
    IMPORTANT: The throttle should operate freely without binding between full closed and wide open throttle.
  5. Check for complete throttle opening and closing positions by operating the accelerator controls pedal. Also check for poor carpet fit under the accelerator controls pedal.
  6. Install the left closeout/insulator panel replacement. Refer to Closeout/Insulator Panel Replacement - Left in instrument Panel, Gauges, and Console.