LEMON Manuals: Even more car manuals for everyone: 1960-2025
Home >> Cadillac >> 2005 >> DeVille Protection Series >> Repair and Diagnosis >> External Pages >> Different car >> Section 19 (Antilock Brake System, Traction Control System & Stability Control System) >> Schematic and Routing Diagrams >> ABS Schematics
April 5, 2026: LEMON Manuals is launched! Read the announcement.

ABS Schematics

WARNING: This page is about a different car, the 2004 Cadillac DeVille. However, it is still accessible from the selected car via links, so may be relevant.
Fig 1: Power, Ground, Stop Lamp Switch, Solenoid Valves and Pump Motor Schematic
GM809201Courtesy of GENERAL MOTORS CORP.
Fig 2: Wheel Speed Sensors Schematic
GM809209Courtesy of GENERAL MOTORS CORP.
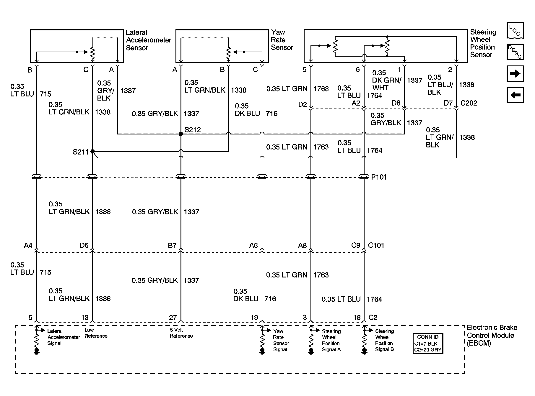
Fig 3: Vehicle Stability Enhancement System Schematic (w/JL4)
GM809213Courtesy of GENERAL MOTORS CORP.
Fig 4: Suspension Inputs, Class 2, Traction Control, Variable Effort Steering Schematic
GM1232516Courtesy of GENERAL MOTORS CORP.
Fig 5: Indicators and Traction Control Switch Schematic
GM809223Courtesy of GENERAL MOTORS CORP.