LEMON Manuals: Even more car manuals for everyone: 1960-2025
Home >> Cadillac >> 2005 >> Escalade EXT >> Repair and Diagnosis (Single Page) >> Brakes >> Antilock Brake System, Traction Control System & Stability Control System >> Repair Instructions >> Electronic Brake Control Module Replacement (w/o JL4) >> Installation Procedure
April 5, 2026: LEMON Manuals is launched! Read the announcement.

Installation Procedure

IMPORTANT: Do not reuse the old mounting screws. Always install new mounting screws with the new EBCM.
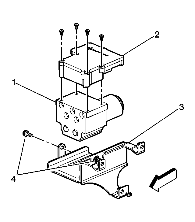
    Fig 1: Exploded View Of EBCM & BPMV Components (w/o JL4)
    GM379484Courtesy of GENERAL MOTORS CORP.
    IMPORTANT: Do not use RTV or any other type of sealant on the EBCM gasket or mating surfaces.
  1. Install the EBCM (2) on to the BPMV (1).
  2. NOTE: Refer to Fastener Notice in Cautions and Notices.
  3. Install the four new screws in the EBCM (2).

    Tighten:  Tighten the four screws to 5 N.m (39 lb in) in an X-pattern.

  4. Fig 2: View Of EBCM/EHCU Assembly
    GM379478Courtesy of GENERAL MOTORS CORP.
  5. Install or tighten three EHCU bracket mounting bolts (4).

    Tighten:  Tighten the EHCU bracket mounting bolts to 25 N.m (18 lb ft).

  6. Connect the electrical connectors to the EBCM (1).
  7. Lower the vehicle.
  8. Connect the negative battery cable.
  9. Revise the tire calibration using the Scan Tool Tire Size Calibration function.
  10. Return to Diagnostic Starting Point - Antilock Brake System .