LEMON Manuals: Even more car manuals for everyone: 1960-2025
Home >> Cadillac >> 2005 >> Escalade EXT >> Repair and Diagnosis (Single Page) >> Electrical >> Body Electrical >> OEM Connector End Views - Abs, Adjustable Pedals, Automatic Level Control Suspension, Automatic Transmission, Shift Lock Control, Body Rear End, Cellular Communication, Computer/Integrating Systems, Cooling System, Cruise Control >> Automatic Transmission Shift Lock Control Connector End Views >> Transmission Shift Lock Control Actuator Connector End View
April 5, 2026: LEMON Manuals is launched! Read the announcement.

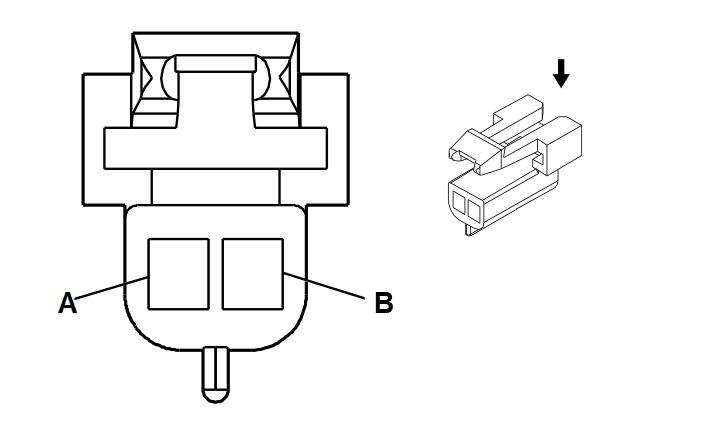
Transmission Shift Lock Control Actuator Connector End View

Transmission Shift Lock Control Actuator Connector End View

GM280768Courtesy of GENERAL MOTORS CORP.
Connector Part Information
  • 12052832
  • 2-Way F Metri-Pack 150 Series (BK)
Pin Wire Color Circuit No. Function
A D GN/WH 1135 A/T Shift Lock Control Solenoid Supply Voltage
B BK 1850 Ground