LEMON Manuals: Even more car manuals for everyone: 1960-2025
Home >> Cadillac >> 2005 >> Escalade EXT >> Repair and Diagnosis (Single Page) >> Electrical >> Body Electrical >> OEM Connector End Views - Abs, Adjustable Pedals, Automatic Level Control Suspension, Automatic Transmission, Shift Lock Control, Body Rear End, Cellular Communication, Computer/Integrating Systems, Cooling System, Cruise Control >> Computer/Integrating Systems Connector End Views >> Body Control Module (BCM) Connector End Views
April 5, 2026: LEMON Manuals is launched! Read the announcement.

Body Control Module (BCM) Connector End Views

Body Control Module (BCM) - C1

GM40446Courtesy of GENERAL MOTORS CORP.
Connector Part Information
  • 12177194
  • 6-Way F Metri-Pack 150 Series (NA)
Pin Wire Color Circuit No. Function
A RD 2353 Instrument Panel Lamps Dimming Supply Voltage
B PU/WH 1382 LED Dimming Signal
C OG 4040 Battery Positive Voltage
D OG 1732 Inadvertent Power Courtesy Lamps Supply Voltage
E BN/WH 230 Instrument Panel Lamps Dimming Control
F OG 2240 Battery Positive Voltage
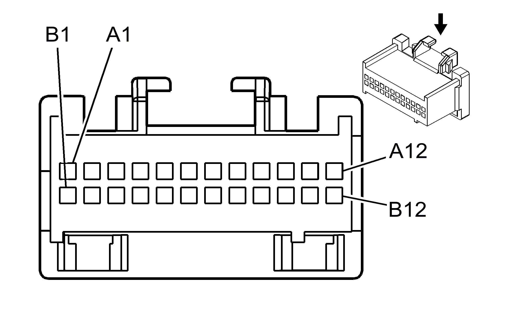
Body Control Module (BCM) - C2

GM73156Courtesy of GENERAL MOTORS CORP.
Connector Part Information
  • 12110088
  • 24-Way F Micro-Pack 100 Series (GY)
Pin Wire Color Circuit No. Function
A1 - - Not Used
A2 D BU 1796 Steering Wheel Radio Controls Supply Voltage
A3 TN/BK 254 Rear Door Unlock Relay Control
A4 PK/WH 1970 Headlamp Low Beam Relay Control
A5 D GN/WH 1317 Fog Lamp Relay Control
A6 GY/BK 255 Rear Door Lock Relay Control
A7 - - Not Used
A8 WH 193 Rear Defog Relay Control
A9-A10 - - Not Used
A11 RD/WH 812 12-Volt Reference
A12 OG 1140 Battery Positive Voltage
B1 BK/WH 1969 Headlamp High Beam Relay Control
B2 WH 1080 Park Lamp Relay Control
B3 D BU 1353 RAP Supply Voltage
B4 L GN/BK 592 DRL Relay Control
B5 PU 359 DRL Off Indicator Control
YE 1977 Rear Fog Lamp Relay Control (Export)
B6 BK/WH 1851 Ground
B7 BK 1835 Security System Sensor Low Reference
B8 PK 1348 Headlamp On Indicator Control
B9 BK 28 Horn Relay Control
B10 WH 1304 Liftgate Lock Relay Control (w/E52)
B11 GY 1056 Dimmer Switch 5-Volt Reference Voltage
B12 L GN 1037 BCM Class 2 Serial Data
Body Control Module (BCM) - C3

GM255037Courtesy of GENERAL MOTORS CORP.
Connector Part Information
  • 12160778
  • 24-Way F Micro-Pack 100 Series (BN)
Pin Wire Color Circuit No. Function
A1-A3 - - Not Used
A4 WH 278 Ambient Light Sensor Signal
A5 GY 1548 Passenger Sunload Sensor Signal (w/CJ2)
A6 YE 1836 Security System Sensor Signal
- - Not Used (Export)
A7 L GN 1011 Remote Radio Control Signal
A8 D GN 588 DRL Switch Signal
A9 OG 192 Front Fog Lamp Switch Signal
A10 - - Not Used
A11 PU 328 Interior Lamp Defeat Switch Signal
A12 - - Not Used
B1 - - Not Used
B2 GY/BK 308 Park Lamp Switch Signal
B3-B4 - - Not Used
B5 L BU/BK 590 Driver Sunload Sensor Signal (w/CJ2)
B6 BK/WH 1851 Ground
B7 L BU 1059 Steering Wheel Position Sensor Signal (NYS, JL4)
B8 OG/BK 2090 Dimming Switch Signal
B9 L GN 11 Headlamp Dimmer Switch Signal
B10 L BU 187 Rear Fog Lamp Indicator Control (Export)
- - Not Used
B11 L BU 553 Tow/Haul Switch Signal
B12 - - Not Used
Body Control Module (BCM) - C4

GM130690Courtesy of GENERAL MOTORS CORP.
Connector Part Information
  • 12110206
  • 24-Way F Micro-Pack 100 Series (L BU)
Pin Wire Color Circuit No. Function
A1 L GN 80 Key In Ignition Switch Signal
A2 YE 307 Headlamp Switch Flash to Pass Signal
A3 WH 530 Off/Run/Crank Voltage
A4 PK 39 Ignition 1 Voltage
A5 - - Not Used
A6 D BU/WH 149 Cargo Lamp Low Control (Avalanche/Escalade EXT)
- - Not Used
A7 L BU 1134 Park Brake Switch Signal
A8 GY 1524 Backup Lamp Signal
A9-A11 - - Not Used
A12 WH 103 Headlamp Switch Headlamps On Signal
B1-B2 - - Not Used
B3 YE 43 Accessory Voltage
B4-B5 - - Not Used
B6 GY/BK 2226 Instrument Panel Lamps Dimmer Switch Low Reference
B7 BK 279 Ambient Light Sensor Low Reference
B8 - - Not Used
B9 D BU/WH 1495 Courtesy Lamps On Signal
B10-B12 - - Not Used
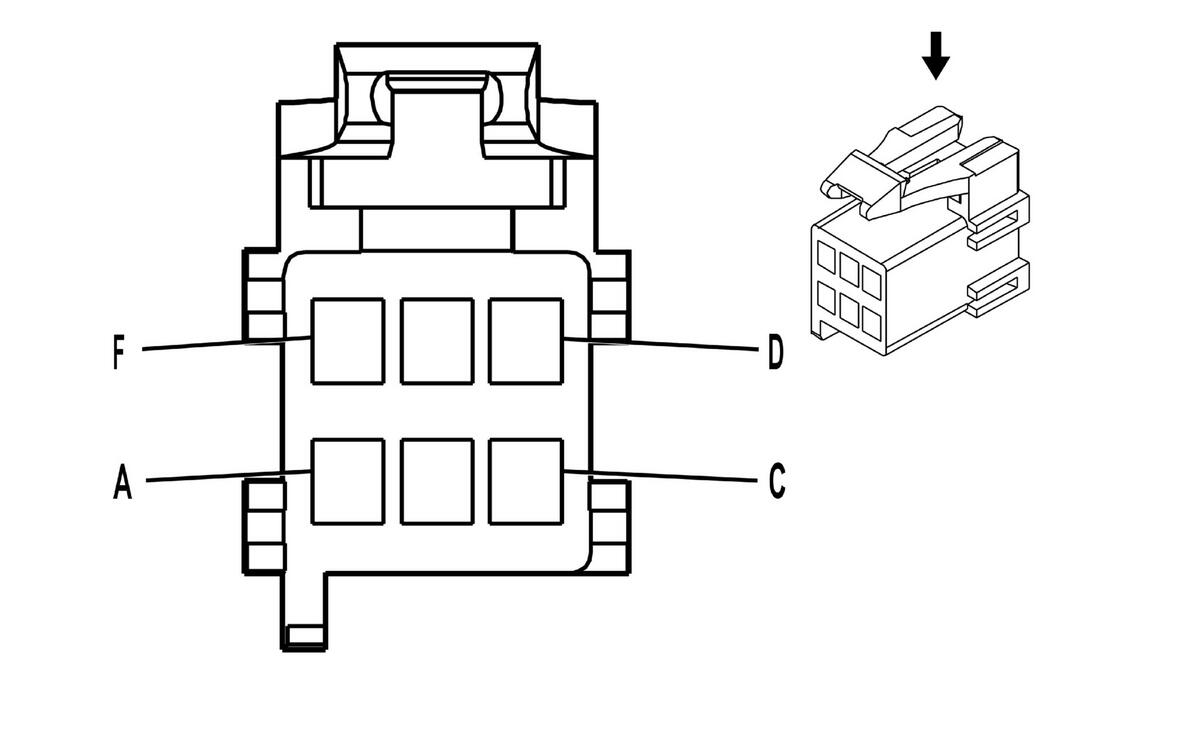
Body Control Module (BCM) - C5

GM304345Courtesy of GENERAL MOTORS CORP.
Connector Part Information
  • 12177195
  • 6-Way F Metri-Pack 150 Series (BK)
Pin Wire Color Circuit No. Function
A-C - - Not Used
D OG 2140 Battery Positive Voltage
E GY/BK 690 Courtesy Lamp Control
F L GN 24 Backup Lamp Supply Voltage
Body Control Module (BCM) - C6

GM362758Courtesy of GENERAL MOTORS CORP.
Connector Part Information
  • 12191375
  • 16-Way F Micro-Pack 100 Series (PU)
Pin Wire Color Circuit No. Function
A1 PK/BK 1303 Liftgate Ajar Switch Signal (ZW9)
A2 L GN/BK 748 Right Rear Door Ajar Switch Signal
A3 L BU/BK 747 Left Rear Door Ajar Switch Signal
A4 - - Not Used
A5 L BU 2265 Power Window Lockout Left Rear Control
A6 L GN 2266 Power Window Lockout Right Rear Control
A7 GY/BK 1186 Power Window Relay Right Rear Up Control
A8 D GN 1188 Power Window Relay Right Rear Down Control
B1 L BU 2380 Rear Parking Assist Chime Signal
B2-B6 - - Not Used
B7 YE 1187 Power Window Relay Left Rear Down Control
B8 WH 1185 Power Window Relay Left Rear Up Control