LEMON Manuals: Even more car manuals for everyone: 1960-2025
Home >> Cadillac >> 2005 >> Escalade EXT >> Repair and Diagnosis (Single Page) >> Electrical >> Wiring Diagrams >> OEM Connector End Views - Instrument Panel, Gages, Console, Lighting Systems, Power And Grounding, Power Door Systems, Power Outlet, Power Roof Systems, Power Seat Systems, Powertrain Control Module (Pcm), Rear Parking Assist >> Instrument Panel, Gages, and Console Connector End Views >> Coolant Level Switch Connector End Views
April 5, 2026: LEMON Manuals is launched! Read the announcement.

Coolant Level Switch Connector End Views

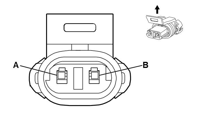
Coolant Level Switch - 8.1L

GM655783Courtesy of GENERAL MOTORS CORP.
Connector Part Information
  • 15324243
  • 2-Way F Metri-Pack 150 Series (GY)
Pin Wire Color Circuit No. Function
A L GN 1478 Coolant Level Switch Signal
B BK 550 Ground
Coolant Level Switch - Except 8.1L

GM537107Courtesy of GENERAL MOTORS CORP.
Connector Part Information
  • 12052644
  • 2-Way F Metri-Pack 150 Series (GY)
Pin Wire Color Circuit No. Function
A L GN 1478 Coolant Level Switch Signal
B BK 550 Ground