LEMON Manuals: Even more car manuals for everyone: 1960-2025
Home >> Cadillac >> 2005 >> Escalade EXT >> Repair and Diagnosis (Single Page) >> Electrical >> Wiring Diagrams >> OEM Connector End Views - Instrument Panel, Gages, Console, Lighting Systems, Power And Grounding, Power Door Systems, Power Outlet, Power Roof Systems, Power Seat Systems, Powertrain Control Module (Pcm), Rear Parking Assist >> Lighting Systems Connector End Views >> Cargo Lamp Assembly Connector End Views
April 5, 2026: LEMON Manuals is launched! Read the announcement.

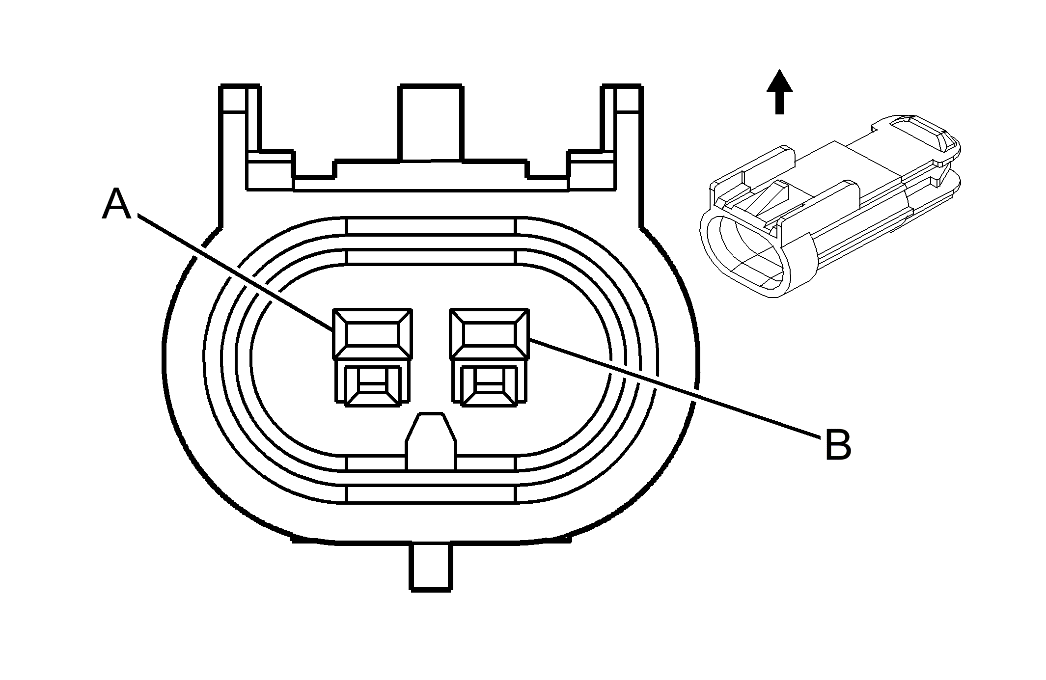
Cargo Lamp Assembly Connector End Views

Cargo Lamp Assembly - Driver (Avalanche and Escalade EXT Only)

GM632349Courtesy of GENERAL MOTORS CORP.
Connector Part Information
  • 15326806
  • 2-Way F GT 150 Series Sealed (BK)
Pin Wire Color Circuit No. Function
A OG 1732 Inadvertent Power Supply Voltage
B D BU/WH 149 Cargo Lamp Low Control
Cargo Lamp Assembly - Passenger (Avalanche and Escalade EXT Only)

GM632349Courtesy of GENERAL MOTORS CORP.
Connector Part Information
  • 15326806
  • 2-Way F GT 150 Series Sealed (BK)
Pin Wire Color Circuit No. Function
A OG 1732 Inadvertent Power Supply Voltage
B D BU/WH 149 Cargo Lamp Low Control