LEMON Manuals: Even more car manuals for everyone: 1960-2025
Home >> Cadillac >> 2005 >> Escalade EXT >> Repair and Diagnosis (Single Page) >> Electrical >> Wiring Diagrams >> OEM Connector End Views - Rear Wheel Steering, Seat Belt, Sir, Splice Pack, Stationary Windows, Suspension Controls, Theft Deterrent System, Transfer Case Control, Wiper/Washer System >> Suspension Controls Connector End Views >> Electronic Suspension Control (ESC) Module Connector End Views
April 5, 2026: LEMON Manuals is launched! Read the announcement.

Electronic Suspension Control (ESC) Module Connector End Views

Electronic Suspension Control (ESC) Module - C1

GM73158Courtesy of GENERAL MOTORS CORP.
Connector Part Information
  • 12110626
  • 8-Way F Metri-Pack 280 Series (GY)
Pin Wire Color Circuit No. Function
A L BU/WH 1116 Right Front Suspension Damper Solenoid Control
B D GN 1119 Right Rear Suspension Damper Solenoid Low Reference
C BK 2351 Ground
D OG 2440 Battery Positive Voltage
E BK 1450 Ground - Except Avalanche and Escalade EXT
BK 1250 Ground - Avalanche and Escalade EXT
F GY 1113 Left Front Suspension Damper Solenoid Low Reference
G GY 1117 Right Front Suspension Damper Solenoid Low Reference
H D GN 1115 Left Rear Suspension Damper Solenoid Low Reference
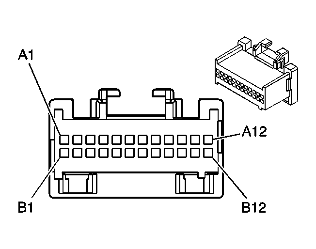
Electronic Suspension Control (ESC) Module - C2

GM130689Courtesy of GENERAL MOTORS CORP.
Connector Part Information
  • 12110244
  • 24-Way F Micro-Pack (PK)
Pin Wire Color Circuit No. Function
A1-A8 - - Not Used
A9 GY 416 5-Volt Reference
A10 L BU 2248 Real Time Damping Compressor Relay Control
A11 - - Not Used
A12 L BU/WH 1107 Left Front Suspension Damper Solenoid Control
B1 D BU/WH 1118 Right Rear Suspension Damper Solenoid Control
B2 WH 1765 Steering Wheel Position Marker Pulse Signal
B3 - - Not Used
B4 L BU 1764 Steering Wheel Position Signal B
B5 D BU 2249 Real Time Damping Compressor Exhaust Control
B6 L GN 1763 Steering Wheel Position Signal A
B7 - - Not Used
B8 D BU/WH 1126 SCM Class 2 Serial Data
B9 - - Not Used
B10 BK 407 Low Reference
B11-B12 - - Not Used
Electronic Suspension Control (ESC) Module - C3

GM130690Courtesy of GENERAL MOTORS CORP.
Connector Part Information
  • 121102206
  • 24-Way F Micro-Pack (L BU)
Pin Wire Color Circuit No. Function
A1 PK/WH 1101 Damping Lift/Dive Signal
A2 TN/WH 1207 Left Front Suspension Position Sensor Signal
A3 PU/WH 1205 Left Front Suspension Position Sensor Voltage Reference
A4 TN/WH 1213 Right Front Suspension Position Sensor Signal
A5 L GN/WH 1210 Left Rear Suspension Position Sensor Signal
A6 RD/BK 1208 Left Rear Suspension Position Sensor Voltage Reference
A7 L GN/WH 1216 Right Rear Suspension Position Sensor Signal
A8-A11 - - Not Used
A12 D BU/WH 1114 Left Rear Suspension Damper Solenoid Control
B1 BN 541 Ignition 3 Voltage
B2 L BU/BK 1206 Left Front Suspension Position Sensor Low Reference
B3 PU/WH 1211 Right Front Suspension Position Sensor Voltage Reference
B4 L BU/BK 1212 Right Front Suspension Position Sensor Low Reference
B5 L GN/BK 1209 Left Rear Suspension Position Sensor Low Reference
B6 RD/BK 1214 Right Rear Suspension Position Sensor Voltage Reference
B7 L GN/BK 1215 Right Rear Suspension Position Sensor Low Reference
B8-B10 - - Not Used
B11 TN 2252 Leveling Pressure Sensor Signal
B12 - - Not Used