LEMON Manuals: Even more car manuals for everyone: 1960-2025
Home >> Cadillac >> 2005 >> Escalade EXT >> Repair and Diagnosis (Single Page) >> Engine Performance >> Testing & Diagnosis >> Engine Control System - 4.8L, 5.3L & 6.0L - Introduction >> Component Locator >> Engine Controls Component Views
April 5, 2026: LEMON Manuals is launched! Read the announcement.

Engine Controls Component Views

Fig 1: Powertrain Control Module (PCM)
GM1542733Courtesy of GENERAL MOTORS CORP.
Callout Component Name
1 Fuse Block - Underhood
2 Battery - Left
3 Powertrain Control Module (PCM)
4 Battery - Right (8Y9/TP2)
Fig 2: Left Side Of Engine Component Views
GM1454817Courtesy of GENERAL MOTORS CORP.
Callout Component Name
1 Ignition Coil 1
2 Fuel Injector 1
3 Fuel Injector 3
4 Fuel Injector 5
5 Fuel Injector 7
6 Ignition Coil 7
7 Ignition Coil 5
8 Ignition Coil 3
9 Engine Coolant Temperature (ECT) Sensor
Fig 3: Right Side Of Engine Component Views
GM1454819Courtesy of GENERAL MOTORS CORP.
Callout Component Name
1 Ignition Coil 8
2 Fuel Injector 2 Connector
3 Fuel Injector 4
4 Ignition Coil 2
5 Ignition Coil 4
6 Fuel Injector 6
7 Ignition Coil 6
8 Fuel Injector 8
Fig 4: Top Of Engine Component Views
GM1454818Courtesy of GENERAL MOTORS CORP.
Callout Component Name
1 Manifold Absolute Pressure (MAP) Sensor
2 Throttle Body
3 Evaporative Emission (EVAP) Canister Purge Solenoid
Fig 5: View Of Knock Sensors
GM198593Courtesy of GENERAL MOTORS CORP.
Callout Component Name
1 Knock Sensor (KS) 1
2 Knock Sensor (KS) 2
Fig 6: HO2S 4.8L And 5.3L
GM334918Courtesy of GENERAL MOTORS CORP.
Callout Component Name
1 Bank 1 Sensor 2 HO2S
2 Bank 1 Sensor 1 HO2S
3 Bank 1 Sensor 1 HO2S Threaded Boss
4 Left Bank Catalytic Convertor
5 Bank 1 Sensor 2 HO2S Threaded Boss
6 Bank 2 Sensor 1 HO2S Threaded Boss
7 Right Side Frame Rail
8 Right Bank Catalytic Convertor
9 Bank 2 Sensor 2 HO2S Threaded Boss
10 Bank 2 Sensor 2 HO2S
11 Bank 2 Sensor 1 HO2S
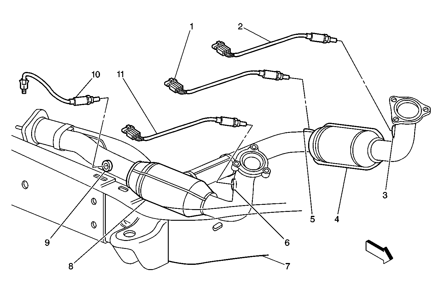
Fig 7: Heated Oxygen Sensors (HO2S) 6.0L
GM349194Courtesy of GENERAL MOTORS CORP.
Callout Component Name
1 Bank 2 Sensor 1 HO2S
2 Bank 1 Sensor 2 HO2S Threaded Boss
3 Right Side Frame Rail
4 Right Bank Catalytic Convertor
5 Bank 2 Sensor 2 HO2S
6 Bank 2 Sensor 2 HO2S Threaded Boss
7 Left Bank Catalytic Convertor
8 Bank 1 Sensor 2 HO2S
9 Bank 1 Sensor 1 HO2S Threaded Boss
10 Bank 1 Sensor 1 HO2S
11 Bank 2 Sensor 1 HO2S Threaded Boss
Fig 8: Fuel Pump And Sender Assembly - Primary
GM750151Courtesy of GENERAL MOTORS CORP.
Callout Component Name
1 Fuel Pump and Sender Assembly Connector
2 Fuel Pump and Sender Assembly - Primary
Fig 9: Fuel Pump And Sender Assembly - Secondary - W/Dual Tanks
GM750176Courtesy of GENERAL MOTORS CORP.
Callout Component Name
1 Fuel Pump and Sender Assembly-Secondary
2 Fuel Pump and Sender Assembly Connector
Fig 10: Fuel Pump Relay - Secondary - W/Dual Tanks
GM750178Courtesy of GENERAL MOTORS CORP.
Callout Component Name
1 Fuel Pump Relay-Secondary
Fig 11: Fuel Pump And Sender Assembly Components
GM830794Courtesy of GENERAL MOTORS CORP.
Callout Component Name
1 Fuel Pump and Sender Assembly
2 Fuel Tank Pressure (FTP) Sensor
3 Fuel Level Sensor
Fig 12: Fuel Composition Sensor - W/L59 Only
GM830773Courtesy of GENERAL MOTORS CORP.
Callout Component Name
1 Fuel Composition Sensor
Fig 13: Evaporative Emission (EVAP) Canister Vent Solenoid Component View
GM334914Courtesy of GENERAL MOTORS CORP.
Callout Component Name
1 Left Frame Rail
2 Evaporative Emissions (EVAP) Canister Vent Solenoid
3 Fuel Tank
4 Evaporative Emissions (EVAP) Canister
Fig 14: Air Induction Components
GM350034Courtesy of GENERAL MOTORS CORP.
Callout Component Name
1 Clamp
2 Air Duct
3 Clamp
4 Intake Air Temperature (IAT)/Mass Air Flow (MAF) Sensor
5 Air Cleaner Assembly
6 Air Restriction Indicator
Fig 15: Throttle Actuator Control (TAC) Module
GM750162Courtesy of GENERAL MOTORS CORP.
Callout Component Name
1 Throttle Actuator Control (TAC) Module
2 Throttle Actuator Control (TAC) Connector
3 Fuse Block-Underhood
Fig 16: Accelerator Pedal Position (APP) Sensor Connector
GM751380Courtesy of GENERAL MOTORS CORP.
Callout Component Name
1 Accelerator Pedal Position (APP) Sensor Connector
2 Accelerator Pedal Position (APP) Sensor