LEMON Manuals: Even more car manuals for everyone: 1960-2025
Home >> Cadillac >> 2005 >> Escalade EXT >> Repair and Diagnosis (Single Page) >> Quick Lookups >> Electrical Component Locations >> Wiring Systems & Electrical Power Management (Component Locator) >> Component Locator >> Power and Grounding Component Views
April 5, 2026: LEMON Manuals is launched! Read the announcement.

Power and Grounding Component Views

Fig 1: Lower LF Of The Radiator Support Components
GM310809Courtesy of GENERAL MOTORS CORP.
Callout Component Name
1 LH Lower Radiator Support
2 Forward Lamp Harness
3 Negative Battery Cable (G100)
4 Frame
5 Ground 100 (G100)
Fig 2: LF of Engine Compartment
GM1543919Courtesy of GENERAL MOTORS CORP.
Callout Component Name
1 Fuse Block-Underhood - Cooling Fan
2 Fuse Block-Underhood C1
3 Fuse Block-Underhood C2
4 Fuse Block-Underhood C4
5 Fuse Block-Underhood C3
6 Battery Positive Voltage (Forward Lamp Harness)
7 Battery Positive Voltage (Chassis Harness)
8 Fuse Block-Underhood C9
9 Fuse Block-Underhood C6
10 Fuse Block-Underhood C5
11 Fuse Block-Underhood C7
12 Battery Positive Voltage (I/P Harness)
13 G100
14 G115
Fig 3: Fuse Block-Underhood Component View
GM310806Courtesy of GENERAL MOTORS CORP.
Callout Component Name
1 Fuse Block-Underhood Bracket
2 I/P Harness
3 Radiator Support
4 Inline Connector C103 or C104-I/P Harness Side
5 Inline Connector C103 or C104-Forward Lamp Harness Side
6 LH Battery Tray
7 Fuse Block-Underhood Bracket
8 Fuse Block-Underhood Bracket
Fig 4: Fuse Block-Underhood Component View
GM310798Courtesy of GENERAL MOTORS CORP.
Callout Component Name
1 Fuse Block-Underhood
2 C4 (GRN)
3 C3 (RED)
4 Fuse Block-Underhood Bracket
5 LH Inner Fender (Shield)
6 LH Inner Fender
7 C1 (LT GRY)
8 C2 (BLK)
Fig 5: Fuse Block - Underhood - C1 (LT GRY) & C6 (BRN) Component View
GM404504Courtesy of GENERAL MOTORS CORP.
Callout Component Name
1 Fuse Block-Underhood
2 C7 (BLK) Cavity
3 Fuse Block-Underhood Bracket
4 C6 (BRN)
5 I/P Harness
6 C1 (LT GRY)
Fig 6: Fuse Block - Underhood - C2 (BLK) & C5 (BLK) Component View
GM404501Courtesy of GENERAL MOTORS CORP.
Callout Component Name
1 C2 (BLK)
2 Fuse Block-Underhood
3 Fuse Block-Underhood Bracket
4 C5 (BLK)
5 Engine Harness
Fig 7: Fuse Block - Underhood - C3 (RED) & C8 (LT GRY) Component View
GM404499Courtesy of GENERAL MOTORS CORP.
Callout Component Name
1 C3 (RED)
2 Fuse Block-Underhood
3 C8 (LT GRY)
4 Fuse Block-Underhood Bracket
5 Chassis Harness
Fig 8: Fuse Block - Underhood - C4 & Inlines Component View
GM404508Courtesy of GENERAL MOTORS CORP.
Callout Component Name
1 C4 (GRN)
2 I/P Inline Connectors
3 Fuse Block-Underhood Bracket
4 Connector Tether
5 I/P Harness Inline Connector
6 C103 (I/P Side)
7 C103 (FWD Lamp Side)
8 Forward Lamp Inline Connector
9 Fuse Block-Underhood
Fig 9: Lower LR Of Engine Components View (4.8L/5.3L/6.0L)
GM310261Courtesy of GENERAL MOTORS CORP.
Callout Component Name
1 Ground 103 (G103)
1 Ground 103 (G103)
2 Engine Harness- H02S
3 HO2 Sensor connector- Bank 1, Sensor 1
4 Fuel Line Bracket
5 Ground 104 (G104)
5 Ground 104 (G104)
6 Oil Pressure Sensor Connector
6 Oil Pressure Sensor
7 Engine Ground Strap (G107)
8 TP 1 Battery Cable (G106)
Fig 10: Lower Left Side Of Engine Components View (4.8L/5.3L/6.0L)
GM403980Courtesy of GENERAL MOTORS CORP.
Callout Component Name
1 Engine Harness
2 Battery Cable Junction Block Bracket
3 LH Rocker Cover
4 Ground 102 (G102)
5 Negative Battery Cable
6 Engine Coolant Temperature (ECT) Sensor Connector
Fig 11: Lower LR Of Engine Components View (4.8L/5.3L/6.0L)
GM310261Courtesy of GENERAL MOTORS CORP.
Callout Component Name
1 Ground 103 (G103)
1 Ground 103 (G103)
2 Engine Harness- H02S
3 HO2 Sensor connector- Bank 1, Sensor 1
4 Fuel Line Bracket
5 Ground 104 (G104)
5 Ground 104 (G104)
6 Oil Pressure Sensor Connector
6 Oil Pressure Sensor
7 Engine Ground Strap (G107)
8 TP 1 Battery Cable (G106)
Fig 12: G102 Component View - 8.1L
GM656528Courtesy of GENERAL MOTORS CORP.
Callout Component Name
1 Engine-8.1L
2 Engine Knock Sensor (KS) - 2
3 Engine Knock Sensor (KS) - 2 Connector
4 Engine Harness
5 G102-Engine Harness Ground
Fig 13: G104 Component View - 8.1L
GM814474Courtesy of GENERAL MOTORS CORP.
Callout Component Name
1 Engine-8.1L
2 EGR Valve
3 Engine Oil Pressure (EOP) Sensor
4 Engine Ground Strap
5 G104-Engine Harness Ground
Fig 14: LR Engine Compartment Component View
GM1407403Courtesy of GENERAL MOTORS CORP.
Callout Component Name
1 G106
2 G107
3 Upper Plenum
Fig 15: Left Rear Underhood Component Views - Front of Dash
GM310036Courtesy of GENERAL MOTORS CORP.
Callout Component Name
1 Windshield Wiper Motor Module Electrical Connector
2 Cruise Control Module (CCM) Electrical Connector
3 Plenum Panel
4 Cruise Control Module (CCM)
5 Pass-Through 100 (P100)
6 Dash Panel
7 Cap For Connector (Without Cruise Control)
8 Cruise Control Module (CCM) Electrical Connector
9 Harness Pass-Through
10 Windshield Wiper Motor Module
Fig 16: Front Drive Axle Harness Routing Component View (K15 Series)
GM310214Courtesy of GENERAL MOTORS CORP.
Callout Component Name
1 Vent Tube
2 Vent Tube Connection
3 Front Axle Actuator
4 Front Axle Actuator Connector
5 Front Drive Axle Assembly (Mount)
6 Ground 110 (G110)
7 Left Inner Fender
Fig 17: Front Drive Axle Harness Routing Component View (K25 Series)
GM310212Courtesy of GENERAL MOTORS CORP.
Callout Component Name
1 Ground 110 (G110)
2 Vent Tube
3 Vent Tube Connection
4 Front Axle Actuator
5 Front Axle Actuator Connector
6 Left Inner Fender
Fig 18: G200 Component View
GM403970Courtesy of GENERAL MOTORS CORP.
Callout Component Name
1 Instrument Panel
2 Ground 200 (G200)
3 Ground Stud
Fig 19: Lower RF Of Passenger Compartment Harness Routing View
GM926693Courtesy of GENERAL MOTORS CORP.
Callout Component Name
1 C222
2 C315 (AJ7)
3 Body Harness
4 C209
Fig 20: Component Views - Lower Center of the I/P
GM310152Courtesy of GENERAL MOTORS CORP.
Callout Component Name
1 Ashtray Lamp Socket
2 Bulb
3 Ashtray Lamp Shield
4 Instrument Panel
5 Accessory Power Outlet
6 Cigar Lighter Assembly
Fig 21: Junction Block Component View - I/P
GM310167Courtesy of GENERAL MOTORS CORP.
Callout Component Name
1 Junction Block - I/P
2 Instrument Panel
Fig 22: HVAC Module Assembly (Connections) Harness Routing View
GM310004Courtesy of GENERAL MOTORS CORP.
Callout Component Name
1 Recirculation Actuator Connector
2 Instrument Panel
3 Electrical Harness Connector
4 Ground 200 (G200)
5 Blower Motor Resistor Assembly
6 Blower Motor Resistor Connector
7 Harness Inline Connector (C296)
8 Air Temperature Actuator Connector
9 Air Temperature Actuator
10 Mode Actuator
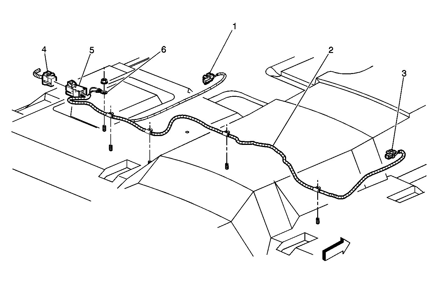
Fig 23: LH Top Of Dash Component View
GM310066Courtesy of GENERAL MOTORS CORP.
Callout Component Name
1 Splice Pack 203 (SP203)
2 Ground 203 (G203)
3 Dash
4 A-Pillar
Fig 24: Upper Left Of I/P - G203 Component View (w/ULT)
GM1407664Courtesy of GENERAL MOTORS CORP.
Callout Component Name
1 Upper Dash Support
2 G203
Fig 25: Component Views - Lower Left Of The I/P
GM310145Courtesy of GENERAL MOTORS CORP.
Callout Component Name
1 Fuse Block Connector
2 Body Control Module (BCM) Connector
3 Splice Pack 205 (SP205)
4 Fuse Block
5 Data Link Connector (DLC)
6 LH IP Courtesy Lamp
7 LH IP Courtesy Lamp Socket
8 LH IP Support to Dash
9 Left Windshield Pillar Trim Panel
Fig 26: Left Side Frame Rail - Grounds Component View
GM574025Courtesy of GENERAL MOTORS CORP.
Callout Component Name
1 Frame
2 Electronic Brake Control Module (EBCM) Ground (GNO)
3 Manual Selectable Ride Ground (G302)
4 Automatic Transfer Case/ABS Ground (G110)
Fig 27: Driver Side B-Pillar Wiring Component View
GM623131Courtesy of GENERAL MOTORS CORP.
Callout Component Name
1 LH B-Pillar
2 G305
3 LH Body Harness
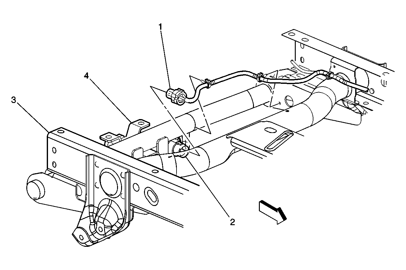
Fig 28: LH Frame Rail At Body Mount Component View
GM309937Courtesy of GENERAL MOTORS CORP.
Callout Component Name
1 Ground 302 (G302)
2 LH Body Mount
3 Ground Screw
4 Electronic Brake Control Module (EBCM)
5 Fuel Tank
Fig 29: RH B-Pillar Component View
GM573989Courtesy of GENERAL MOTORS CORP.
Callout Component Name
1 Instrument Panel
2 C4 (and C3)
3 Junction Block-I/P
4 RT-B-Pillar
5 Ground 306 (G306)
6 RH Body Harness
7 I/P Harness Inline Connector C208
Fig 30: G305 Component View (Crew Cab)
GM1373410Courtesy of GENERAL MOTORS CORP.
Callout Component Name
1 G305
2 LH B-Pillar
3 C305
4 Inflatable Restraint Sensing and Diagnostic Module (SDM)
Fig 31: G304 & G306 Component View
GM1373409Courtesy of GENERAL MOTORS CORP.
Callout Component Name
1 C396
2 G306
3 G304
4 C399
5 RH B-Pillar
Fig 32: Emergency Light Relay & G305 Component View - Utility/Crewcab
GM814896Courtesy of GENERAL MOTORS CORP.
Callout Component Name
1 Emergency Roof Lamp Harness
2 Roof Beacon Relay
3 G305
4 B Pillar-LH Side
Fig 33: Below Front Seats Components View (Both w/Power)
GM309991Courtesy of GENERAL MOTORS CORP.
Callout Component Name
1 Driver Power Seat Electrical Connector
2 Passenger Power Seat Wiring Harness
3 Passenger Power Seat Electrical Connector
4 Inline Wiring Connector (IP)
5 Power Seat Wiring Harness Connector
6 Ground 304 (G304)
Fig 34: Fuel Tank & Sensor Component View (Typical)
GM309947Courtesy of GENERAL MOTORS CORP.
Callout Component Name
1 Fuel Sender
2 Ground 403 (G403)
3 Fuel Filler Ground 302 (G-403)
4 LH Frame
5 Fuel Sender (Typical)
Fig 35: Rear HVAC Harness Routing View
GM573929Courtesy of GENERAL MOTORS CORP.
Callout Component Name
1 Inner Body Side Panel
2 Splice Pack 410 (SP410)
3 Splice Pack 410A (SP410A)
4 Blower Motor-Auxiliary
5 HVAC Module-Rear Auxiliary
6 Air Temperature Sensor-Lower Auxiliary
7 Mode Actuator Connector
8 Inline Connector 350 (Auxiliary HVAC Harness Side)
9 Inline Connector 350 (Headliner Harness Side)
10 Inline Connector 397 (Auxiliary HVAC Harness Side)
11 Inline Connector 397 (RH Body Harness Side)
Fig 36: Trailer Receptacle Component View
GM349942Courtesy of GENERAL MOTORS CORP.
Callout Component Name
1 Platform Assembly Trailer Weight Distribution Hitch
1 Platform Assembly Trailer Weight Distribution Hitch
2 Trailer Wiring Receptacle
3 Trailer Wiring Receptacle Bracket
3 Trailer Wiring Receptacle Bracket
Fig 37: Heavy Duty Trailer Wiring Connector Views
GM349960Courtesy of GENERAL MOTORS CORP.
Callout Component Name
1 Trailer Wiring Connector
2 Trailer Wiring Receptacle
3 Frame
4 Trailer Hitch Receiver
Fig 38: Rear Frame - Rear Lamp Components View
GM309877Courtesy of GENERAL MOTORS CORP.
Callout Component Name
1 Rear Lamp Bussing Block Bracket
2 Rear Lamp Bussing Block
3 Rear Cross Sill
4 Rear Lamps Bussing Block Electrical Connector
Fig 39: LR Frame - Camper Provision Component View
GM309959Courtesy of GENERAL MOTORS CORP.
Callout Component Name
1 Camper Wiring Harness
2 Frame
3 Camper Wiring Harness Connector