LEMON Manuals: Even more car manuals for everyone: 1960-2025
Home >> Cadillac >> 2005 >> Escalade EXT >> Repair and Diagnosis (Single Page) >> Quick Lookups >> Wiring Diagrams >> OEM Connector End Views - Abs, Adjustable Pedals, Automatic Level Control Suspension, Automatic Transmission, Shift Lock Control, Body Rear End, Cellular Communication, Computer/Integrating Systems, Cooling System, Cruise Control >> ABS Connector End Views >> Electronic Brake Control Module (EBCM) Connector End Views
April 5, 2026: LEMON Manuals is launched! Read the announcement.

Electronic Brake Control Module (EBCM) Connector End Views

Electronic Brake Control Module (EBCM) - C1 (w/o JL4)

GM684792Courtesy of GENERAL MOTORS CORP.
Connector Part Information
  • 12052613
  • 2-Way F Metri-Pack 480 Series Sealed (BK)
Pin Wire Color Circuit No. Function
A BK 2150 Ground
B RD 442 Battery Positive Voltage
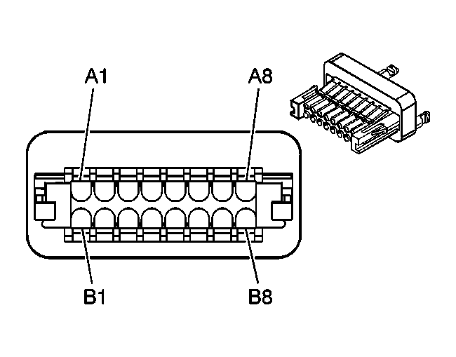
Electronic Brake Control Module (EBCM) - C2 (w/o JL4)

GM365992Courtesy of GENERAL MOTORS CORP.
Connector Part Information
  • 12193519
  • 16-Way F Micro-Pack 100W (NA)
Pin Wire Color Circuit No. Function
A1 BN 441 Ignition 3 Voltage
A2 YE 873 Left Front Wheel Speed Sensor Low Reference
A3 D GN 872 Right Front Wheel Speed Sensor Signal
A4 TN/BK 464 Delivered Torque Signal
A5-A7 - - Not Used
A8 BK/WH 1695 Traction Control Switch Signal
B1 YE/BK 1827 Vehicle Speed Signal
B2 L BU 830 Left Front Wheel Speed Sensor Signal
B3 TN 833 Right Front Wheel Speed Sensor Low Reference
B4 OG/BK 463 Requested Torque Signal
B5 PU 420 TCC Brake Switch/Cruise Control Release Signal
B6 L BU 1122 ABS/TCS Class 2 Serial Data
B7 - - Not Used
B8 PU 333 Brake Pressure Sensor Signal (1500 Series)
PU 333 Brake Fluid Level Sensor Signal (2500 Series)
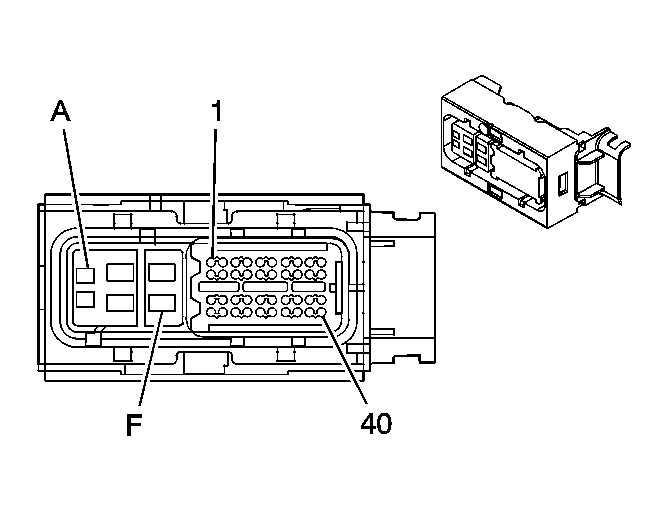
Electronic Brake Control Module (EBCM) (w/JL4)

GM1199759Courtesy of GENERAL MOTORS CORP.
Connector Part Information
  • 15405468
  • 46-Way F GT 280 Series (BK)
Pin Wire Color Circuit No. Function
1 D GN 2087 Steering Wheel Position Sensor 5-Volt Reference
2-3 - - Not Used
4 L BU 1122 ABS/TCS Class 2 Serial Data
5 L BU 2088 Steering Wheel Position Sensor 5-Volt Reference
6-10 - - Not Used
11 BN 441 Ignition 3 Voltage
12-13 - - Not Used
14 OG/BK 463 Requested Torque Signal
15 TN/BK 464 Delivered Torque Signal
16 - - Not Used
17 L BU 715 Lateral Accelerometer Signal
18-20 - - Not Used
21 L GN/BK 5352 Sensor Self Test Signal Circuit
22 PU 420 TCC Brake Switch/Cruise Control Release Signal
23 L GN 1763 Steering Wheel Position Signal A
24 YE 5353 YAW Rate Frequency
25 - - Not Used
26 WH 1765 Steering Wheel Position Marker Pulse Signal
27 L BU 1764 Steering Wheel Position Signal B
28 - - Not Used
29 L BU 2206 Traction Control Preference Switch Signal
30 D BU 716 Yaw Rate Sensor Signal
31 PU 333 Brake Fluid Level/Pressure Sensor Signal
32 YE/BK 1827 Vehicle Speed Signal
33 YE 873 Left Front Wheel Speed Sensor Low Reference
34 L BU 830 Left Front Wheel Speed Sensor Signal
35 TN 833 Right Front Wheel Speed Sensor Low Reference
36 D GN 872 Right Front Wheel Speed Sensor Signal
37 RD 885 Left Rear Wheel Speed Sensor Low Reference
38 BK 884 Left Rear Wheel Speed Sensor Signal
39 WH 883 Right Rear Wheel Speed Sensor Low Reference
40 BN 882 Right Rear Wheel Speed Sensor Signal
A D GN 2878 Precharge Motor Low
B RD 4042 Battery Positive Voltage
C BK 2150 Ground
D D BU 2877 Precharge Motor Hi
E BK 2150 Ground
F RD 442 Battery Positive Voltage