LEMON Manuals: Even more car manuals for everyone: 1960-2025
Home >> Cadillac >> 2005 >> Escalade EXT >> Repair and Diagnosis (Single Page) >> Quick Lookups >> Wiring Diagrams >> OEM Connector End Views - Instrument Panel, Gages, Console, Lighting Systems, Power And Grounding, Power Door Systems, Power Outlet, Power Roof Systems, Power Seat Systems, Powertrain Control Module (Pcm), Rear Parking Assist >> Lighting Systems Connector End Views >> License Lamp Connector End Views
April 5, 2026: LEMON Manuals is launched! Read the announcement.

License Lamp Connector End Views

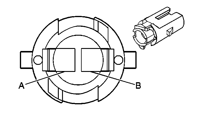
License Lamp - Left

GM309447Courtesy of GENERAL MOTORS CORP.
Connector Part Information
  • 12110053
  • Bulb Type W-2, Axial (GY)
Pin Wire Color Circuit No. Function
A BN 2509 Left Rear Park Lamps Supply Voltage
B BK 1750 Ground
License Lamp - Right

GM309447Courtesy of GENERAL MOTORS CORP.
Connector Part Information
  • 12110053
  • Bulb Type W-2, Axial (GY)
Pin Wire Color Circuit No. Function
A BN 2609 Right Rear Park Lamps Supply Voltage (w/o NYS)
BN/WH 2509 Left Rear Park Lamps Supply Voltage (w/NYS)
B BK 1750 Ground