LEMON Manuals: Even more car manuals for everyone: 1960-2025
Home >> Cadillac >> 2005 >> Escalade EXT >> Repair and Diagnosis (Single Page) >> Quick Lookups >> Wiring Diagrams >> OEM Connector End Views - Instrument Panel, Gages, Console, Lighting Systems, Power And Grounding, Power Door Systems, Power Outlet, Power Roof Systems, Power Seat Systems, Powertrain Control Module (Pcm), Rear Parking Assist >> Lighting Systems Connector End Views >> Repeater Lamp Connector End Views
April 5, 2026: LEMON Manuals is launched! Read the announcement.

Repeater Lamp Connector End Views

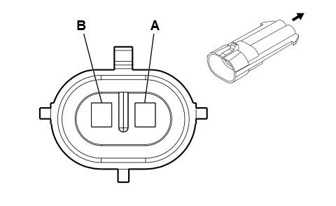
Repeater Lamp - LF (Export)

GM333041Courtesy of GENERAL MOTORS CORP.
Connector Part Information
  • 12162000
  • 2-Way M Metri-Pack 150 Series (BK)
Pin Wire Color Circuit No. Function
A L BU 2114 Left Turn Signal Lamps Supply Voltage
B BK 150 Ground
Repeater Lamp - RF (Export)

GM333041Courtesy of GENERAL MOTORS CORP.
Connector Part Information
  • 12162000
  • 2-Way M Metri-Pack 150 Series (BK)
Pin Wire Color Circuit No. Function
A D BU 2115 Right Turn Signal Lamps Supply Voltage
B BK 150 Ground