LEMON Manuals: Even more car manuals for everyone: 1960-2025
Home >> Cadillac >> 2005 >> Escalade EXT >> Repair and Diagnosis (Single Page) >> Quick Lookups >> Wiring Diagrams >> OEM Connector End Views - Rear Wheel Steering, Seat Belt, Sir, Splice Pack, Stationary Windows, Suspension Controls, Theft Deterrent System, Transfer Case Control, Wiper/Washer System >> SIR Connector End Views >> Inflatable Restraint Side Impact Module Connector End Views
April 5, 2026: LEMON Manuals is launched! Read the announcement.

Inflatable Restraint Side Impact Module Connector End Views

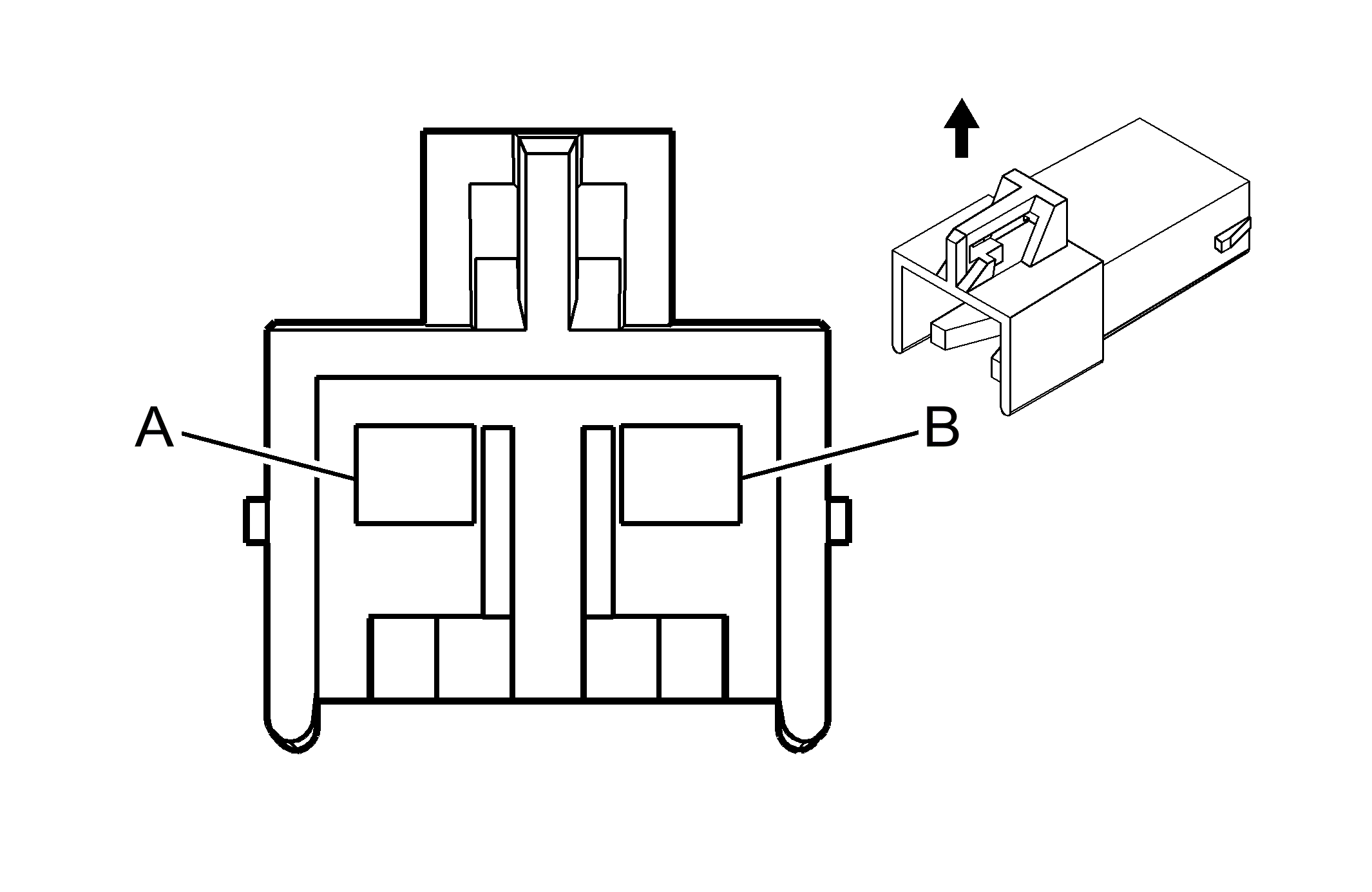
Inflatable Restraint Side Impact Module - Left

GM130685Courtesy of GENERAL MOTORS CORP.
Connector Part Information
  • 12110288
  • 2-Way F Metri-Pack 280 Series (YE)
Pin Wire Color Circuit No. Function
A D GN 2105 Side Impact Module - Left - High Control
B BN 2106 Side Impact Module - Left - Low Control
Inflatable Restraint Side Impact Module - Right

GM130685Courtesy of GENERAL MOTORS CORP.
Connector Part Information
  • 12110288
  • 2-Way F Metri-Pack 280 Series (YE)
Pin Wire Color Circuit No. Function
A GY 2103 Side Impact Module - Right - High Control
B D BU 2104 Side Impact Module - Right - Low Control