LEMON Manuals: Even more car manuals for everyone: 1960-2025
Home >> Cadillac >> 2005 >> Escalade EXT >> Repair and Diagnosis (Single Page) >> Quick Lookups >> Wiring Diagrams >> OEM Connector End Views - Rear Wheel Steering, Seat Belt, Sir, Splice Pack, Stationary Windows, Suspension Controls, Theft Deterrent System, Transfer Case Control, Wiper/Washer System >> SIR Connector End Views >> Inflatable Restraint Steering Wheel Module Connector End Views
April 5, 2026: LEMON Manuals is launched! Read the announcement.

Inflatable Restraint Steering Wheel Module Connector End Views

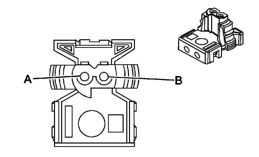
Inflatable Restraint Steering Wheel Module C1

GM966373Courtesy of GENERAL MOTORS CORP.
Connector Part Information
  • 54560208
  • 2-Way F ABX-3 Code B (WH)
Pin Wire Color Circuit No. Function
A TN 3021 Steering Wheel Module - Stage 1 - High Control
B BN 3020 Steering Wheel Module - Stage 1 - Low Control
Inflatable Restraint Steering Wheel Module C2

GM966368Courtesy of GENERAL MOTORS CORP.
Connector Part Information
  • 54550271
  • 2-Way F ABX-3 Code G (PK)
Pin Wire Color Circuit No. Function
A WH 3023 Steering Wheel Module - Stage 2 - High Control
B PK 3022 Steering Wheel Module - Stage 2 - Low Control


Inflatable Restraint Steering Wheel Module C1

GM966373Courtesy of GENERAL MOTORS CORP.
Connector Part Information
  • 54560208
  • 2-Way F ABX-3 Code B (WH)
Pin Wire Color Circuit No. Function
A TN 3021 Steering Wheel Module - Stage 1 - High Control
B BN 3020 Steering Wheel Module - Stage 1 - Low Control
Inflatable Restraint Steering Wheel Module C2

GM966368Courtesy of GENERAL MOTORS CORP.
Connector Part Information
  • 54550271
  • 2-Way F ABX-3 Code G (PK)
Pin Wire Color Circuit No. Function
A WH 3023 Steering Wheel Module - Stage 2 - High Control
B PK 3022 Steering Wheel Module - Stage 2 - Low Control