LEMON Manuals: Even more car manuals for everyone: 1960-2025
Home >> Cadillac >> 2005 >> Escalade EXT >> Repair and Diagnosis >> Body & Frame >> Windows >> Stationary Window System >> Component Locator >> Stationary Windows Component Views
April 5, 2026: LEMON Manuals is launched! Read the announcement.

Stationary Windows Component Views

Fig 1: Inside Rearview Mirror
GM309865Courtesy of GENERAL MOTORS CORP.
Callout Component Name
1 Inside Rearview Mirror Connector
2 Inside Rearview Mirror
Fig 2: Liftgate Defogger Grid Component View
GM1114411Courtesy of GENERAL MOTORS CORP.
Callout Component Name
1 Liftgate
2 Rear Window Defogger Grid
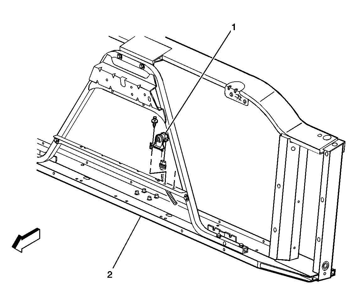
Fig 3: Air Temperature Sensor - Outside
GM832711Courtesy of GENERAL MOTORS CORP.
Callout Component Name
1 Air Temperature Sensor - Outside
2 Radiator Core Support