LEMON Manuals: Even more car manuals for everyone: 1960-2025
Home >> Cadillac >> 2005 >> Escalade EXT >> Repair and Diagnosis >> External Pages >> Different car >> Section 134 (Engine Control System - 8.1L - Introduction) >> Component Locator >> Engine Controls Connectors
April 5, 2026: LEMON Manuals is launched! Read the announcement.

Engine Controls Connectors

WARNING: This page is about a different car, the 2005 GMC Yukon XL, 2005 Chevrolet Suburban, and 2005 Chevrolet Avalanche. However, it is still accessible from the selected car via links, so may be relevant.
Accelerator Pedal Position (APP) Sensor Connector End View

GM366097Courtesy of GENERAL MOTORS CORP.
Connector Part Information
  • 15318071
  • 10-Way F Metri-Pack 150 Series (GY)
Pin Wire Color Circuit No. Function
A - - Not Used
B PU 1272 5-Volt Reference
C L-BU 1162 APP Sensor 2 Signal
D TN 1274 Low Reference
E BN 1271 Low Reference
F D-BU 1161 APP Sensor 1 Signal
G WH/BK 1164 5-Volt Reference
H-K - - Not Used
Camshaft Position (CMP) Sensor Connector End View

GM516611Courtesy of GENERAL MOTORS CORP.
Connector Part Information
  • 12059595
  • 3-Way F Metri-Pack 150 Series Sealed (GY)
Pin Wire Color Circuit No. Function
A RD 631 12-Volt Reference
B PK/BK 632 Low Reference
C BN/WH 633 CMP Sensor Signal
Crankshaft Position (CKP) Sensor Connector End View

GM366117Courtesy of GENERAL MOTORS CORP.
Connector Part Information
  • 15324165
  • 3-Way F Metri-Pack 150 Series (WH)
Pin Wire Color Circuit No. Function
A L-GN 1867 12-Volt Reference
B YE/BK 1868 Low Reference
C D-BU/WH 1869 CKP Sensor Signal
Engine Coolant Temperature (ECT) Sensor Connector End View

GM655807Courtesy of GENERAL MOTORS CORP.
Connector Part Information
  • 15324589
  • 3-Way F Metri-Pack 150 Series Sealed (GY)
Pin Wire Color Circuit No. Function
A BK 407 Low Reference
B YE 410 ECT Sensor Signal
C - - Not Used
Evaporative Emission (EVAP) Canister Purge Solenoid Connector End View

GM684795Courtesy of GENERAL MOTORS CORP.
Connector Part Information
  • 12052643
  • 2-Way F Metri-Pack 150 Series Sealed (RD)
Pin Wire Color Circuit No. Function
A PK 439 Ignition 1 Voltage
B D-GN/WH 428 EVAP Canister Purge Solenoid Control
Evaporative Emission (EVAP) Canister Vent Solenoid Connector End View

GM684795Courtesy of GENERAL MOTORS CORP.
Connector Part Information
  • 12052643
  • 2-Way F Metri-Pack 150 Series Sealed (RD)
Pin Wire Color Circuit No. Function
A WH 1310 EVAP Canister Vent Solenoid Control
B PK 2640 Battery Positive Voltage
Fuel Injector 1 Connector End View

GM833727Courtesy of GENERAL MOTORS CORP.
Connector Part Information
  • 15411634
  • 2-Way F Metri-Pack 280.1 P2S (BK)
Pin Wire Color Circuit No. Function
A PK/WH 1039 Ignition 1 Voltage
B BK 1744 Fuel Injector 1 Control
Fuel Injector 2 Connector End View

GM833727Courtesy of GENERAL MOTORS CORP.
Connector Part Information
  • 15411634
  • 2-Way F Metri-Pack 280.1 P2S (BK)
Pin Wire Color Circuit No. Function
A PK 1239 Ignition 1 Voltage
B L-GN/BK 1745 Fuel Injector 2 Control
Fuel Injector 3 Connector End View

GM833727Courtesy of GENERAL MOTORS CORP.
Connector Part Information
  • 15411634
  • 2-Way F Metri-Pack 280.1 P2S (BK)
Pin Wire Color Circuit No. Function
A PK/WH 1039 Ignition 1 Voltage
B PK/BK 1746 Fuel Injector 3 Control
Fuel Injector 4 Connector End View

GM833727Courtesy of GENERAL MOTORS CORP.
Connector Part Information
  • 15411634
  • 2-Way F Metri-Pack 280.1 P2S (BK)
Pin Wire Color Circuit No. Function
A PK 1239 Ignition 1 Voltage
B L-BU/BK 844 Fuel Injector 4 Control
Fuel Injector 5 Connector End View

GM833727Courtesy of GENERAL MOTORS CORP.
Connector Part Information
  • 15411634
  • 2-Way F Metri-Pack 280.1 P2S (BK)
Pin Wire Color Circuit No. Function
A PK/WH 1039 Ignition 1 Voltage
B BK/WH 845 Fuel Injector 5 Control
Fuel Injector 6 Connector End View

GM833727Courtesy of GENERAL MOTORS CORP.
Connector Part Information
  • 15411634
  • 2-Way F Metri-Pack 280.1 P2S (BK)
Pin Wire Color Circuit No. Function
A PK 1239 Ignition 1 Voltage
B YE/BK 846 Fuel Injector 6 Control
Fuel Injector 7 Connector End View

GM833727Courtesy of GENERAL MOTORS CORP.
Connector Part Information
  • 15411634
  • 2-Way F Metri-Pack 280.1 P2S (BK)
Pin Wire Color Circuit No. Function
A PK/WH 1039 Ignition 1 Voltage
B RD/BK 877 Fuel Injector 7 Control
Fuel Injector 8 Connector End View

GM833727Courtesy of GENERAL MOTORS CORP.
Connector Part Information
  • 15411634
  • 2-Way F Metri-Pack 280.1 P2S (BK)
Pin Wire Color Circuit No. Function
A PK 1239 Ignition 1 Voltage
B D-BU/WH 878 Fuel Injector 8 Control
Fuel Pump (FP) Relay - Secondary Connector End View (Dual Tanks)

GM535912Courtesy of GENERAL MOTORS CORP.
Connector Part Information
  • 12129716
  • 4-Way F Metri-Pack 280 Flex Lock (M-GY)
Pin Wire Color Circuit No. Function
30 PK 139 Ignition 1 Voltage
85 GY 120 Fuel Pump Supply Voltage
86 TN 1465 Fuel Pump Relay Control - Secondary
87 L-GN 1058 Fuel Balance Pump Supply Voltage
Fuel Pump and Sender Assembly - Primary Connector End View

GM684908Courtesy of GENERAL MOTORS CORP.
Connector Part Information
  • 15326631
  • 4-Way F GT 280 Series Sealed (BK)
Pin Wire Color Circuit No. Function
A BK 2150 Ground
B BK 470 Low Reference
C PU 1589 Fuel Level Sensor Signal - Primary
D GY 120 Fuel Pump Supply Voltage
Fuel Pump and Sender Assembly - Secondary Connector End View (Dual Tanks)

GM684908Courtesy of GENERAL MOTORS CORP.
Connector Part Information
  • 15326631
  • 4-Way F GT 280 Series Sealed (BK)
Pin Wire Color Circuit No. Function
A BK 2150 Ground
B BK 470 Low Reference
C D-BU 1936 Fuel Level Sensor Signal
D L-GN 1058 Fuel Balance Pump Supply Voltage
Fuel Tank Pressure (FTP) Sensor Connector End View

GM516611Courtesy of GENERAL MOTORS CORP.
Connector Part Information
  • 12059595
  • 3-Way F Metri-Pack 150 Series Sealed (BK)
Pin Wire Color Circuit No. Function
A BK 470 Low Reference
B D-GN 890 Fuel Tank Pressure Sensor Signal
C GY 474 5-Volt Reference
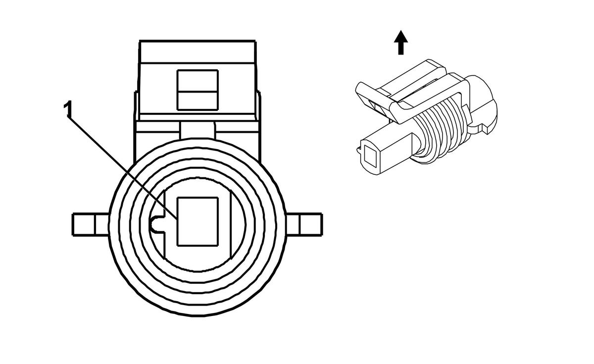
Heated Oxygen Sensor (HO2S) Bank 1 Sensor 1 Connector End View

GM831392Courtesy of GENERAL MOTORS CORP.
Connector Part Information
  • 12092839
  • 4-Way M Metri-Pack 150 Series Sealed (BK)
Pin Wire Color Circuit No. Function
A TN 1664 HO2S Low Signal Bank 1 Sensor 1
B PU/WH 1665 HO2S High Signal Bank 1 Sensor 1
C - - Not Available
D PK 539 Ignition 1 Voltage
E BK/WH 3113 HO2S Heater Low Control Bank 1 Sensor 1
Heated Oxygen Sensor (HO2S) Bank 1 Sensor 2 Connector End View

GM874937Courtesy of GENERAL MOTORS CORP.
Connector Part Information
  • 12146047
  • 4-Way F Metri-Pack 150 Series (BK)
Pin Wire Color Circuit No. Function
A TN/WH 1669 HO2S Low Signal Bank 1 Sensor 2
B PU/WH 1668 HO2S High Signal Bank 1 Sensor 2
C - - Not Available
D PK 1539 Ignition 1 Voltage
E BN 2391 HO2S Heater Low Control Bank 1 Sensor 2
Heated Oxygen Sensor (HO2S) Bank 2 Sensor 1 Connector End View

GM831392Courtesy of GENERAL MOTORS CORP.
Connector Part Information
  • 12092839
  • 4-Way M Metri-Pack 150 Series Sealed (BK)
Pin Wire Color Circuit No. Function
A TN 1667 HO2S Low Signal Bank 2 Sensor 1
B PU 1666 HO2S High Signal Bank 2 Sensor 1
C - - Not Available
D PK 539 Ignition 1 Voltage
E L-GN 3212 HO2S Heater Low Control Bank 2 Sensor 1
Heated Oxygen Sensor (HO2S) Bank 2 Sensor 2 Connector End View

GM831392Courtesy of GENERAL MOTORS CORP.
Connector Part Information
  • 12092839
  • 4-Way M Metri-Pack 150 Series Sealed (BK)
Pin Wire Color Circuit No. Function
A TN 1671 HO2S Low Signal Bank 2 Sensor 2
B PU 1670 HO2S High Signal Bank 2 Sensor 2
C - - Not Available
D PK 1539 Ignition 1 Voltage
E RD/WH 3223 HO2S Heater Low Control Bank 2 Sensor 2
Ignition Coil 1 Connector End View

GM1401799Courtesy of GENERAL MOTORS CORP.
Connector Part Information
  • 15366040
  • 4-Way F Metri-Pack 150 Series Sealed (BK)
Pin Wire Color Circuit No. Function
A BK 550 Ground
B BN 2129 Low Reference
C PU 2121 IC 1 Control
D PK 1039 Ignition 1 Voltage
Ignition Coil 2 Connector End View

GM1401799Courtesy of GENERAL MOTORS CORP.
Connector Part Information
  • 15366040
  • 4-Way F Metri-Pack 150 Series Sealed (BK)
Pin Wire Color Circuit No. Function
A BK 550 Ground
B BN 2130 Low Reference
C RD 2122 IC 2 Control
D PK 1239 Ignition 1 Voltage
Ignition Coil 3 Connector End View

GM1401799Courtesy of GENERAL MOTORS CORP.
Connector Part Information
  • 15366040
  • 4-Way F Metri-Pack 150 Series Sealed (BK)
Pin Wire Color Circuit No. Function
A BK 550 Ground
B BN 2129 Low Reference
C L-BU 2123 IC 3 Control
D PK 1039 Ignition 1 Voltage
Ignition Coil 4 Connector End View

GM1401799Courtesy of GENERAL MOTORS CORP.
Connector Part Information
  • 15366040
  • 4-Way F Metri-Pack 150 Series Sealed (BK)
Pin Wire Color Circuit No. Function
A BK 550 Ground
B BN 2130 Low Reference
C D-GN 2124 IC 4 Control
D PK 1239 Ignition 1 Voltage
Ignition Coil 5 Connector End View

GM1401799Courtesy of GENERAL MOTORS CORP.
Connector Part Information
  • 15366040
  • 4-Way F Metri-Pack 150 Series Sealed (BK)
Pin Wire Color Circuit No. Function
A BK 550 Ground
B BN 2129 Low Reference
C D-GN 2125 IC 5 Control
D PK 1039 Ignition 1 Voltage
Ignition Coil 6 Connector End View

GM1401799Courtesy of GENERAL MOTORS CORP.
Connector Part Information
  • 15366040
  • 4-Way F Metri-Pack 150 Series Sealed (BK)
Pin Wire Color Circuit No. Function
A BK 550 Ground
B BN 2130 Low Reference
C L-BU 2126 IC 6 Control
D PK 1239 Ignition 1 Voltage
Ignition Coil 7 Connector End View

GM1401799Courtesy of GENERAL MOTORS CORP.
Connector Part Information
  • 15366040
  • 4-Way F Metri-Pack 150 Series Sealed (BK)
Pin Wire Color Circuit No. Function
A BK 550 Ground
B BN 2129 Low Reference
C RD 2127 IC 7 Control
D PK 1039 Ignition 1 Voltage
Ignition Coil 8 Connector End View

GM1401799Courtesy of GENERAL MOTORS CORP.
Connector Part Information
  • 15366040
  • 4-Way F Metri-Pack 150 Series Sealed (BK)
Pin Wire Color Circuit No. Function
A BK 550 Ground
B BN 2130 Low Reference
C PU 2128 IC 8 Control
D PK 1239 Ignition 1 Voltage
Knock Sensor (KS) - Bank 1 Connector End View

GM696956Courtesy of GENERAL MOTORS CORP.
Connector Part Information
  • 15355362
  • 1-Way F Metri-Pack 150 Series Sealed (NA)
Pin Wire Color Circuit No. Function
1 D-BU 496 Knock Sensor - 1 Signal
Knock Sensor (KS) - Bank 2 Connector End View

GM696956Courtesy of GENERAL MOTORS CORP.
Connector Part Information
  • 15355362
  • 1-Way F Metri-Pack 150 Series Sealed (NA)
Pin Wire Color Circuit No. Function
1 L-BU 1876 Knock Sensor - 2 Signal
Mass Air Flow (MAF) Sensor/Intake Air Temperature (IAT) Connector End View

GM366067Courtesy of GENERAL MOTORS CORP.
Connector Part Information
  • 15305555
  • 5-Way F Metri-Pack 150 Series (BK)
Pin Wire Color Circuit No. Function
A BK 552 Low Reference
B TN 472 IAT Sensor Signal
C BK/WH 451 Ground
D PK 439 Ignition 1 Voltage
E YE 492 MAF Sensor Signal
Manifold Absolute Pressure (MAP) Sensor Connector End View

GM684840Courtesy of GENERAL MOTORS CORP.
Connector Part Information
  • 12129946
  • 3-Way F Metri-Pack 150 Series Sealed (GY)
Pin Wire Color Circuit No. Function
A OG/BK 469 Low Reference
B L-GN 432 MAP Sensor Signal
C GY 597 5-Volt Reference
Throttle Actuator Control (TAC) Module C1 Connector End View

GM1505702Courtesy of GENERAL MOTORS CORP.
Connector Part Information
  • 12191068
  • 16-Way F Micro-Pack 100 Series (GY)
Pin Wire Color Circuit No. Function
1 D-GN 485 TP Sensor 1 Signal
2 GY 416 5-Volt Reference
3 BK 452 Low Reference
4 D-BU 84 Cruise Control Set/Coast Switch Signal
5 GY/BK 87 Cruise Control Resume/Accel Switch Signal
6 L-BU 1320 CHMSL Supply Voltage
7 PK 1339 Ignition 1 Voltage
8 BN 582 TAC Motor Control - 2
9 L-BU/BK 1688 5-Volt Reference
10 BK/WH 1704 Low Reference
11 PU 486 TP Sensor 2 Signal
12 OG/BK 1061 UART Serial Data
13 D-BU/WH 774 UART Serial Data
14 GY 397 Cruise Control On Switch Signal
15 BK/WH 550 Ground
16 YE 581 TAC Motor Control - 1
Throttle Actuator Control (TAC) Module C2 Connector End View

GM666638Courtesy of GENERAL MOTORS CORP.
Connector Part Information
  • 12177081
  • 10-Way F 150 Series Sealed (BK)
Pin Wire Color Circuit No. Function
A - - Not Used
B PU 1272 Low Reference
C L-BU 1162 APP Sensor 2 Signal
D TN 1274 5-Volt Reference
E - - Not Used
F D-BU 1161 APP Sensor 1 Signal
G WH/BK 1164 5-Volt Reference
H-J - - Not Used
Throttle Body Connector End View

GM831368Courtesy of GENERAL MOTORS CORP.
Connector Part Information
  • 15326836
  • 8-Way F GT 150 Series (BK)
Pin Wire Color Circuit No. Function
A YE 581 TAC Motor Control - 1
B BK/WH 1704 Low Reference
C BN 582 TAC Motor Control - 2
D BK 452 Low Reference
E L-BU/BK 1688 5-Volt Reference
F PU 486 TP Sensor 2 Signal
G D-GN 485 TP Sensor 1 Signal
H GY 416 5-Volt Reference