LEMON Manuals: Even more car manuals for everyone: 1960-2025
Home >> Cadillac >> 2005 >> Escalade EXT >> Repair and Diagnosis >> External Pages >> Different car >> Section 16 (Cruise Control System) >> Schematic and Routing Diagrams >> Cruise Control Schematics
April 5, 2026: LEMON Manuals is launched! Read the announcement.

Cruise Control Schematics

WARNING: This page is about a different car, the 2004 GMC Sierra, 2004 GMC Cab & Chassis Sierra, 2004 Chevrolet Silverado, and 2004 Chevrolet Cab & Chassis Silverado. However, it is still accessible from the selected car via links, so may be relevant.
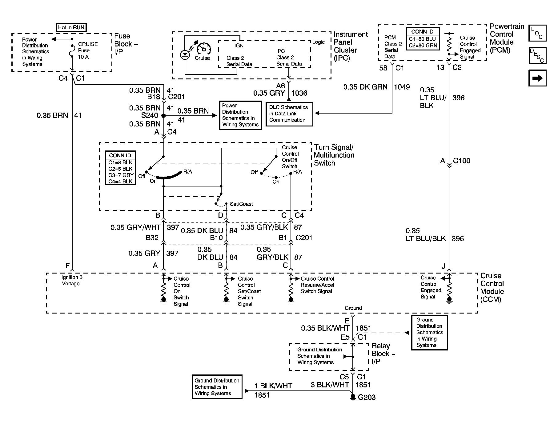
Fig 1: Cruise Control Schematic: 4.3L - 1 of 2
GM1244747Courtesy of GENERAL MOTORS CORP.
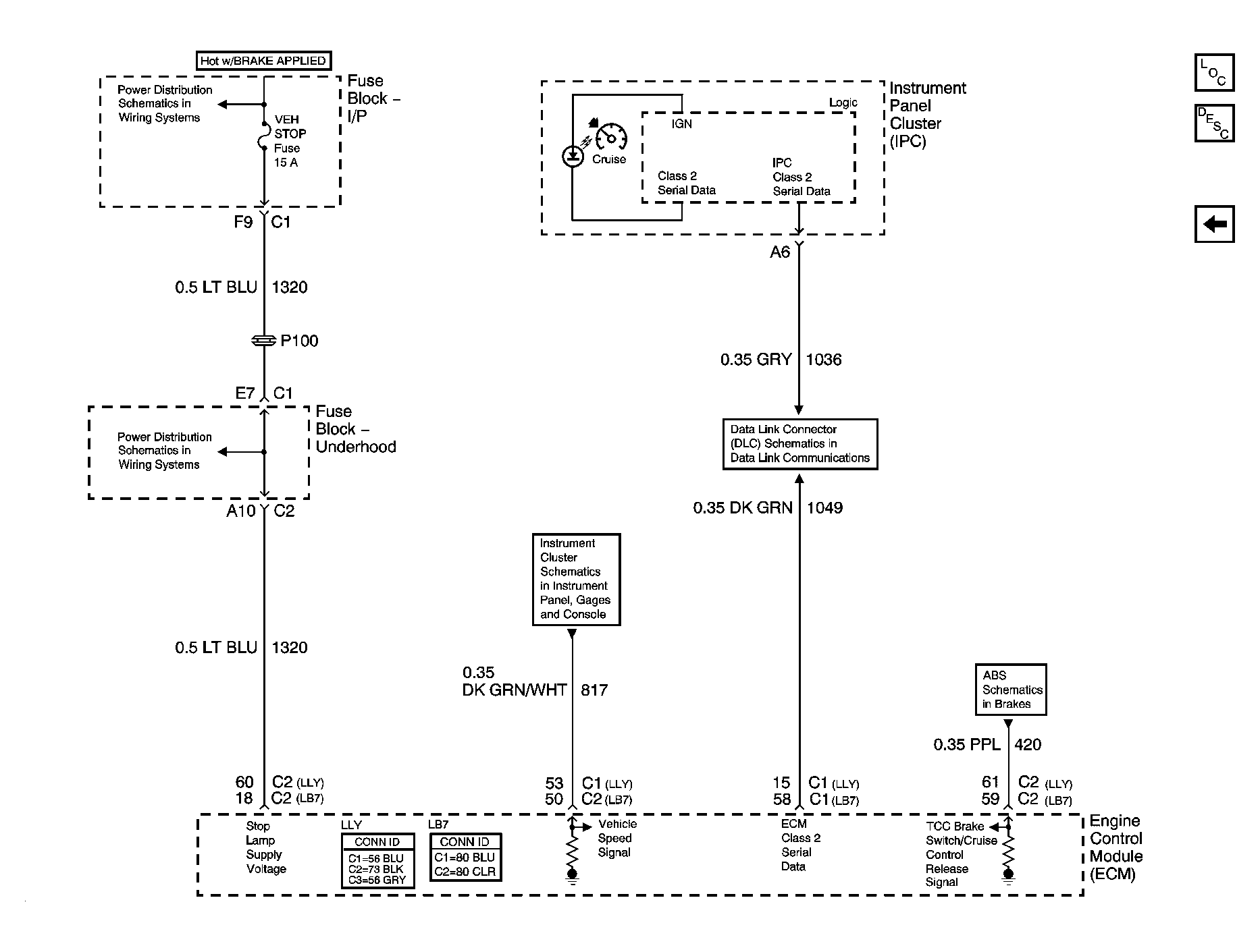
Fig 2: Cruise Control Schematic: 4.3L - 2 of 2
GM1244752Courtesy of GENERAL MOTORS CORP.
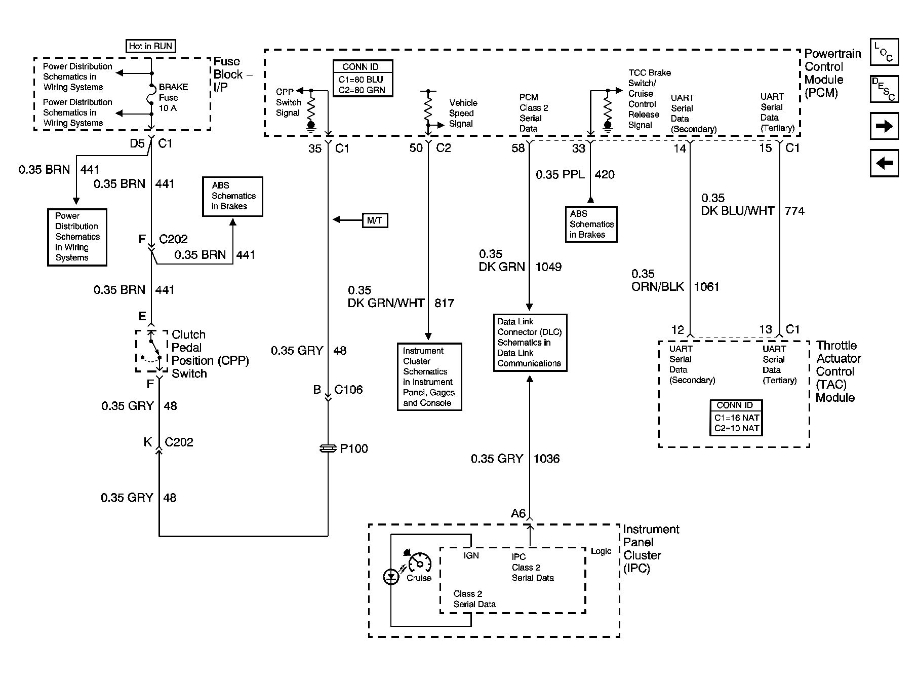
Fig 3: Cruise Control Schematic: 4.8, 5.3, 6.0, and 8.1L - 1 of 2
GM1244753Courtesy of GENERAL MOTORS CORP.
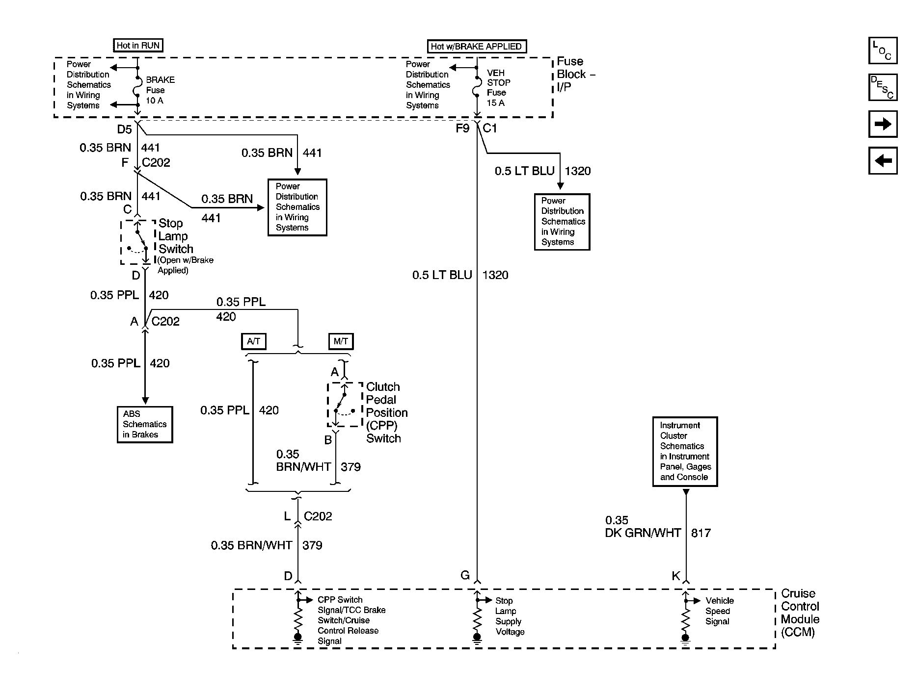
Fig 4: Cruise Control Schematic: 4.8, 5.3, 6.0, and 8.1L - 2 of 2
GM1244755Courtesy of GENERAL MOTORS CORP.
Fig 5: Cruise Control Schematic: Diesel - 1 of 2
GM1244774Courtesy of GENERAL MOTORS CORP.
Fig 6: Cruise Control Schematic: Diesel - 2 of 2
GM1379290Courtesy of GENERAL MOTORS CORP.