LEMON Manuals: Even more car manuals for everyone: 1960-2025
Home >> Cadillac >> 2005 >> STS 3.6 7 >> Repair and Diagnosis (Single Page) >> Accessories & Equipment >> Anti-Theft Systems >> Keyless Entry System >> Component Locator >> Keyless Entry Component Views
April 5, 2026: LEMON Manuals is launched! Read the announcement.

Keyless Entry Component Views

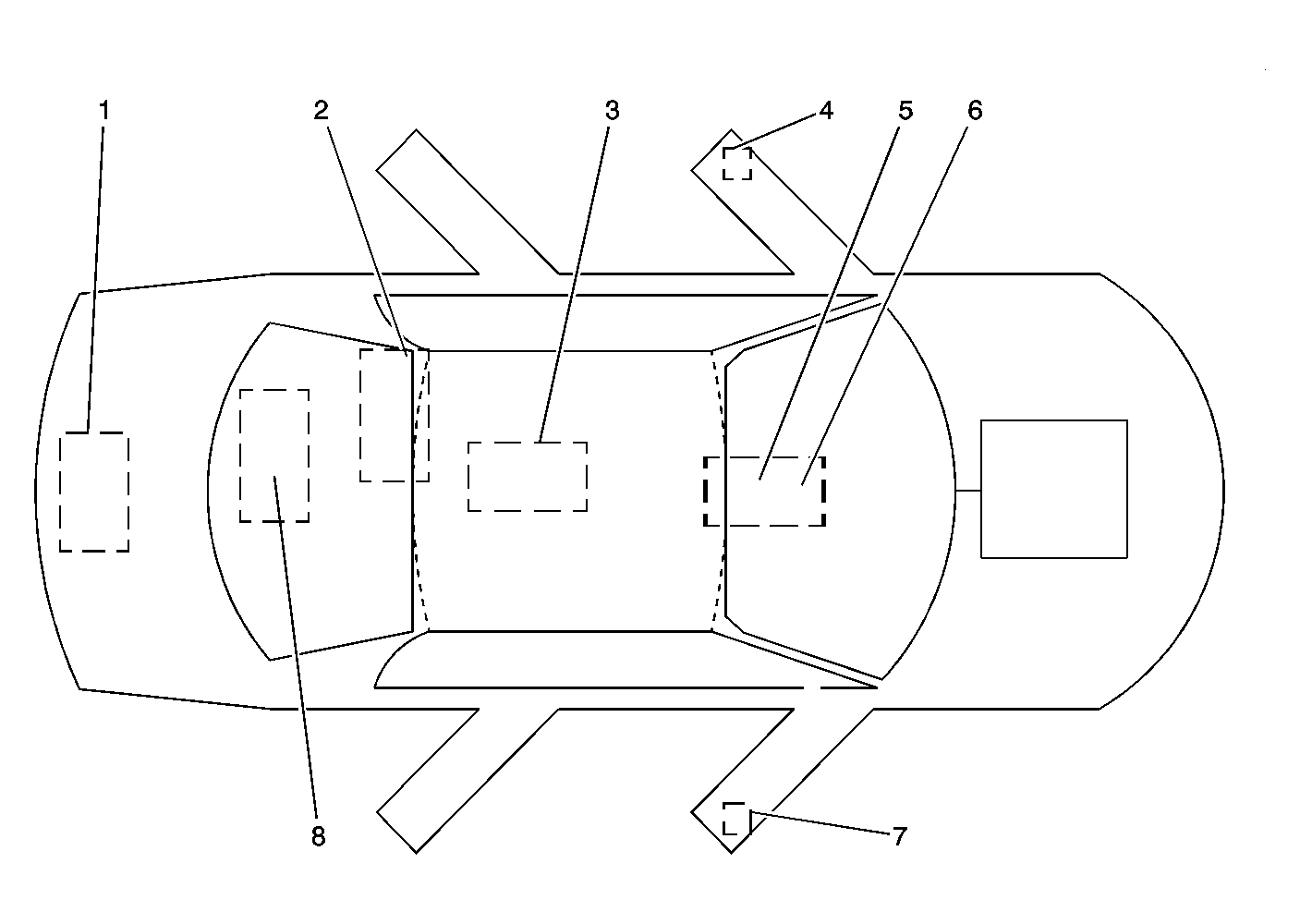
Fig 1: Keyless Entry Component Locations
GM1507228Courtesy of GENERAL MOTORS CORP.
Callout Component Name
1 The Keyless Entry Antenna Rear Compartment, located in the rear compartment area near the rear compartment lid latch
2 The Keyless Entry Antenna Rear Window, located on the upper left area of the rear window
3 The Keyless Entry Antenna-Headliner, located in the passenger area, beneath the headliner
4 The LF door Handle Antenna, located within the LF exterior door handle
5 The Keyless Entry Antenna, located inside the passenger compartment, within the center console
6 The Keyless Entry Antenna-Backup, located in the passenger area, within the center console
7 The RF door Handle Antenna, located within the RF exterior door handle
8 The Remote Control Door Lock Receiver (RCDLR), located below the rear shelf
Fig 2: Under the Rear Window Shelf Component View
GM1488523Courtesy of GENERAL MOTORS CORP.
Callout Component Name
1 Module Bracket Assembly
2 Remote Control Door Lock Receiver (RCDLR)
3 Rear Integration Module (RIM)
4 Rear Object Sensor Control Module
5 Rear Window Shelf