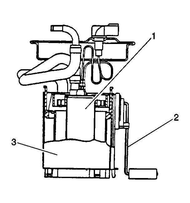
Modular Fuel Sender
| Callout | Component Name |
|---|---|
| 1 | The Fuel Pump |
| 2 | The Fuel Gauge Float Arm |
| 3 | The Fuel Reservoir |
The modular fuel sender assembly mounts to the threaded opening of the plastic fuel tank with a multi-lipped seal and a threaded retainer (nut). The reservoir, containing the exterior inlet strainer, the electric fuel pump, and the pump strainer, maintains contact with the tank bottom. This design provides:
- Optimum fuel level in the integral fuel reservoir during all fuel tank levels and during driving conditions
- An improved tank fuel level measuring accuracy
- An improved coarse straining and added pump inlet filtering
- More extensive internal fuel pump isolation for noiseless operation
The modular fuel sender assembly maintains an optimum fuel level in the reservoir (bucket). The fuel entering the reservoir is drawn in by the following components:
- The first stage of the fuel pump through the external strainer
AND/OR
- The secondary umbrella valve
OR
- The return fuel line, whenever the level of fuel is below the top of the reservoir