LEMON Manuals: Even more car manuals for everyone: 1960-2025
Home >> Cadillac >> 2005 >> STS V8-4.6L VIN A >> Repair and Diagnosis >> Specifications >> Mechanical Specifications >> Engine >> System Specifications >> Thread Repair Specifications
April 5, 2026: LEMON Manuals is launched! Read the announcement.

Thread Repair Specifications



Thread Repair Specifications

Left Cylinder Head Camshaft Cover Face:








Left Cylinder Head Camshaft Cover Face

Left Cylinder Head Front Face:








Left Cylinder Head Front Face

Left Cylinder Head Intake Face:








Left Cylinder Head Intake Face

Left Cylinder Head Exhaust Face:








Left Cylinder Head Exhaust Face

Left Cylinder Head Rear Face:








Left Cylinder Head Rear Face

Right Cylinder Head Camshaft Cover Face:








Right Cylinder Head Camshaft Cover Face

Right Cylinder Head Front Face:








Right Cylinder Head Front Face

Right Cylinder Head Intake Face:








Right Cylinder Head Intake Face

Right Cylinder Head Exhaust Face:








Right Cylinder Head Exhaust Face

Right Cylinder Head Rear Face:








Right Cylinder Head Rear Face

Engine Block Front:








Engine Block Front

Engine Block Left Side:








Engine Block Left Side

Engine Block Right Side:








Engine Block Right Side

Engine Block Rear:








Engine Block Rear

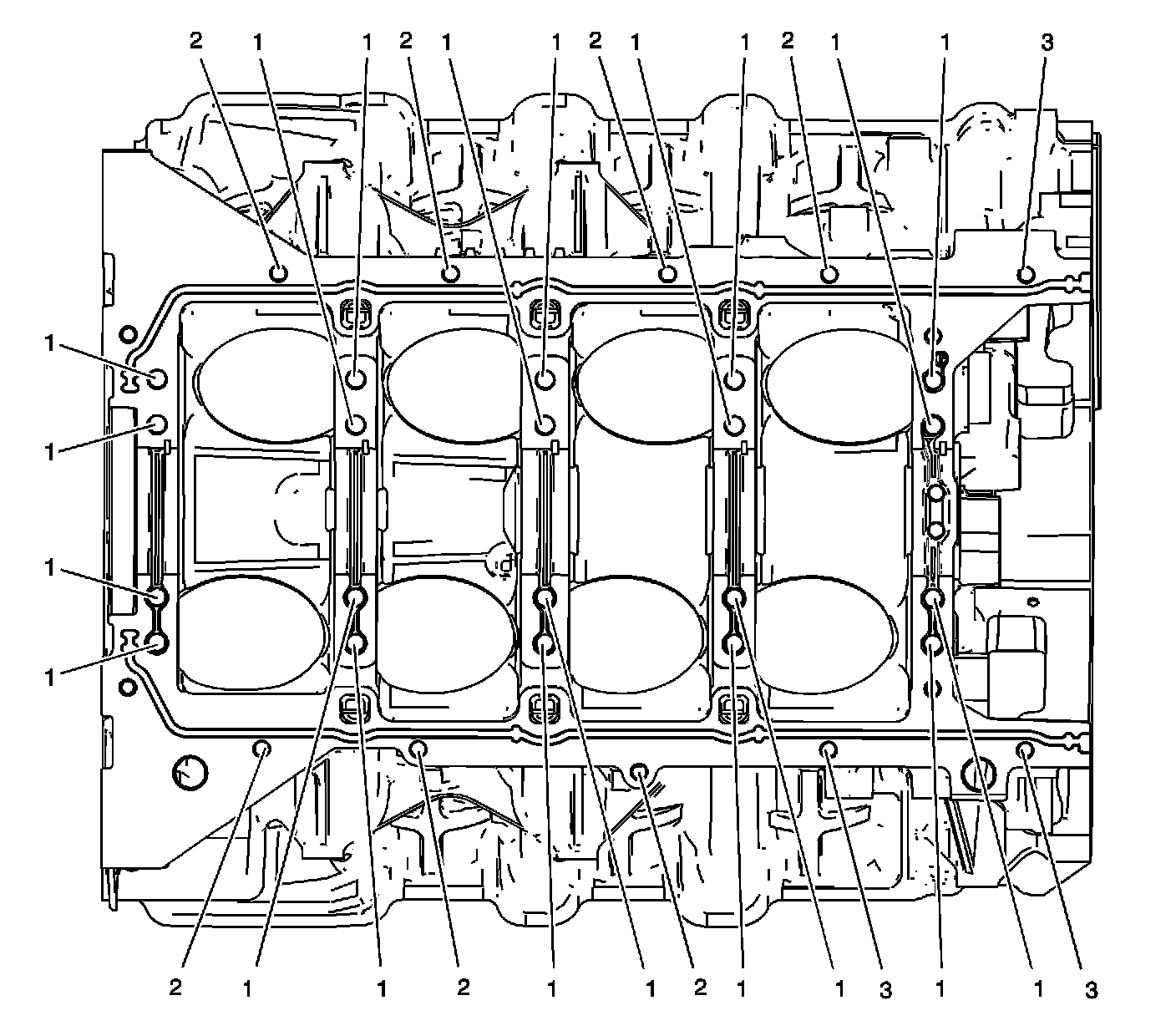
Engine Block Top:








Engine Block Top

Engine Block Left Deck Face:








Engine Block Left Deck Face

Engine Block Right Deck Face:








Engine Block Right Deck Face

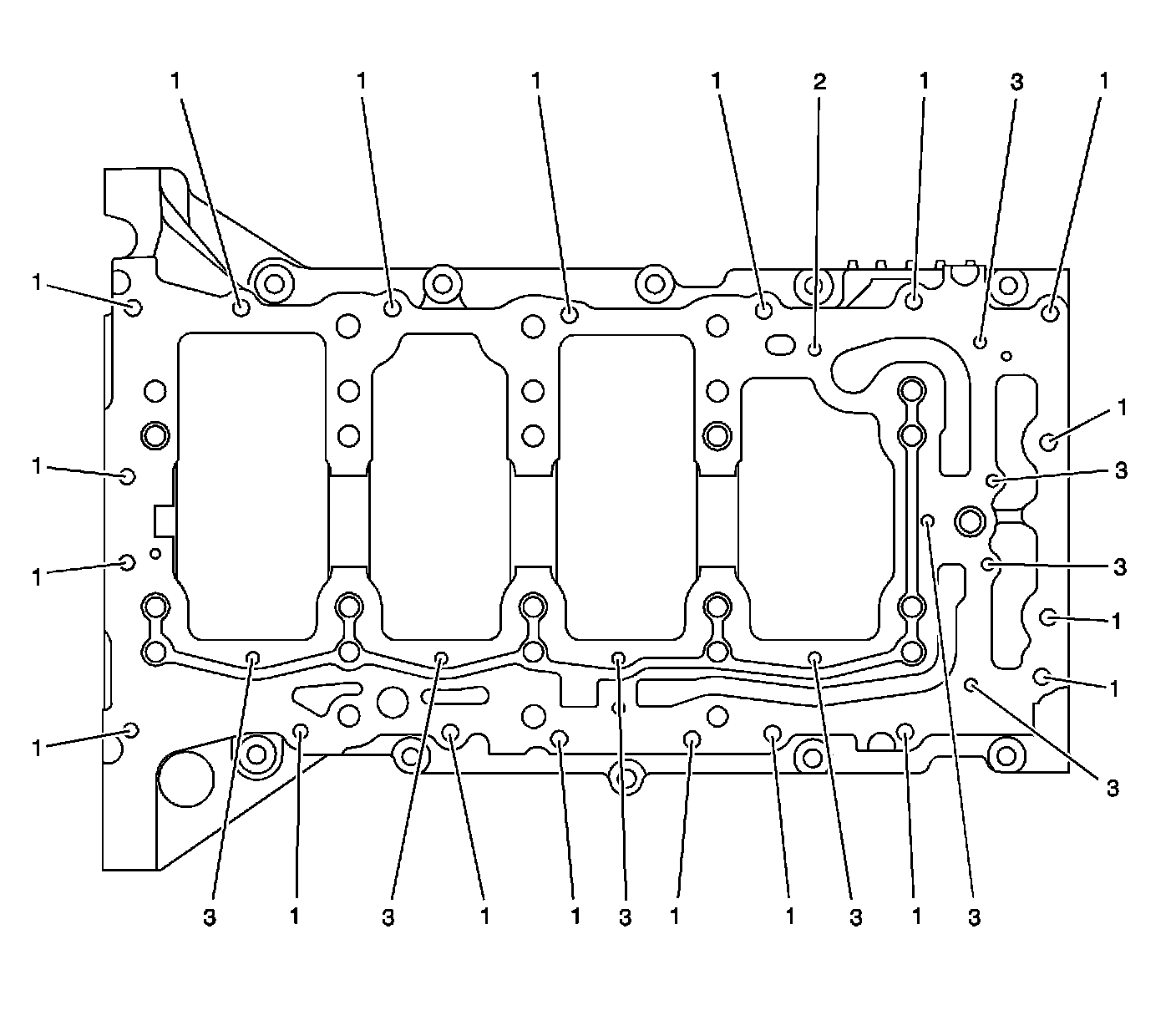
Engine Block Lower Face:








Engine Block Lower Face

Lower Crankcase Pan Face:








Lower Crankcase Pan Face

Engine Front Cover:








Engine Front Cover

Camshaft Position Actuator Housing:








Camshaft Position Actuator Housing

Camshaft Covers:








Camshaft Covers

Oil Pan Left:








Oil Pan - Left

Oil Pan Right:








Oil Pan - Right

Oil Pan - Rear:








Oil Pan - Rear

Oil Pan Bottom:








Oil Pan - Bottom