LEMON Manuals: Even more car manuals for everyone: 1960-2025
Home >> Cadillac >> 2005 >> XLR >> Repair and Diagnosis (Single Page) >> Accessories & Equipment >> Wiper/Washer Systems >> Wiper System And Washer System >> Component Locator >> Wiper/Washer System Connector End Views
April 5, 2026: LEMON Manuals is launched! Read the announcement.

Wiper/Washer System Connector End Views

Headlamp Washer Fluid Pump Connector End View

GM684792Courtesy of GENERAL MOTORS CORP.
Connector Part Information
  • OEM: 12052613
  • Service: 12085212
  • 2-Way F Metri-Pack 480 Series, Sealed (BK)
Pin Wire Color Circuit No. Function
A BK 1350 Ground
B PU 1197 Headlamp Washer Pump Control
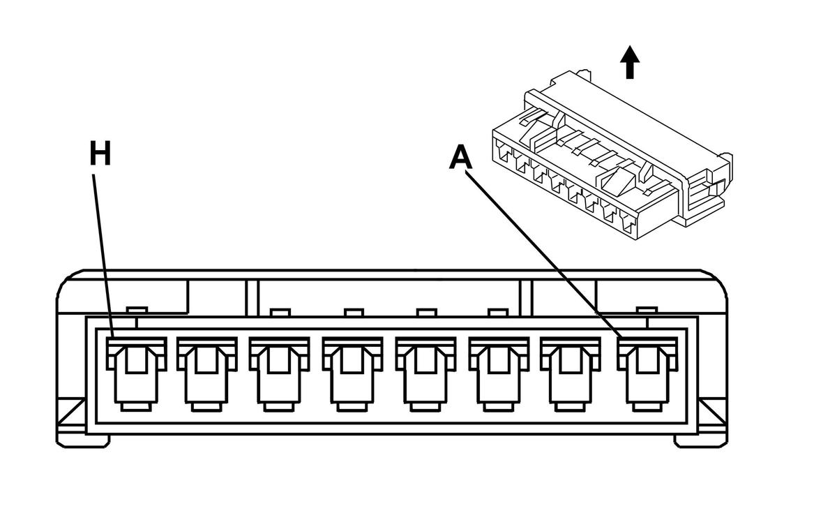
Outside Moisture Sensor Connector End View

GM808876Courtesy of GENERAL MOTORS CORP.
Connector Part Information
  • OEM: 15398934
  • Service: 88953367
  • 8-Way F (BK)
Pin Wire Color Circuit No. Function
A GY 91 Windshield Wiper Motor Relay Coil Supply Voltage
B L-GN 1715 Windshield Wiper Switch High Signal
C BK 1550 Ground
D YE 143 Accessory Voltage
E L-BU 1714 Windshield Wiper Switch Low Signal
F PK 94 Windshield Washer Switch Signal
G PK 5780 Windshield Wiper Motor Park Switch Fused Signal
H - - Not Used
Windshield Washer Fluid Level Switch Connector End View

GM655692Courtesy of GENERAL MOTORS CORP.
Connector Part Information
  • OEM: 12162195
  • Service: 88987183
  • 2-Way F Metri-Pack 150.2 Series, Sealed, Pull To Seat (BK)
Pin Wire Color Circuit No. Function
A BK 1350 Ground
B TN/WH 99 Windshield Washer Fluid Level Signal
Windshield Washer Fluid Pump Connector End View

GM523630Courtesy of GENERAL MOTORS CORP.
Connector Part Information
  • OEM: 15326801
  • Service: 15306156
  • 2-Way F GT 150 Series (BK)
Pin Wire Color Circuit No. Function
A BK 1350 Ground
B OG 228 Windshield Washer Pump Control
Windshield Wiper Motor Connector End View

GM684863Courtesy of GENERAL MOTORS CORP.
Connector Part Information
  • OEM: 15393432
  • Service: 89046627
  • 5-Way F (BK)
Pin Wire Color Circuit No. Function
A BK 1450 Ground
B YE 196 Windshield Wiper Motor Park Switch Signal
C YE 243 Accessory Voltage
D PU 92 Windshield Wiper Motor High Speed Control
E D-GN 95 Windshield Wiper Motor Low Speed Control
Windshield Wiper/Washer Switch Connector End View

GM1331432Courtesy of GENERAL MOTORS CORP.
Connector Part Information
  • OEM: 15339096
  • Service: NS
  • 7-Way F 150 Series(BK)
Pin Wire Color Circuit No. Function
G PK 94 Windshield Washer Switch Signal
H L-BU 1714 Windshield Wiper Switch Low Signal
J - - Not Used
K L-GN 1715 Windshield Wiper Switch High Signal
L - - Not Used
M BK 1450 Ground
N - - Not Used