LEMON Manuals: Even more car manuals for everyone: 1960-2025
Home >> Cadillac >> 2006 >> CTS V6-2.8L >> Repair and Diagnosis >> Diagrams >> Exploded Views >> Automatic Transmission/Transaxle >> System Diagram >> Control Valve Body and Accumulator Assembly >> Unit Repair Manual
April 5, 2026: LEMON Manuals is launched! Read the announcement.

Unit Repair Manual



Disassembled Views

Control Valve Body and Accumulator Assembly:





300 - Control Valve Body Bolt M6 x 1.0 x 38 - 7
301 - Control Valve Top Channel Plate
302 - Control Valve Channel Plate Ball Check Spring
303 - Control Valve Channel Plate Gasket
304 - Control Valve Bottom Channel Plate
305 - Control Valve Body Gasket
306 - Control Valve Body Ball Check Valve
307 - Control Valve Body Spacer Plate
308 - TCC PWM Solenoid Valve Filter Assembly
309 - Control Valve Body Spacer Plate Gasket
310 - Control Valve Rear Body Assembly
311 - Control Valve Front Body Assembly
312 - Pressure Control Solenoid Valve Filter Assembly
313 - Direct Clutch Accumulator Piston Spring - Model Dependent
314 - Direct Clutch Accumulator Piston Fluid Seal Ring - Model Dependent
315 - Direct Clutch Accumulator Piston - Model Dependent
316 - Direct Clutch Accumulator Piston Fluid Seal Ring - Model Dependent
317 - Direct Clutch Accumulator Housing - Model Dependent
318 - Accumulator Housing Bolt M6 x 1.0 x 30 - 12 - Model Dependent
318 - Accumulator Housing Bolt M6 x 1.0 x 30 - 12
318 - Accumulator Housing Bolt M6 x 1.0 x 30 - 12
318 - Accumulator Housing Bolt M6 x 1.0 x 30 - 12
319 - Overdrive Clutch Accumulator Piston Spring
320 - Overdrive Clutch Accumulator Piston Fluid Seal Ring
321 - Overdrive Clutch Accumulator Piston
322 - Overdrive Clutch Accumulator Piston Fluid Seal Ring
323 - Overdrive Clutch Accumulator Housing
324 - Intermediate Clutch Accumulator Piston Spring
325 - Intermediate Clutch Accumulator Piston Fluid Seal Ring
326 - Intermediate Clutch Accumulator Piston
327 - Intermediate Clutch Accumulator Piston Fluid Seal Ring
328 - Intermediate Clutch Accumulator Housing
329 - 2nd Clutch Accumulator Piston Spring - Model Dependent
330 - 2nd Clutch Accumulator Piston Seal Ring - Model Dependent
331 - 2nd Clutch Accumulator Piston - Model Dependent
332 - 2nd Clutch Accumulator Piston Seal Ring - Model Dependent
333 - 2nd Clutch Accumulator Housing - Model Dependent
334 - 2nd Clutch Accumulator Piston Inner Spring - Model Dependent

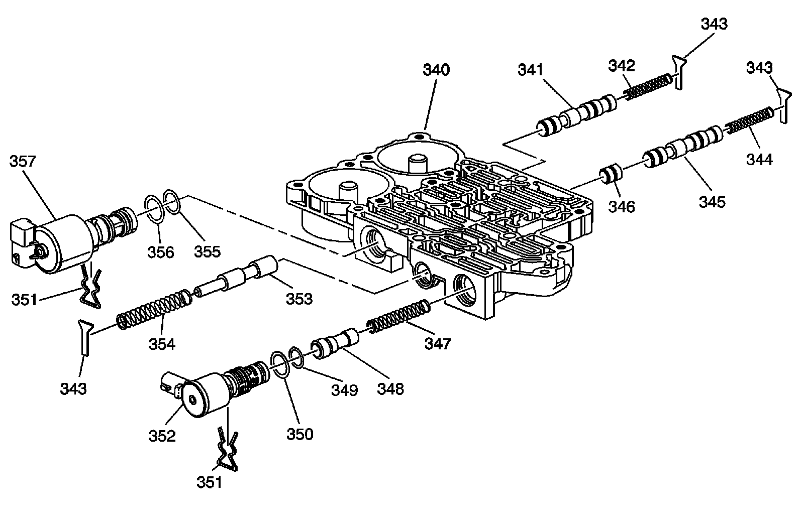
Front Control Valve Body:





340 - Front Control Valve Body
341 - Safety Mode Valve
342 - Safety Mode Valve Spring
343 - Valve Spring Retainer - 3
343 - Valve Spring Retainer - 3
343 - Valve Spring Retainer - 3
344 - 3-4 Shift Valve Spring
345 - 3-4 Shift Valve
346 - 3-4 Shift Control Valve
347 - TCC Regulator Apply Valve Spring
348 - TCC Regulator Apply Valve
349 - Solenoid Valve - O-Ring Seal
350 - Solenoid Valve - O-Ring Seal
351 - Solenoid Valve Retainer - 2
351 - Solenoid Valve Retainer - 2
352 - TCC PWM Solenoid Valve
353 - Feed Limit Valve
354 - Feed Limit Valve Spring
355 - Pressure Control Solenoid - O-Ring Seal
356 - Pressure Control Solenoid - O-Ring Seal
357 - Pressure Control (PC) Solenoid Assembly

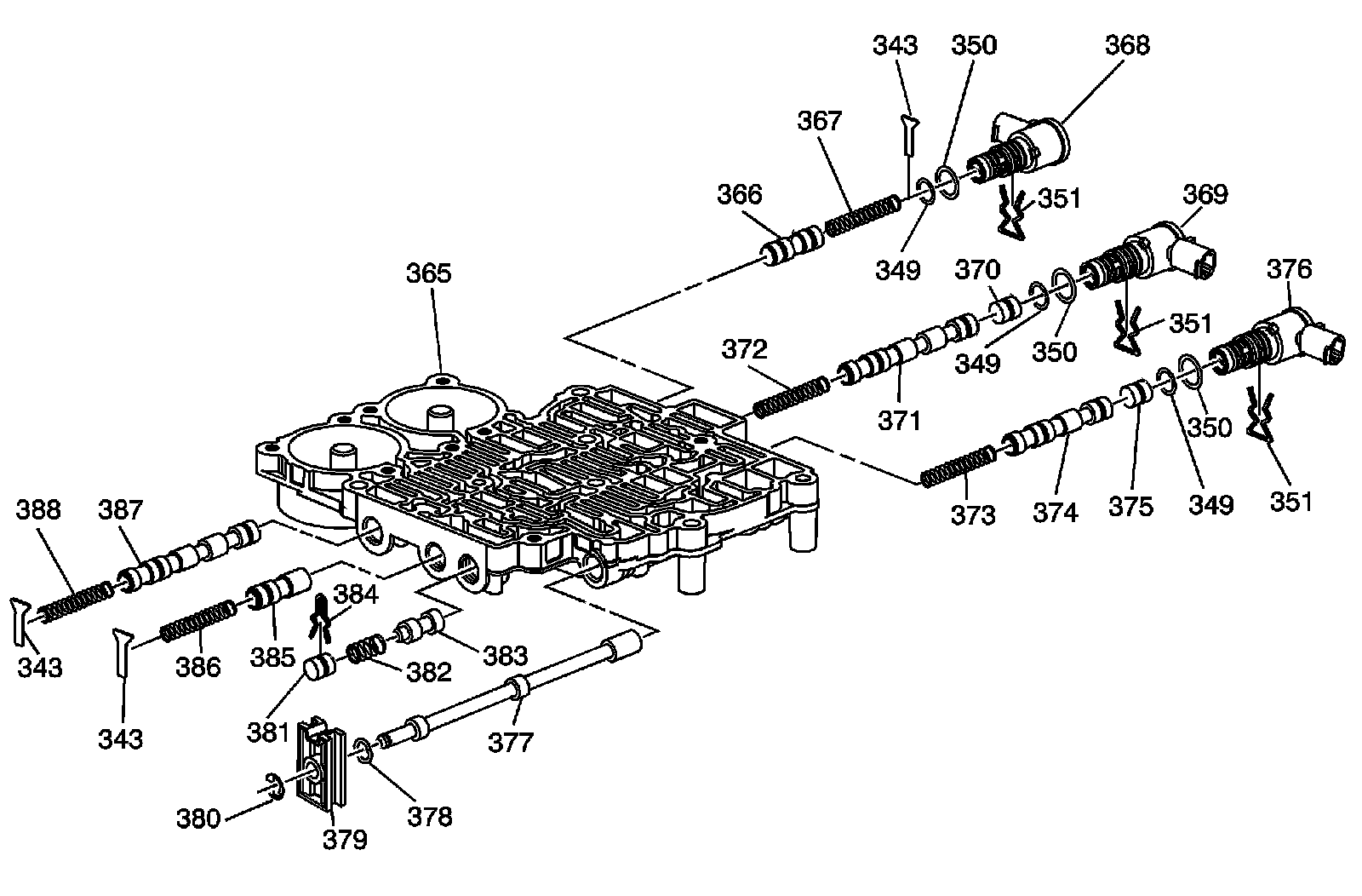
Rear Control Valve Body:





343 - Valve Spring Retainer
343 - Valve Spring Retainer
343 - Valve Spring Retainer
349 - Solenoid Valve - O-Ring Seal
349 - Solenoid Valve - O-Ring Seal
349 - Solenoid Valve - O-Ring Seal
350 - Solenoid Valve - O-Ring Seal
350 - Solenoid Valve - O-Ring Seal
350 - Solenoid Valve - O-Ring Seal
351 - Solenoid Valve Retainer
351 - Solenoid Valve Retainer
351 - Solenoid Valve Retainer
365 - Rear Control Valve Body
366 - 1-2 Shift Control Valve
367 - 1-2 Shift Control Valve Spring
368 - 1-2 Shift Solenoid (SS) Valve Assembly
369 - 2-3 Shift Solenoid (SS) Valve Assembly
370 - 2-3 Shift Control Valve
371 - 2-3 Shift Valve
372 - 2-3 Shift Valve Spring
373 - 4-5 Shift Valve Spring
374 - 4-5 Shift Valve
375 - 4-5 Shift Control Valve
376 - 4-5 Shift Solenoid (SS) Valve Assembly
377 - Manual Valve
378 - Manual Valve Link Washer - Waved
379 - Manual Valve Link
380 - Manual Valve Link Retainer
381 - Low Pressure Control Valve Bore Plug
382 - Low Pressure Control Valve Spring
383 - Low Pressure Control Valve
384 - Low Pressure Control Valve Bore Retainer
385 - Reverse Lockout Valve
386 - Reverse Lockout Valve Spring
387 - 1-2 Shift Valve
388 - 1-2 Shift Valve Spring