LEMON Manuals: Even more car manuals for everyone: 1960-2025
Home >> Cadillac >> 2006 >> CTS V6-2.8L >> Repair and Diagnosis >> Diagrams >> Exploded Views >> Manual Transmission/Transaxle >> Case Components
April 5, 2026: LEMON Manuals is launched! Read the announcement.

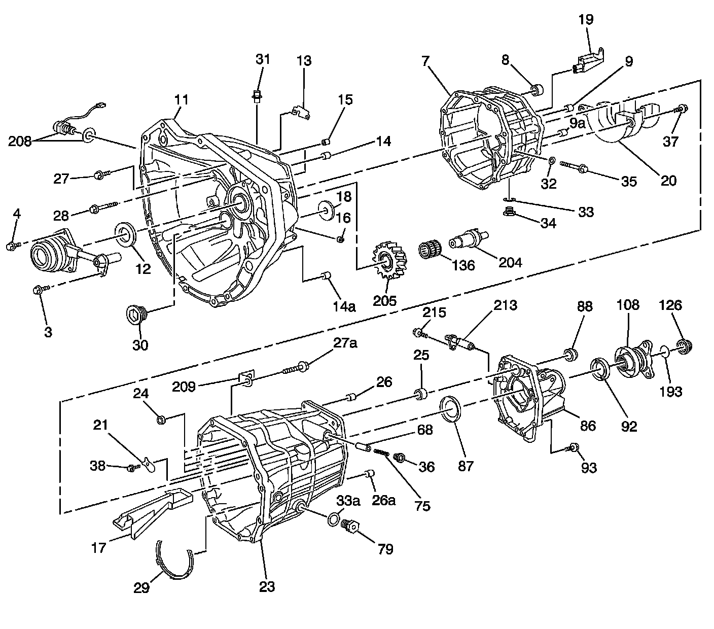
Case Components



Disassembled Views

Case Components:





3 - Clutch Actuator Bolt/Screw - M6 x 1.0
4 - Clutch Actuator Bolt/Screw - M8 x 1.0
7 - Transmission Intermediate Case
8 - Shift Shaft Bearing Assembly
9 - Transmission Rear Case Locating Pin
9a - Transmission Rear Case Locating Pin
11 - Transmission Front Case
12 - Input Shaft Seal
13 - Input Shaft Bearing Oil Shield
14 - Select Control Lever Bracket Pin
14a - Transmission Case Intermediate Locating Pin
15 - Transmission Case Locating Pin
16 - Transmission Case Hole Plug
17 - Transmission Rear Case Oil Trough
18 - Input Shaft Bearing Oil Slinger - Front
19 - Oil Trough
20 - Transmission Intermediate Case Oil Trough
21 - Counter Gear Bearing Retainer
23 - Transmission Rear Case
24 - Shift Shaft Bushing
25 - Shift Shaft Bearing Assembly
26 - Transmission Extension Locating Pin
26a - Transmission Extension Locating Pin
27 - Transmission Intermediate Case Bolt/Screw - M10 x 1.25
27a - Backup Switch Bracket Bolt/Screw
28 - Transmission Intermediate Case Bolt/Screw - M10 x 1.25
29 - Transmission Rear Case Oil Trough Gasket
30 - Clutch Housing Hole Plug
31 - Vent Assembly
32 - Reverse Idler Gear Shaft Bolt Gasket
33 - Oil Drain Plug Gasket
33a - Oil Fill Plug Gasket
34 - Oil Drain Plug
35 - Reverse Idler Gear Shaft Retainer Bolt/Screw
36 - Shift Shaft Detent Plug
37 - Transmission Intermediate Case Oil Trough Bolt/Screw
38 - Counter Gear Bearing Retainer Bolt/Screw
68 - Shift Shaft Detent Pin
75 - Shift Shaft Detent Spring
79 - Oil Fill Plug
86 - Transmission Extension
87 - Main Shaft Bearing Rear Oil Slinger
88 - Shift Control Shaft Seal
92 - Rear Output Shaft Seal Assembly
93 - Transmission Extension Bolt/Screw
108 - Propshaft Transmission Flange Assembly
126 - Propshaft Transmission Flange Nut
136 - Reverse Idler Gear Bearing Assembly
193 - Propshaft Transmission Flange Fluid Seal
204 - Reverse Idler Gear Shaft
205 - Reverse Idler Gear
208 - Backup Lamp Switch Assembly
209 - Backup Lamp Switch Retainer
213 - Output Sensor Assembly
215 - Vehicle Speed Sensor Bolt/Screw