LEMON Manuals: Even more car manuals for everyone: 1960-2025
Home >> Cadillac >> 2006 >> Escalade EXT >> Repair and Diagnosis (Single Page) >> Accessories & Equipment >> Collision/Avoidance >> Object Detection System >> Repair Instructions >> Object Alarm Module Replacement (Cadillac EXT) >> Removal Procedure
April 5, 2026: LEMON Manuals is launched! Read the announcement.

Removal Procedure

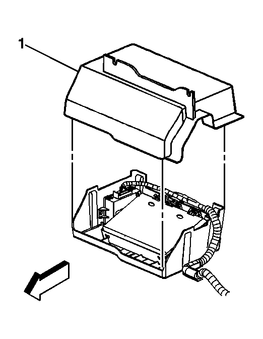
    Fig 1: Removing Object Alarm Module Cover (Cadillac EXT)
    GM814570Courtesy of GENERAL MOTORS CORP.
  1. Lift the left rear seat cushion up to gain access to the electronic suspension control module and rear object alarm module container.
  2. Remove the cover retainers, discard if damaged.
  3. Partially remove the container assembly from underneath the seat.
  4. Remove the cover (1) by pushing in on the tabs to release the cover.
  5. Fig 2: Disconnecting Electrical Connector From Rear Object Alarm Module (Cadillac EXT)
    GM814571Courtesy of GENERAL MOTORS CORP.
  6. Disconnect the electrical connector (1) from the rear object alarm module (2).
  7. Fig 3: Removing Object Alarm Module From Container (Cadillac EXT)
    GM1363966Courtesy of GENERAL MOTORS CORP.
  8. Release the tabs retaining the module to the container (2).
  9. Remove the module (1) from the container (2).