LEMON Manuals: Even more car manuals for everyone: 1960-2025
Home >> Cadillac >> 2006 >> Escalade EXT >> Repair and Diagnosis (Single Page) >> Electrical >> Component Locations >> Wiring Systems - Component Views >> Electrical Center Identification Views >> Fuse Block - I/P Bottom View >> Notes
April 5, 2026: LEMON Manuals is launched! Read the announcement.

Fuse Block - I/P Bottom View: Notes

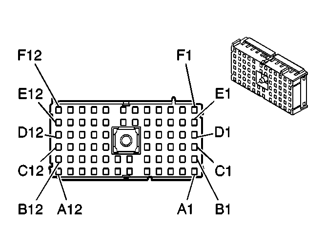
Fig 1: Fuse Block - I/P Bottom View
GM880533Courtesy of GENERAL MOTORS CORP.
Fuse Block - I/P - C1

GM362761Courtesy of GENERAL MOTORS CORP.
Connector Part Information
  • 12193906
  • 68-Way F Metri-Pack 280 Series (BK)
Pin Wire Color Circuit No. Function
A1 - - Not Used
A2 GY/BK 255 Power Door Lock Fuse Supply Voltage
A3 - - Not Used
A4 TN/BK 254 Power Door Unlock Fuse Supply Voltage
A5 - - Not Used
A6 D-BU 2115 Right Turn Signal Lamps Supply Voltage
A7 OG 4240 Battery Positive Voltage
A8 YE 1618 Trailer Left Rear Turn/Stop Lamp Supply Voltage
A9 D-GN 1619 Trailer Right Rear Turn/Stop Lamp Supply Voltage
A10 - - Not Used
A11 D-BU 2115 Right Turn Signal Lamps Supply Voltage
D-BU 2115 Right Turn Signal Lamps Supply Voltage
A12 RD 42 Battery Positive Voltage
B1 YE 143 Accessory Voltage
YE 143 Accessory Voltage
B2 YE 43 Accessory Voltage
B3 YE 1977 Rear Fog Lamp Relay Control (w/VD1)
YE 1977 Rear Fog Lamp Relay Control (w/VD1)
B4-B7 - - Not Used
B8 WH 17 Stop Lamp Switch Signal
B9-B11 - - Not Used
B12 OG 2140 Battery Positive Voltage
C1 - - Not Used
C2 BN 141 Ignition 3 Voltage (w/CJ3)
C3 - - Not Used
C4 BN 41 Ignition 3 Voltage
C5 BN 441 Ignition 3 Voltage (w/JL4 or NW7)
C6-C7 - - Not Available
C8 L-BU 1620 Trailer CHMSL Supply Voltage
C9-C12 - - Not Used
D1 YE 243 Accessory Voltage
D2 - - Not Used
D3 BN 341 Ignition 3 Voltage
BN 341 Ignition 3 Voltage
D4 - - Not Used
D5 BN 441 Ignition 3 Voltage
BN 441 Ignition 3 Voltage
D6-D7 - - Not Available
D8-D9 - - Not Used
D10 BK/WH 1851 Ground
D11 - - Not Used
D12 BN 541 Ignition 3 Voltage (NYS)
E1 - - Not Used
E2 BN 241 Ignition 3 Voltage (NP8/NR4)
BN 241 Ignition 3 Voltage (NP8)
E3 RD 122 Rear Fog Lamp Supply Voltage (VD1)
E4 GY 118 Left Front Door Speaker Output (-)
GY 118 Left Front Tweeter Speaker Output (-) (Y91)
E5 BN 1046 Class 2 Serial Data
E6 - - Not Used
E7 PK 1691 Automatic Day/Night Mirror Low Reference
E8 WH 530 Ignition 0 Voltage
E9 OG 4540 Battery Positive Voltage (VD1)
E10 RD 842 Battery Positive Voltage
E11 OG 4040 Battery Positive Voltage
E12 OG 2240 Battery Positive Voltage
F1 YE 343 Accessory Voltage (E52)
F2 - - Not Used
F3 L-BU 2114 Left Turn Signal Lamps Supply Voltage
L-BU 2114 Left Turn Signal Lamps Supply Voltage
F4 GY 1690 Automatic Day/Night Mirror Signal
F5 TN 201 Left Front Door Speaker Output (+)
TN 201 Left Front Tweeter Speaker Output (+) (Y91)
F6 BK 1050 Ground
F7 - - Not Used
F8 PK 1020 Off/Run/Crank Voltage
PK 1020 Off/Run/Crank Voltage (VD1)
F9 L-BU 1320 CHMSL Supply Voltage/Stop Lamp Supply Voltage
F10 - - Not Used
F11 OG 540 Battery Positive Voltage
F12 - - Not Used
Fuse Block - I/P - C2

GM886362Courtesy of GENERAL MOTORS CORP.
Connector Part Information
  • 12193930
  • 6-Way F Metri-Pack 280 Series Flexlock (BK)
Pin Wire Color Circuit No. Function
A OG 300 Ignition 3 Voltage
B L-GN 1427 Right Turn Signal Switch Signal
C D-GN 1428 Left Turn Signal Switch Signal
D WH 111 Hazard Switch Signal
E WH 1390 Off/Run/Crank Voltage
F BN 4 Accessory Voltage
Fuse Block - I/P - C3

GM524807Courtesy of GENERAL MOTORS CORP.
Connector Part Information
  • 12194035
  • 12-Way F Metri-Pack 280 Series (BK)
Pin Wire Color Circuit No. Function
A BN/WH 230 Instrument Panel Lamps Dimming Control (w/o YE9)
B - - Not Used
C OG 1240 Battery Positive Voltage
D BK 1050 Ground
E - - Not Used
F OG 4140 Battery Positive Voltage
G TN 201 Left Front Speaker Output (+) (UQ3)
TN 201 Left Front Speaker Output (+)
H PK 1691 Automatic Day/Night Mirror Low Reference (DL3)
J BN 1046 DDM Class 2 Serial Data
K GY 1690 Automatic Day/Night Mirror Signal (DL3)
L GY 118 Left Front Speaker Output (-) (UQ3)
GY 118 Left Front Speaker Output (-)
M L-BU 2114 Left Turn Signal Lamps Supply Voltage
Fuse Block - I/P - C4

GM655838Courtesy of GENERAL MOTORS CORP.
Connector Part Information
  • 15328768
  • 12-Way F Metri-Pack 280 Series Flexlock (BN)
Pin Wire Color Circuit No. Function
A - - Not Used
B BN 541 Ignition 3 Voltage
C BN 541 Ignition 3 Voltage (Z75)
BN 541 Ignition 3 Voltage
D OG 3140 Battery Positive Voltage (CJ3/CJ2)
E TN 294 Door Lock Actuator Unlock Control
TN 294 Door Lock Actuator Unlock Control
F TN 294 Door Lock Actuator Unlock Control (All Except Avalanche Escalade EXT)
G OG 3040 Battery Positive Voltage
H L-BU 1620 Trailer CHMSL Supply Voltage
J - - Not Used
K GY 295 Left Rear Door Lock Actuator Lock Control
GY 295 Right Rear Door Lock Actuator Lock Control
L - - Not Used
M OG 1240 Battery Positive Voltage