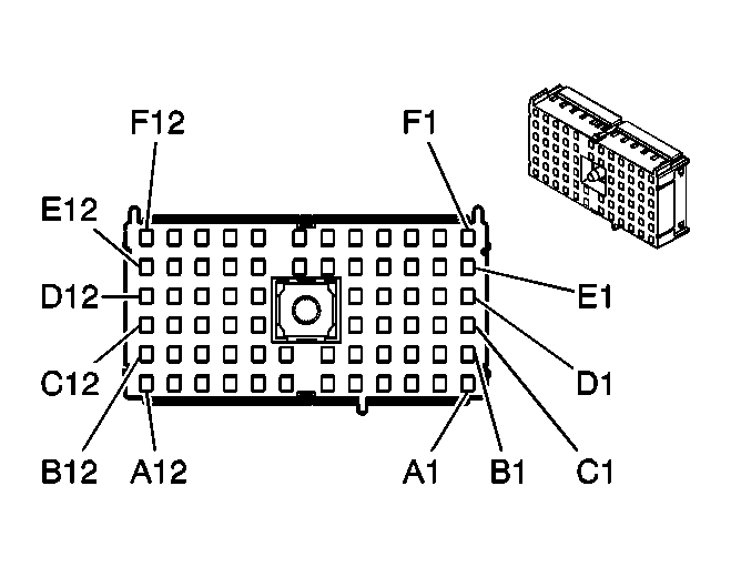
Relay Block - I/P Body Bottom View: Notes
Relay Block - I/P - C1
| Connector Part Information |
|
||
|---|---|---|---|
| Pin | Wire Color | Circuit No. | Function |
| A1 | L-GN | 24 | Backup Lamp Supply Voltage - BCM |
| L-GN | 24 | Backup Lamp Supply Voltage - Junction Block - Rear | |
| A2 | - | - | Not Used |
| A3 | BK/WH | 1704 | Low Reference |
| A4 | D-GN/ WH |
636 | Ambient Air Temperature Sensor Signal |
| A5 | BK/WH | 1851 | Ground |
| BK/WH | 1851 | Ground | |
| A6 | WH | 193 | Rear Defog Relay Control |
| A7 | - | - | Not Used |
| A8 | BN/WH | 230 | Instrument Panel Lamps Dimming Control |
| BN/WH | 230 | Instrument Panel Lamps Dimming Control (Y91) | |
| A9 | YE | 1139 | Ignition 1 Voltage |
| A10 | - | - | Not Used |
| A11 | BN/WH | 230 | Instrument Panel Lamps Dimming Control (NP1/NP8) |
| BN/WH | 230 | Instrument Panel Lamps Dimming Control (VSES) | |
| A12 | GY/BK | 690 | Courtesy Lamp Supply Voltage |
| B1 | PK | 1045 | Serial Communications Circuit (w/o Y91) |
| B2 | OG | 3740 | Battery Positive Voltage (UQ7 w/o Y91) |
| B3 | BK/WH | 1851 | Ground |
| BK/WH | 1851 | Ground | |
| B4 | - | - | Not Used |
| B5 | BK/WH | 1851 | Ground |
| BK/WH | 1851 | Ground | |
| B6 | OG | 1840 | Battery Positive Voltage |
| B7 | RD | 642 | Battery Positive Voltage |
| B8 | BN/WH | 230 | Instrument Panel Lamps Dimming Control |
| BN/WH | 230 | Instrument Panel Lamps Dimming Control (JL4) | |
| BN/WH | 230 | Instrument Panel Lamps Dimming Control (NYS) | |
| B9 | D-GN/WH | 817 | Vehicle Speed Signal (UQ7 w/Y91) |
| D-GN/WH | 817 | Vehicle Speed Signal | |
| B10 | - | - | Not Used |
| B11 | OG | 3240 | Battery Positive Voltage (w/o Y91) |
| B12 | - | - | Not Used |
| C1 | OG | 340 | Battery Positive Voltage (YE9) |
| C2 | BN/WH | 230 | Instrument Panel Lamps Dimming Control |
| BN/WH | 230 | Instrument Panel Lamps Dimming Control (YE9) | |
| C3 | BN/WH | 230 | Instrument Panel Lamps Dimming Control (YE9) |
| BN/WH | 230 | Instrument Panel Lamps Dimming Control (U1S) | |
| C4 | OG | 1732 | Inadvertent Power Supply Voltage |
| C5 | BK/WH | 1851 | Ground |
| C6-C7 | - | - | Not Available |
| C8 | BN/WH | 230 | Instrument Panel Lamps Dimming Control |
| BN/WH | 230 | Instrument Panel Lamps Dimming Control | |
| C9 | OG | 1340 | Battery Positive Voltage |
| C10 | BN | 2409 | Interior Park Lamps Supply Voltage |
| C11 | OG | 1732 | Inadvertent Power Supply Voltage (Y91) |
| OG | 1732 | Inadvertent Power Supply Voltage (Avalanche/Escalade EXT) | |
| C12 | - | - | Not Used |
| D1 | WH/BK | 5515 | Inside Air Temperature Sensor Assembly Control (CJ2) |
| D2 | BN/WH | 230 | Instrument Panel Lamps Dimming Control |
| D3 | BN/WH | 230 | Instrument Panel Lamps Dimming Control (T89/ w/o Y91) |
| BN/WH | 230 | Instrument Panel Lamps Dimming Control (UM8) | |
| D4 | OG | 1732 | Inadvertent Power Supply Voltage |
| D5 | BK/WH | 1851 | Ground |
| BK/WH | 1851 | Ground (U42) | |
| D6-D7 | - | - | Not Available |
| D8 | BK/WH | 1851 | Ground |
| BK/WH | 1851 | Ground (Y91) | |
| D9 | BK | 1050 | Ground |
| D10 | BN | 2409 | Interior Park Lamps Supply Voltage (906 w/NYS) |
| D11 | - | - | Not Used |
| D12 | OG | 2340 | Battery Positive Voltage (VYU) |
| E1 | BN | 718 | Low Reference (CJ2) |
| E2 | PK | 1691 | Automatic Day/Night Mirror Low Reference (DL3) |
| E3 | - | - | Not Used |
| E4 | PU/WH | 1382 | LED Dimming Signal |
| PU/WH | 1382 | LED Dimming Signal (NP1/NP8) | |
| E5 | BK/WH | 1851 | Ground (AU3/YE9) |
| BK/WH | 1851 | Ground (UQ7/Y91) | |
| E6 | D-GN/WH | 817 | Vehicle Speed Signal |
| D-GN/WH | 817 | Vehicle Speed Signal (NYS) | |
| E7 | PU/WH | 1382 | LED Dimming Signal |
| PU/WH | 1382 | LED Dimming Signal | |
| E8 | BK/WH | 1851 | Ground |
| BK/WH | 1851 | Ground | |
| E9 | - | - | Not Used |
| E10 | RD | 242 | Battery Positive Voltage |
| E11-E12 | - | - | Not Used |
| F1 | D-GN | 734 | Inside Air Temperature Sensor Signal (CJ2) |
| F2 | GY | 1690 | Automatic Day/Night Mirror Signal (DL3) |
| F3 | PK | 739 | Ignition 1 Voltage |
| F4 | TN/WH | 1384 | Selective Ride Control Switch Signal |
| F5 | BK/WH | 1851 | Ground (NP1/NP8) |
| BK/WH | 1851 | Ground (U2K/U2L & Y91) | |
| F6 | PU/WH | 1382 | LED Dimming Signal (Z75 or T79) |
| PU/WH | 1382 | LED Dimming Signal (NYS) | |
| F7 | OG | 4540 | Battery Positive Voltage |
| OG | 4540 | Battery Positive Voltage (T79) | |
| F8 | BK/WH | 1851 | Ground ( Y91) |
| BK/WH | 1851 | Ground (VD1) | |
| F9 | L-BU | 1620 | Trailer CHMSL Supply Voltage |
| F10 | D-BU | 47 | Trailer Auxiliary Supply Voltage (w/o LU3) |
| F11 | YE | 243 | Accessory Voltage |
| F12 | - | - | Not Used |
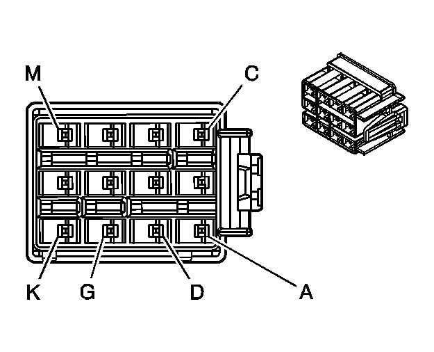
Relay Block - I/P - C3
| Connector Part Information |
|
||
|---|---|---|---|
| Pin | Wire Color | Circuit No. | Function |
| A | L-GN | 24 | Backup Lamp Supply Voltage |
| B | OG | 4540 | Battery Positive Voltage |
| C | BK | 1050 | Ground |
| D | - | - | Not Used |
| E | YE | 1139 | Ignition 1 Voltage |
| F | D-GN | 2308 | Passenger Air Bag OFF Indicator Control (ALO) |
| G | BK/WH | 1704 | Low Reference (YE9) |
| H | D-BU | 2307 | Passenger Air Bag ON Indicator Control (ALO) |
| J | - | - | Not Used |
| K | D-GN/WH | 636 | Ambient Air Temperature Sensor Signal (YE9) |
| L | GY/BK | 690 | Courtesy Lamp Supply Voltage |
| GY/BK | 690 | Courtesy Lamp Supply Voltage (Avalanche/Escalade EXT) | |
| M | OG | 1732 | Inadvertent Power Supply Voltage |
Relay Block - I/P - C4
| Connector Part Information |
|
||
|---|---|---|---|
| Pin | Wire Color | Circuit No. | Function |
| A | BN/WH | 230 | Instrument Panel Lamps Dimming Control (YE9) |
| BN/WH | 230 | Instrument Panel Lamps Dimming Control (C36 or C69) | |
| B | PK | 1691 | Automatic Day/Night Mirror Low Reference (DL3) |
| C | GY | 1690 | Automatic Day/Night Mirror Signal (DL3) |
| D | D-GN | 734 | Inside Air Temperature Sensor Signal (CJ2) |
| E | BN | 718 | Low Reference (CJ2) |
| F | WH/BK | 5515 | Inside Air Temperature Sensor Assembly Control (CJ2) |
Relay Block - I/P - C7 (Z82 w/Electric Trailer Brake Jumper Installed)
| Connector Part Information |
|
||
|---|---|---|---|
| Pin | Wire Color | Circuit No. | Function |
| A | BN | 2409 | Interior Park Lamps Supply Voltage |
| B | RD | 242 | Battery Positive Voltage |
| C | D-BU | 47 | Trailer Auxiliary Supply Voltage |
| D | L-BU | 1620 | Trailer CHMSL Supply Voltage |
| E | - | - | Not Used |
| F | BK | 1050 | Ground |
Relay Block - I/P - C8 (VYU)
| Connector Part Information |
|
||
|---|---|---|---|
| Pin | Wire Color | Circuit No. | Function |
| A | OG | 2340 | Battery Positive Voltage |
| B-D | - | - | Not Used |
| E | OG | 4540 | Battery Positive Voltage |
| F | BK | 1050 | Ground |
Relay Block - I/P - C9 (Except Y91)
| Connector Part Information |
|
||
|---|---|---|---|
| Pin | Wire Color | Circuit No. | Function |
| A | - | - | Not Used |
| B | PK | 1045 | Serial Communications Circuit |
| C | - | - | Not Used |
| D | OG | 3740 | Battery Positive Voltage (UQ7) |
| E | OG | 340 | Battery Positive Voltage (UK6) |
| OG | 340 | Battery Positive Voltage (U2K/U2L) | |
| F-G | - | - | Not Used |
| H | OG | 3240 | Battery Positive Voltage (UE1) |
| OG | 3240 | Battery Positive Voltage (UE1) | |
| J | OG | 3240 | Battery Positive Voltage (U42) |
| K | BK/WH | 1851 | Ground (UE1) |
| BK/WH | 1851 | Ground (U42) | |
| L | BK/WH | 1851 | Ground (UE1) |
| M | BK/WH | 1851 | Ground (UQ7) |
| BK/WH | 1851 | Ground (U2K/U2L) | |
Relay Block - I/P - C10
| Connector Part Information |
|
||
|---|---|---|---|
| Pin | Wire Color | Circuit No. | Function |
| A | OG | 4540 | Battery Positive Voltage - LR Heated Seat Module (Y91) |
| OG | 4540 | Battery Positive Voltage - RR Heated Seat Module (Y91) | |
| B | GY/BK | 690 | Courtesy Lamp Supply Voltage (Suburban/Escalade ESV) |
| C | GY/BK | 690 | Courtesy Lamp Supply Voltage - LR Door |
| GY/BK | 690 | Courtesy Lamp Supply Voltage - RR Door | |
| D | D-GN | 2308 | Passenger Air Bag OFF Indicator Control (ALO) |
| E | OG | 1440 | Battery Positive Voltage |
| F | BN/WH | 230 | Instrument Panel Lamps Dimming Control |
| BN/WH | 230 | Instrument Panel Lamps Dimming Control | |
| G | D-BU | 2307 | Passenger Air Bag ON Indicator Control (w/ALO) |
| H | OG | 1440 | Battery Positive Voltage |
| J | D-GN/WH | 817 | Vehicle Speed Signal (Z75) |
| K | OG | 1340 | Battery Positive Voltage |
| L | PU | 293 | Rear Defog Element Supply Voltage |
| M | YE | 1139 | Ignition 1 Voltage |
| YE | 1139 | Ignition 1 Voltage (ALO) | |