LEMON Manuals: Even more car manuals for everyone: 1960-2025
Home >> Cadillac >> 2006 >> Escalade EXT >> Repair and Diagnosis (Single Page) >> Quick Lookups >> Wiring Diagrams >> OEM Connector End Views (5 Of 5) >> SIR Connector End Views >> Inflatable Restraint Passenger Presence System (PPS) Module Connector End View
April 5, 2026: LEMON Manuals is launched! Read the announcement.

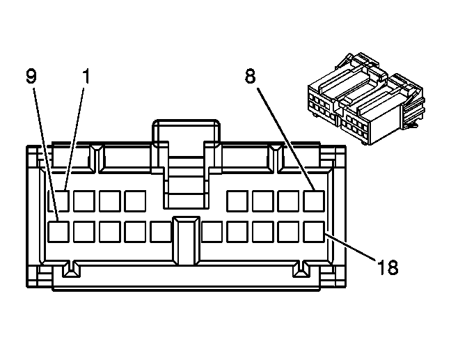
Inflatable Restraint Passenger Presence System (PPS) Module Connector End View

Inflatable Restraint Passenger Presence System (PPS) Module

GM684891Courtesy of GENERAL MOTORS CORP.
Connector Part Information
  • 15324433
  • 18-Way F SOC (BK)
Pin Wire Color Circuit No. Function
1 D-BU 2307 Passenger Air Bag On Indicator Control
2 D-GN 2308 Passenger Air Bag Off Indicator Control
3 - - Not Used
4 YE 904 Passenger Seat Belt Tension Retractor Sensor - Signal
5 BK 2351 Ground
6 WH 901 PPS Sensor Signal
7 WH 902 PPS Sensor - 5-Volt Reference
8 - - Not Used
9 YE 1139 Ignition 1 Voltage
10 PK 353 I/P Module Suppression Indicator Control
11 TN/BK 371 I/P Module Disable Switch - Signal
12-13 - - Not Used
14 TN 905 Passenger Seat Belt Tension Retractor Sensor - Low Reference
15 BN/WH 903 PPS Sensor - Low Reference
16 L-BU 906 Passenger Seat Belt Tension Retractor Sensor - 5-Volt Reference
17 - - Not Used
18 PK 2306 I/P Module Disable Switch - Signal