LEMON Manuals: Even more car manuals for everyone: 1960-2025
Home >> Cadillac >> 2006 >> Escalade EXT >> Repair and Diagnosis >> Accessories & Equipment >> Collision/Avoidance >> Object Detection System >> Repair Instructions >> Rear Object Sensor Replacement >> Installation Procedure
April 5, 2026: LEMON Manuals is launched! Read the announcement.

Installation Procedure

    IMPORTANT: Do not refinish previously painted sensors. Excess paint build up will cause the sensor to be inoperative.
  1. Paint the new rear object sensor. Refer to Basecoat/Clearcoat Paint Systems in Paint/Coatings.
  2. Check to make sure the paint does not exceed 6 mils. Use a paint thickness gauge suitable for non-ferrous metals. Refer to Paint Gages in Paint/Coatings.
  3. Fig 1: Painting Rear Object Sensor Bezel
    GM489066Courtesy of GENERAL MOTORS CORP.
  4. Paint the sensor bezel to match the color of the bumper fascia.
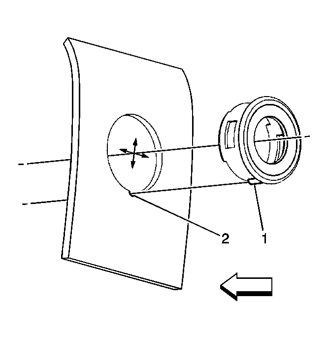
  5. Fig 2: Aligning Keyhole With Key
    GM500505Courtesy of GENERAL MOTORS CORP.
  6. Align the keyhole (2) with the key (1) and press the sensor bezel into the fascia.
  7. Fig 3: View Of Rear Object Sensor Housing
    GM489064Courtesy of GENERAL MOTORS CORP.
  8. Install the housing to the bezel through the back side of the fascia. The housing snaps into the cutouts on the bezel.
  9. IMPORTANT: The spring keys must be on the top and bottom of the housing.
    Fig 4: View Of Spring & Housing
    GM489063Courtesy of GENERAL MOTORS CORP.
  10. Install the spring (1) to the housing (2) until fully seated.

    Ensure the sensor is held to the bumper fascia firmly.

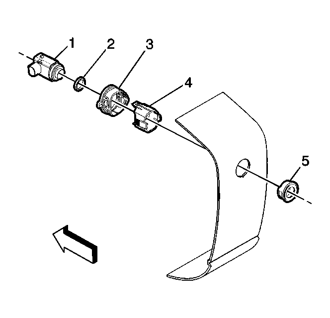
  11. Fig 5: View Of Rear Object Sensor Assembly
    GM500502Courtesy of GENERAL MOTORS CORP.
  12. Install the decoupling ring (2) to the sensor (1).
  13. Insert the sensor into the housing (4) with the connector pointing toward the passenger side of the fascia. The sensor tabs snap into the cutouts on the housing (4).
  14. Fig 6: View Of Rear Object Sensor Electrical Connectors
    GM489061Courtesy of GENERAL MOTORS CORP.
  15. Connect the electrical connectors.