LEMON Manuals: Even more car manuals for everyone: 1960-2025
Home >> Cadillac >> 2006 >> Escalade EXT >> Repair and Diagnosis >> External Pages >> Different car >> Section 1857 (Wiring Systems And Power Management - Component Connector End Views - P-R) >> Component Connector End Views - P Through R >> Rearview Camera (SPO Rearview Camera)
April 5, 2026: LEMON Manuals is launched! Read the announcement.

Rearview Camera (SPO Rearview Camera)

WARNING: This page is about a different car, the 2010 GMC Sierra, 2010 GMC Cab & Chassis Sierra, 2010 Chevrolet Silverado, and 2010 Chevrolet Cab & Chassis Silverado. However, it is still accessible from the selected car via links, so may be relevant.
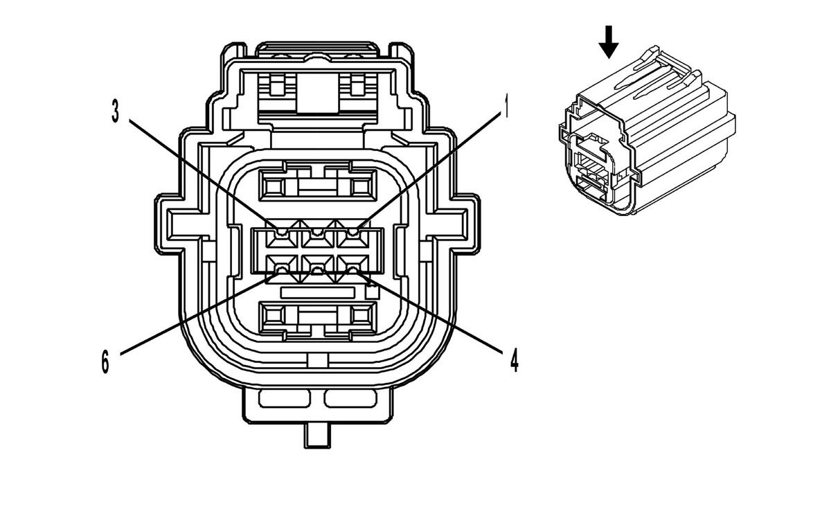
Fig 1: Rearview Camera (SPO Rearview Camera)
GM2133378Courtesy of GENERAL MOTORS CORP.
Rearview Camera (SPO Rearview Camera)

Pin Wire Circuit Function
1 0.35 GY/D-BU 7641 Camera Video Signal (+)
2 0.5 WH 6799 Drain Wire
3 0.5 L-GN 38 Backup Lamp Relay Control
4 0.35 GY/OG 7642 Camera Video Signal (-)
5 0.5 BK 1851 Ground
6 0.5 PK 1639 Ignition Voltage
Connector Part Information 
  • Harness: Rearview Camera Chassis
  • OEM: 1924211-1
  • Service: Service by Harness - See Part Catalog
  • Description: 6-Way F 0.64 Series Sealed (NA)
Terminal Part Information 
  • Terminal/Tray: SAIT-A03T-M064/14
  • Core/Insulation Crimp: P/P
  • Release Tool/Test Probe: J-38125-215A/J-35616-64B (L-BU)