LEMON Manuals: Even more car manuals for everyone: 1960-2025
Home >> Cadillac >> 2006 >> Escalade EXT >> Repair and Diagnosis >> Quick Lookups >> Electrical Component Locations >> Wiring Systems - Component Views >> Electrical Center Identification Views >> Fuse Block - Underhood - Cooling Fan Bottom View (10 Series) >> Notes
April 5, 2026: LEMON Manuals is launched! Read the announcement.

Fuse Block - Underhood - Cooling Fan Bottom View (10 Series): Notes

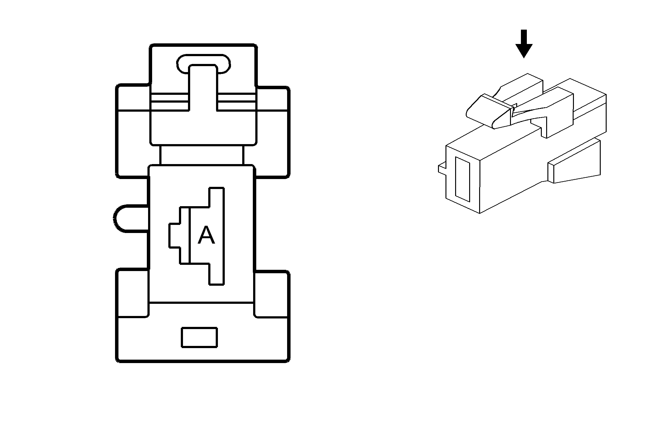
Fig 1: Fuse Block - Underhood - Cooling Fan Bottom View (10 Series)
GM1541703Courtesy of GENERAL MOTORS CORP.
Fuse Block - Underhood - Cooling Fan (10 Series) Wire Entry

Connector Part Information
  • 15490629
  • 29-Way F PA66 GF14 Series (BK)
Pin Wire Color Circuit No. Function
A1 BK 250 Ground
A2 - - Battery Positive Voltage Bus
A3 D-BU 473 High Speed Cooling Fan Control
A4 L-BU 409 Cooling Fan Motor Supply Voltage
A6 - - Cooling Fan Motor Supply Voltage Bus
A8 - - Battery Positive Voltage Bus
B1 - - Not Used
B3 YE 5358 Cooling Fan Motor Control
B6 D-BU 473 High Speed Cooling Fan Control
B8 - - Battery Positive Voltage Bus
C1 - - Not Used
C7 - - Battery Positive Voltage Bus
C8 - - Battery Positive Voltage Bus
D1 - - Battery Positive Voltage Bus
D2 - - Battery Positive Voltage Bus
E1-E2 - - Not Used
E3 GY 532 Cooling Fan Motor Supply Voltage
E5 - - Battery Positive Voltage Bus
F1-F2 - - Not Used
F3 D-GN 335 Low Speed Cooling Fan Control
F5 - - Battery Positive Voltage Bus
G5 - - Battery Positive Voltage Bus
G6 - - Battery Positive Voltage Bus
G7 - - Not Used
G8 - - Battery Positive Voltage Bus
H7-H8 - - Not Used
Fuse Block - Underhood - Cooling Fan (10 Series) Connector

GM365960Courtesy of GENERAL MOTORS CORP.
Connector Part Information
  • 12160893
  • 1-Way F Metri-Pack 800 Series Flxlck Maxi (BK)
Pin Wire Color Circuit No. Function
A RD 1 Battery Positive Voltage