LEMON Manuals: Even more car manuals for everyone: 1960-2025
Home >> Cadillac >> 2006 >> STS Base, 4.6 A, AWD >> Repair and Diagnosis >> Quick Lookups >> Wiring Diagrams >> OEM Connector End Views - Keyless Entry, Automatic Level Control, Power Door Systems, Navigation System, Engine Electrical, Instrument Panel, Gages, And Console, Shift Lock Control, Sir, Automatic Transmission, Stationary Windows >> Automatic Transmission Internal Connector End Views >> 1-2 Shift Solenoid (SS) Valve Connector End View, Wiring Harness Side
April 5, 2026: LEMON Manuals is launched! Read the announcement.

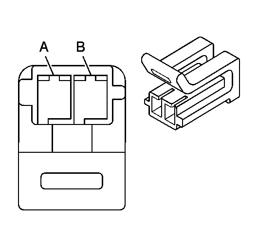
1-2 Shift Solenoid (SS) Valve Connector End View, Wiring Harness Side

Fig 1: 1-2 Shift Solenoid (SS) Valve, Wiring Harness Side Connector
GM799985Courtesy of GENERAL MOTORS CORP.
Automatic Transmission Internal Connector End Views

Connector Part Information 
  • OEM: 12146094
  • Service: See Catalog
  • Description: 2-Way F Metri-Pack 150.2 Series P2S (GY)
1-2 Shift Solenoid (SS) Valve, Wiring Harness Side

Pin Wire Color Circuit No. Function
A BK 1222 1-2 SS Control
B WH 1525 Solenoid Power Supply