LEMON Manuals: Even more car manuals for everyone: 1960-2025
Home >> Cadillac >> 2006 >> STS Base, 4.6 A, AWD >> Repair and Diagnosis >> Quick Lookups >> Wiring Diagrams >> OEM Connector End Views - Keyless Entry, Automatic Level Control, Power Door Systems, Navigation System, Engine Electrical, Instrument Panel, Gages, And Console, Shift Lock Control, Sir, Automatic Transmission, Stationary Windows >> Instrument Panel, Gages, and Console Connector End Views >> Engine Oil Pressure (EOP) Sensor Connector End View (w/LY7)
April 5, 2026: LEMON Manuals is launched! Read the announcement.

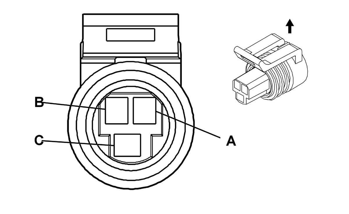
Engine Oil Pressure (EOP) Sensor Connector End View (w/LY7)

Fig 1: Engine Oil Pressure (EOP) Sensor (w/LY7) Connector
GM258299Courtesy of GENERAL MOTORS CORP.
Instrument Panel, Gages, and Console Connector End Views

Connector Part Information 
  • OEM: 12065287
  • Service: 12102748
  • Description: 3-Way F Metri-Pack 150 Series (BK)
Terminal Part Information 
  • Terminal/Tray: See Terminal Repair Kit
  • Core/Insulation Crimp: See Terminal Repair Kit
  • Release Tool/Test Probe: See Terminal Repair Kit
Engine Oil Pressure (EOP) Sensor (w/LY7)

Pin Wire Color Circuit No. Function
A TN 470 Sensor Return
B GY 605 Reference Voltage Feed 5-Volt Reference
C TN/BK 231 Oil Pressure Switch Signal